|
剖视图和断面图(GB/T 17452—1998) |
||||
|
剖视图是假想用剖切面剖开物体,将处在观察者和剖切面之间的部分移去,而将其余部分向投影面投射所得的图形。剖视图可简称为剖视 断面图是假想用剖切面将物体的某处切断,仅画出该剖切面与物体接触部分的图形。断面图可简称为断面 剖面区域是假想用剖切面剖开物体,剖切面与物体的接触部分 |
||||
|
剖 切 面 的 分 类 |
根据物体的结构特点,可选择单一剖切面(平面或柱面)(图1、图2)、几个平行的剖切平面(图3)或几个相交的剖切面(平面或柱面)(图4)
图1 图2 图3 图4 |
|||
|
剖 视 图 的 分 类 |
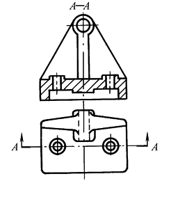
全剖视图 用剖切面完全地剖开物体所得的剖视图(图5)
图5 |
半剖视图 当物体具有对称平面时,向垂直于对称平面的投影面上投射所得的图形,此图形可以对称中心线为界,一半画成剖视图,另一半画成视图(图6)
图6 |
局部剖视图 用剖切面局部地剖开物体所得的剖视图(图7)
图7 |
|
|
断 面 图 的 分 类 |
移出断面图 移出断面图的图形应画在视图之外,轮廓线用粗实线绘制,配置在剖切线的延长线上,或其他适当位置(图8)
图8 |
重合断面图 重合断面图的图形应画在视图之内,断面轮廓线用实线绘出。当视图中轮廓线与重合断面图的图形重叠时,视图中的轮廓仍应连续画出,不可间断(图9)
图9 |
||
|
剖 视 图 和 断 面 图 的 标 注 |
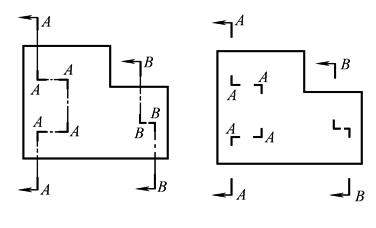
一般应标注剖视图或移出断面图的名称“×—×”(×为大写拉丁字母或阿拉伯数字)。在相应的视图上用剖切符号表示剖切位置和投射方向,并标注相同的字母(图5) 剖切符号、剖切线和字母的组合标注如图10所示。剖切线也可省略不画,如图11所示
图10 图11 |
|||







