|
断面图(GB/T 4458.6—2002) |
||
|
说 明 |
图 例 |
|
|
移出断面的轮廓线用粗实线(No.01.2线型)绘制,通常配置在剖切线(No.04.2线型)的延长线上 |
|
|
|
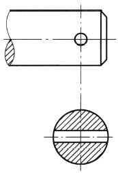
移出断面的图形对称时也可画在视图的中断处 |
|
|
|
必要时可将移出断面配置在其他适当的位置。在不引起误解时,允许将图形旋转,其标注形式见图 |
|
|
|
由两个或多个相交的剖切平面剖切得出的移出断面图,中间一般应断开 |
|
|
|
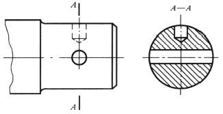
当剖切平面通过回转而形成的孔或凹坑的轴线时,则这些结构按剖视图要求绘制,见图a:A—A、图b~图d |
图a |
图b |
|
图c |
图d |
|
|
当剖切平面通过非圆孔,会导致出现完全分离的剖面区域时,则这些结构应按剖视图要求绘制 |
|
|
|
为便于读图,逐次剖切的多个断面图可按图a~图c的形式配置 |
图a
图b
图c |
|
|
重合断面的轮廓线用细实线绘制(No.01.1线型),断面图形画在视图之内。当视图中的轮廓线与重合断面的图形重叠时,视图中的轮廓线仍应连续画出,不可间断 |
|
|













