|
剖切位置与断面图的标注(GB/T 4458.6—2002) |
||||
|
说 明 |
图 例 |
|||
|
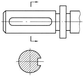
一般应用大写的拉丁字母标注移出断面图的名称“×—×”,在相应的视图上用剖切符号表示剖切位置和投射方向(用箭头表示),并标注相同的字母,图A—A。剖切符号之间的剖切线可省略不画 |
|
|||
|
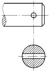
配置在剖切符号延长线上的不对称移出断面不必标注字母,见图a。不配置在剖切符号延长线上的对称移出断面(图b:A—A、图c:C—C和D—D),以及按投影关系配置的移出断面(图d和图e),一般不必标注箭头。配置在剖切线延长线上的对称移出断面,不必标注字母和箭头,见图f及图g右边的两个断面图 |
图a |
图b |
||
|
图c |
||||
|
图d |
图e |
|||
|
图f |
图g |
|||
|
不对称的重合断面可省略标注,见图a。对称的重合断面及配置在视图中断处的对称移出断面不必标注,见图b和图c |
图a |
图b |
||
|
图c |
||||











