|
剖切位置与剖视图的标注(GB/T 4458.6—2002) |
||||
|
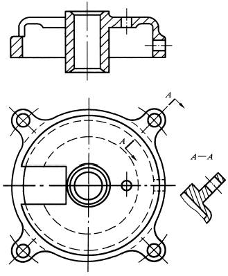
一般应在剖视图的上方用大写的拉丁字母标出剖视图的名称“×—×”。在相应的视图上用剖切符号表示剖切位置和投射方向(用箭头表示),并标注相同的字母,见图a、图b、图c、图d。剖切符号之间的剖切线可省略不画 |
||||
|
图a |
图b |
|||
|
图c
图d |
||||
|
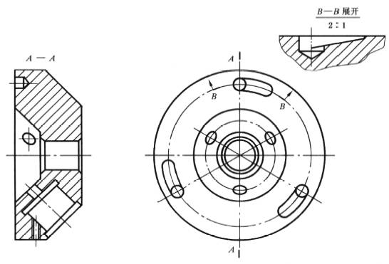
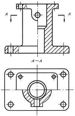
当剖视图按投影关系配置,中间又没有其他图形隔开时,可省略箭头,见图a、图b、图c
图a |
||||
|
图b |
图c |
|||
|
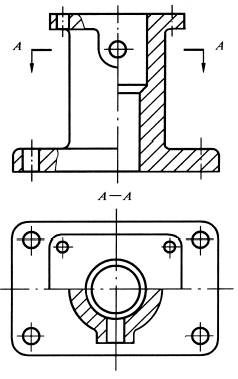
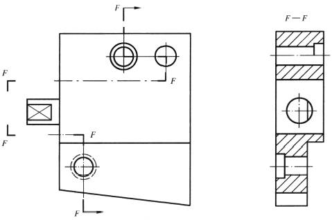
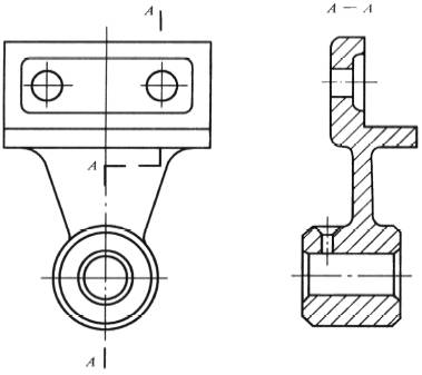
当单一剖切平面通过机件的对称平面或基本对称的平面,且剖视图按投影关系配置,中间又没有其他图形隔开时,不必标注,见图a:主视图、图b:主视图、图c:主视图 |
||||
|
图a |
图b |
|||
|
图c |
||||
|
当单一剖切平面的剖切位置明确时,局部剖视图不必标注,见图a:主视图上的两上小孔、图b:俯视图 |
||||
|
图a |
图b |
|||












