|
剖视图(GB/T 4458.6—2002) |
|||
|
说 明 |
图 例 |
||
|
单 一 剖 切 面 |
用单一剖切平面获得的剖视图 |
图a |
图b |
|
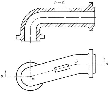
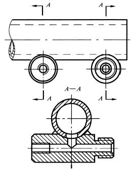
一般用单一剖切平面的剖切机件,也可用单一柱面剖切机件。采用单一柱面剖切机件时,剖视图一般应按展开绘制,图B—B |
|
||
|
几 个 平 行 的 剖 切 平 面 |
采用这种方法画剖视图时,在图形内不应出现不完整的要素 |
|
|
|
仅当两个要素在图形上具有公共对称中心线或轴线时,可以各画一半,此时应以对称中心线或轴线为界 |
|
||
|
几
个
相
交
的
剖
切
平
面 |
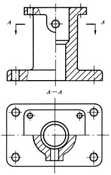
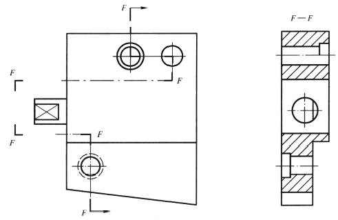
几个相交的剖切平面获得的剖视图应旋转到一个投影平面上 |
图a
图b |
|
|
绘制剖视图时,先假想按剖切位置剖开机件,然后将被剖切平面剖开的结构及有关部分旋转到与选定的投影面平行再进行投射 |
图a
图b
图c |
||
|
采用展开画法,此时应标注“×—×展开” |
|
||
|
在部切平面后的其他结构,一般仍按原来位置投射,见图中油孔 |
|
||
|
当剖切后产生不完整要素时,应将此部分按不剖绘制,如图中的臂 |
|
||
|
机件的形状接近于对称,且不对称部分已另有图形表达清楚时,也可以画成半剖视图 |
图a |
图b |
|
|
局部剖视图用波浪线(No.01.1线型)或双折线(No.01.1线型)分界,波浪线和双折线不应和图样上其他图线重合。当被剖切结构为回转体时,允许将该结构的轴线作为局部剖视与视图的分界线 |
|
||
|
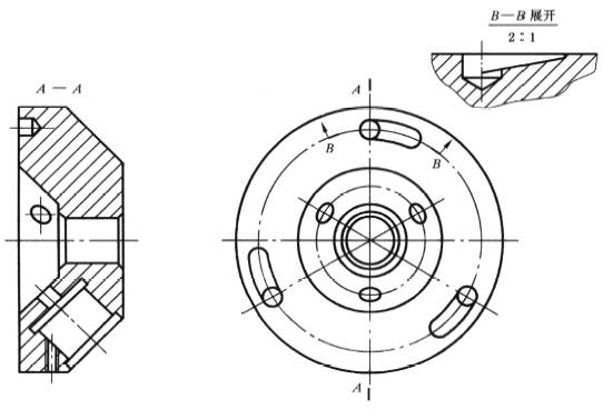
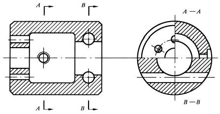
带有规则分布结构要素的回转零件,需要绘制剖视图时,可以将其结构要素旋转到剖切平面上绘制 |
|
||
|
当只需剖切绘制零件的部分结构时,应用细点画线(No.04.1线型)将剖切符号相连,剖切面可位于零件实体之外 |
|
||
|
用几个剖切平面分别剖开机件,得到的剖视图为相同的图形时,可按图的形式标注 |
|
||
|
用一个公共剖切平面剖开机件,按不同方向投射得到的两个剖视图,应按图的形式标注 |
|
||
|
可将投射方向一致的几个对称图形各取一半(或四分之一)合并成一个图形。此时应在剖视图附近标出相应的剖视图名称“×—×” |
|
||





















