|
挖掘机机架 |
|
1) 图1为4m3采矿挖掘机底架的下架图,与履带架组成支持整机的底架 该下架为呈蜂窝状的焊接箱形结构,内部用隔板6、井字板8焊成井字形,对角焊有斜板5。上下盖板留有开孔,便于进行检修、安装工作 箱形结构的下架刚度大,承载能力强,能保证机器原地转弯时有较好的刚性
图1 4m3采矿挖掘机底架的下架 1—轴座;2—螺栓孔;3—钩牙;4—轴孔;5—斜板;6—隔板;7—机座;8—井字板;9—轴孔 2) 图2所示是23m3采矿挖掘机的下架,该下架是焊接的箱形结构,是由上下盖板间许多纵横交错、垂直布置的隔板焊接而成。下架中一些关键性隔板,都是由具有耐低温、高冲击韧性的优质钢材制造。随着抗疲劳设计原理和焊接技术的迅速发展,结构不连续所引起的应力集中已减小到最低限度
图2 23m3挖掘机下架 3) 履带架。履带架是用来承受来自下架的载荷并传递给支重轮的构件,有铸钢件也有焊接件,是一封闭箱形结构,简单可靠 图3所示是4m3采矿挖掘机的履带架,其左端开有装张紧机和导向轮的轴孔1,三个装支重轮的心轴孔2,右端为减速器的机壳4及驱动轮的轴孔3,上面是缓倾斜的斜面并加工有与下架联接用的螺钉孔5,下面有三个同下架相连的钩牙6
图3 履带架 1,3—轴孔;2—心轴孔;4—机壳;5—螺钉孔;6—钩牙 4) 图4所示为卡特皮勒公司235型液压挖掘机的回转平台。它用螺栓固定在回转轴承组件的外侧,并支承行走机构上面的部件。两个箱形截面纵梁构成平台的主梁,它和箱形截面的横梁连接,形成臂杆支承架组件和回转驱动机构的坚固支座。中心箱形结构件的四周焊有槽钢,构成整个机架,并为安装燃油箱、液压油箱、液压控制阀、电池和驾驶室提供坚固的支座
图4 回转平台 5) 斗桥。链斗挖泥船中,斗桥是支承全部斗链进行挖掘工作的大梁,为桁架结构,如图5所示
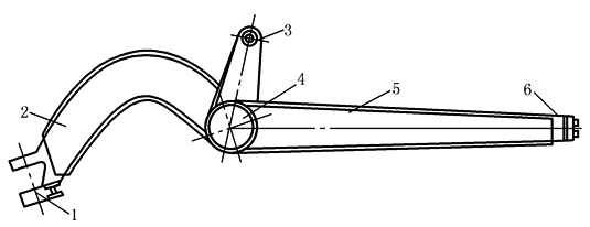
图5 斗桥 1—下导轮;2—导链滚筒;3—斗链;4—上部挡泥板;5—底部挡泥板;6—斗桥 6) 图6为铲运机工作装置的辕架,主要由曲梁(俗称象鼻梁)和Ⅱ形架组成。曲梁2用钢板焊接成箱形断面,其后端焊接在横梁4的中部。臂杆5也为整体箱形断面,按等强度原则作变断面设计,其前部焊接在横梁的两端。因横梁在铲运机作业中主要受扭,故作圆形断面设计。连接座6为球形铰座
图6 CL7型铲运机辕架 1—牵引架;2—曲梁;3—提升油缸支座;4—横梁;5—臂杆;6—铲运斗球销连接座 |






