|
电视机外壳后盖塑料注射成形模具 |
|
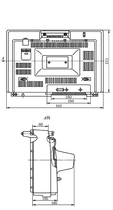
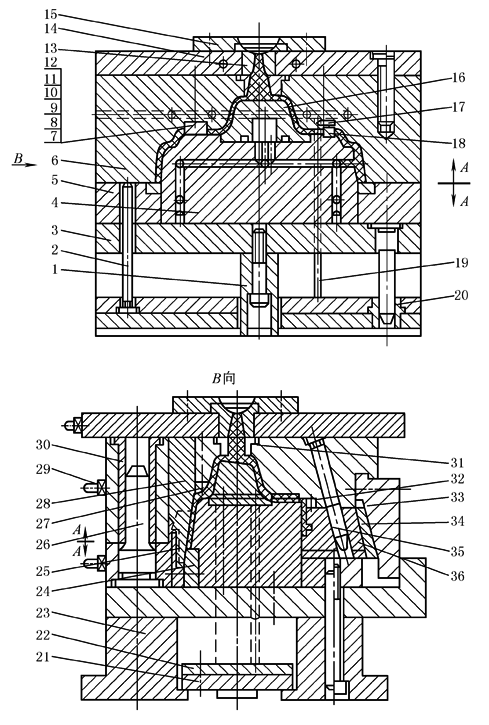
图1所示为电视机外壳后盖塑件示意图,塑件采用材料为ABS。图2所示为电视机外壳后盖塑料注射成型模具。此模具的特点是采用直浇口,为单分型面;斜导柱抽芯设在动模上,避免定模上的二次分型;动模和定模采用镶块拼合形式,以便于加工和更换 塑料注射成型后,动模与定模分离,斜导柱35带动滑块36进行抽芯,然后由推出机构推动推板21,将塑件从镶块16中推出
图1 电视机外壳后盖塑件示意图
图2 电视机外壳后盖塑料注射成型模具 1—顶柱;2—复位杆;3—动模垫板;4—凸模;5—动模板;6—凹模; 7~12,16~18,24,25,27,28,32,34—镶块;13,31—浇口套;14—定模板; 15—定位圈;19—推杆;20—双联导套;21—推板;22—推杆固定板;23—支块; 26—导柱;29—水嘴;30—导套;33—锁紧块;35—斜导柱;36—滑块 |


