|
电视机前罩塑料注射成型模具 |
|
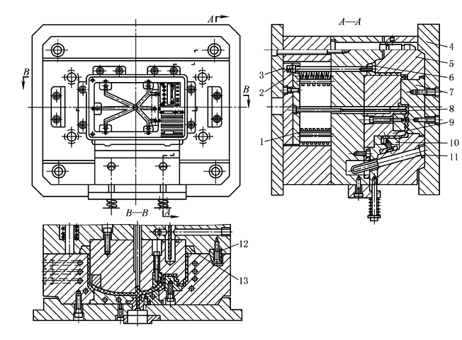
下图所示为电视机前罩塑料注射成型模具。塑件采用材料为ABS。此模具的特点是,模具外表面要求较高,而内表面可以留浇口的痕迹,所以此模具采用多点潜伏浇口注射成型 塑料注射成型后,斜导柱11带动侧滑块10分型与抽芯,塑件及浇口均留在动模一边。推出时,由推杆8、推块6与13同时推动塑件,使塑件脱模。浇口由推杆推出并自动切断。当塑件脱模后,弹簧3继续推动连接推杆2及推块6和13,使塑件自行脱落。弹簧3的另一作用是保证以推块推出为主,以防脱模时塑件产生变形。弹簧1用以保证推出系统预先复位,楔紧块12的作用是加强定模板的强度和刚度
电视机前罩塑料注射成型模具 1,3—弹簧;2—连接推杆;4—定模板座;5—定模型腔板;6,13—推块;7—凹模镶块; 8—推杆;9—型芯;10—侧滑块;11—斜导柱;12—楔紧块 |

