|
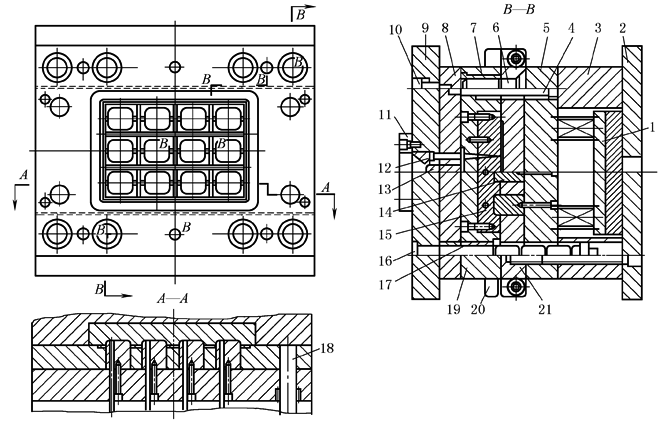
按键注射成型模具 |
|
按键注射成型模具 1—推板组;2—动模安装板;3—支承板;4,16—拉杆;5—动模垫块;6—导柱;7—导套;8—流道脱模板; 9—定模安装板;10—限位钉;11—定位圈;12—流道锁杆;13—浇口套;14—型芯;15—定模镶块; 17—拉杆导套;18—复位杆;19—定模板;20—模具锁紧组件;21—动模板 上图所示为按键注射成型模具。塑件采用材料为ABS。此模具特点在于以针点式浇口将熔融的塑料注射到分流道,然后从棋盘形的分流道注射到各个型腔的浇口,设计成这种浇注系统,有利于实现平衡式浇注。另外,此浇注系统采用了流道脱模板8,可实现自动脱模 |

