|
电话机机身底座注射成型模具 |
|
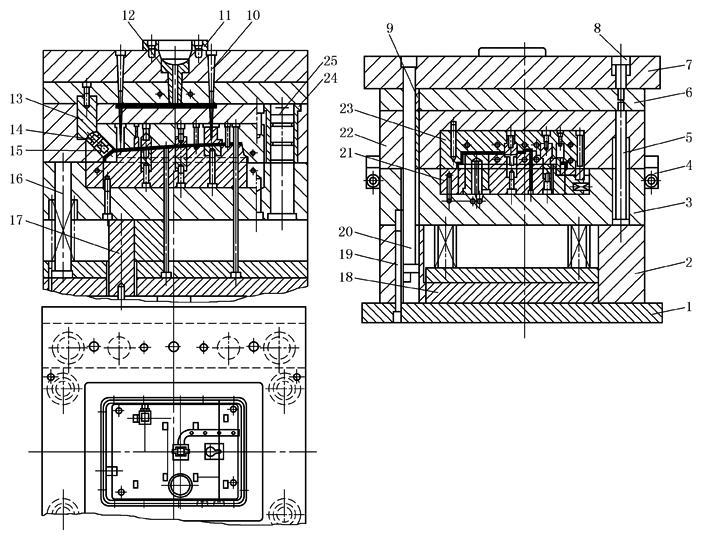
下图所示为电话机机身底座注射成型模具。塑件采用材料为ABS。此模具的特点是:设计了浇注系统凝料自动脱落机构和模具的安全搬运与装卸装置
电话机机身底座注射成型模具 1—动模安装板;2—支承板;3—动模板;4—模具锁紧块;5,8,20—拉杆;6—卸料板; 7—定模安装板;9,24—导套;10—流道锁杆;11—定位圈;12—浇口套;13—锁紧斜楔; 14—滑动型芯;15—弹簧;16—复位杆;17—支柱;18—推板;19—螺钉; 21—动模镶块组;22—定模板;23—定模镶块组;25—导柱 塑料在注射成型后,开模时,流道锁杆10将塑料冷凝料把锁在定模一侧,这时料把在浇口处与塑件分离。继续开模,这时拉杆5与定模板22相遇限位,与此同时卸料板6被拉动,使冷凝料把与流道锁杆10分离,冷凝料把自动脱落 为了搬运与拆卸模具,在模具上设有模具锁紧块4。模具的型芯与型腔都采用了镶块式结构 |

