|
电话机外壳注射成型模具 |
|
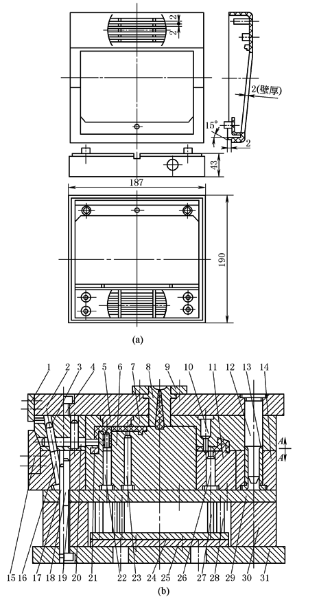
下图所示为电话机外壳注射成型模具。塑件采用材料为ABS。此模具的特点是:采用直接浇口,单分型面。模具的凹模与凸模的大部分由镶件组成,侧抽芯机构由滑块3、斜导柱16及侧抽芯镶件20组成 塑料在注射成型后,开模时,动模离开定模,斜导柱16使滑块3向左移动,侧抽芯镶件20从塑件内抽出,这时注射机推出机构推动推板25,带动推杆将塑件从凹模上顶出
电话机外壳注射成型模具 1—挡块;2—定模板;3—滑块;4—螺钉;5—长方孔镶件;6,11—凸模;7—凹模;8—浇口套; 9—定位圈;10—镶件;12—导柱;13—导套;14—凸模固定板;15—锁紧块;16—斜导柱; 17,19—销钉;18—螺钉;20—侧抽芯镶件;21~23,26—镶件;24—推杆固定板; 25—推板;27—推杆;28—复位杆;29—动模垫板;30—支块;31—动模板 |

