|
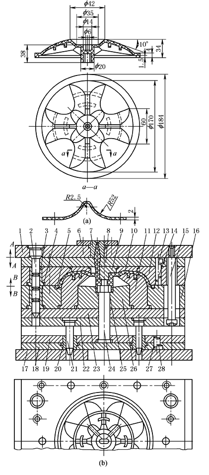
洗衣机搅水轮塑料注射成型模具 |
|
洗衣机搅水轮塑料注射成型模具 1—定模板;2,21—导柱;3,4—导套;5—塑件;6—定位圈;7—浇口套;8—定模板; 9,10—镶件;11—凸模;12—凹模;13,27—销钉;14,28—螺钉;15—卸料螺钉; 16—凸模固定板;17—动模板;18—推板;19—推杆固定板;20—双联导套; 22—导柱固定板;23—动模垫板;24—嵌件;25—中间型芯;26—型芯 上图所示为洗衣机搅水轮塑料注射成型模具。洗衣机搅水轮材料为ABS。此模具采用偏心点浇口,双分型面,在镶件9上设有浇道。为了使浇口料脱落,模具上装有卸料螺钉15 塑料在注射成型后,动模首先沿分型面A与定模板脱开,以卸料螺钉15限位,取出塑件浇口;然后,动模与定模沿分型面B脱开,进行第二次开模,这时注射机的推出机构推动推板18,塑件从凸模11和中间型芯25上退出 |

