|
气动脱模注射成型 |
|
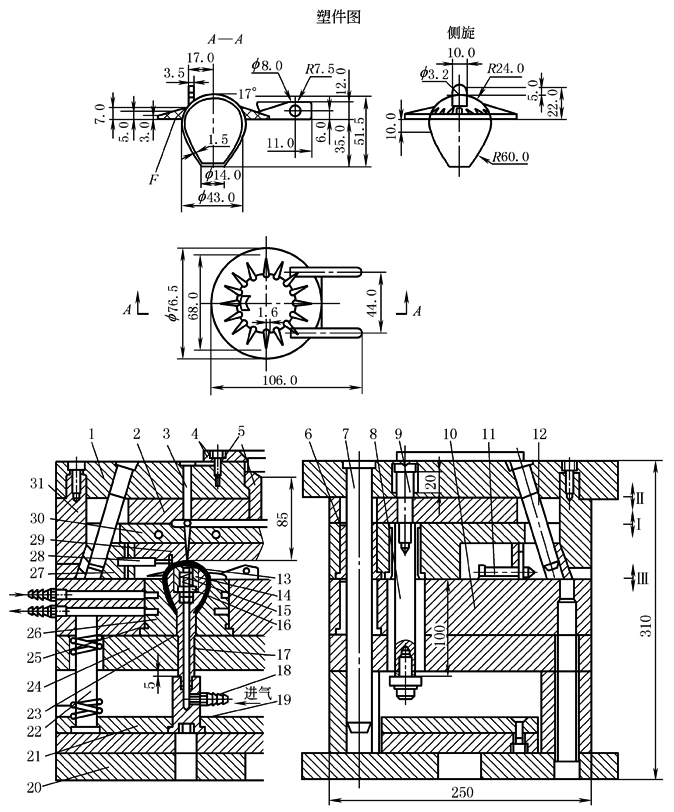
下图所示为气动脱模机构注射成型模具。塑件材料为PVC,内含50%~70%的橡胶,是接枝改性的材料。该材料弹性比较好,通过吹胀使塑件脱出头粗颈细的型芯。开模时,模具Ⅰ、Ⅱ、Ⅲ三个分型面依次打开,打开的距离由限位杆8与阶梯螺钉9限位;分型面打开完成后,模具四周的侧型芯机构已经完成了抽芯,流道凝料也在浇口板2与定模套板30之间自动落下。推出时,由注射机的推出机构推动模具推板21,并带动模芯17一起向前推移5mm,使塑件外型脱离型腔镶块26。此时打开进气开关,压缩空气通过模芯内孔顶动阀杆,弹簧15被压缩,阀杆45°斜面离开阀座,压缩空气进入模芯与塑件内表面之间,由于有密封圈23,压缩空气无法外泄,迫使塑件胀大,继而被吹出模芯,达到脱模的目的。阀杆复位是在关闭压缩空气后经弹簧复位。模具推出机构复位也由弹簧复位,同时模具上也设置了复位杆22
气动脱模机构塑料注射成型模具 1—定模座板;2—浇口板;3—流道拉料板;4—定位圈;5—浇口套;6—导套;7—导杆;8—限位杆; 9—阶梯螺钉;10—动模套板;11,28—侧型芯;12—斜导柱;13—阀杆;14—阀座;15—弹簧; 16—阀杆固定板;17—模芯;18—进气接头;19—通气座;20—动模座板;21—推板;22—复位杆; 23,25—密封圈;24—垫板;26—型腔镶块;27—滑块;29—定模镶板;30—定模套板;31—锁紧块 |

