|
滑块导滑的斜滑块分型与抽芯机构 |
|||
|
斜滑块分型与抽芯机构的结构简单,安全可靠,制造方便,因此在塑料注射成型模具中应用较广。常用于塑件的侧凹槽较浅、所需的抽芯距小但侧凹的成型面积较大的场合。此机构按导滑部分的结构不同可分为斜滑块式、斜导杆式、导板式等 |
|||
|
滑块导滑的斜滑块分型与抽芯机构类型 |
|||
|
序号 |
类型 |
说 明 |
|
|
1 |
斜 滑 块 外 侧 分 型 与 抽 芯 结 构 |
|
|
|
1—限位螺钉;2—斜滑块;3—模套; 4—型芯;5—推杆;6—动模垫板; 7—支块;8—导滑圆销 |
1—型芯;2—斜滑块;3—模套; 4—限位螺钉;5—型芯固定板; 6—推杆;7—导滑圆销 |
||
|
图a所示模具结构是由两块斜滑块拼合而成的。图b所示模具结构是由四块斜板拼合而成的。推出时,在推杆5的作用下,固定在斜滑块外侧的导滑圆销8沿着模套3上的半圆导滑槽向斜上方移动,同时完成侧抽芯和塑件的推出。限位螺钉1的作用是对斜滑块限位,以防止斜滑块脱出模套。导滑圆销与半圆导滑槽的方向应与斜滑块的斜面平行 当塑件侧面的孔或凹槽较浅,所需抽芯距不大,但成型面积较大,需要抽芯力较大时,常采用滑块导滑的分型与抽芯机构。这种机构的特点是,当推杆推动斜滑块时,推出塑件与抽芯(或分型)动作同时进行。另外,因斜滑块的刚性好,能承受较大的抽芯力,所以斜滑块的斜角可比斜导柱的斜角大些,但一般不大于30°。斜滑块的推出长度通常不超过导滑槽长度的2/3,不然斜滑块容易倾斜,影响导滑精度 使用以上抽芯结构时,要防止初始开模时斜滑块被定模带动。为了防止这种现象,可采用图c所示结构。图中止动销2固定在定模板1上,与斜滑块3配合。开模时,因止动销的作用使斜滑块不能斜向移动。在这种情况下,塑件留在动模上而有利于脱模 如图d所示,为保证斜滑块闭模时拼合紧密,不发生溢料,斜滑块底部与模套之间留间隙0.2~0.4mm,同时还要高出模套0.2~0.4mm。这样的配合能保证斜滑块与模套的密合,即使在磨损后仍能保持密合
1—定模板;2—止动销;3—斜滑块 1—模套;2—斜滑块;3—定模板 |
|||
|
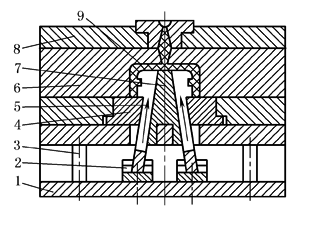
2 |
斜 滑 块 内 侧 分 型 与 抽 芯 结 构 |
1—动模板;2—滑座;3—反推杆;4—镶件;5—斜滑块; 6—凹模;7—型芯;8—定模浇口板;9—塑件 用于成型带有内侧凸形的塑件。在推杆作用下,两侧活动斜滑块以动模板内斜孔导向,在内侧抽芯的同时推出塑件 |
|



