|
斜导柱分型与抽芯机构的结构形式 |
|||
|
序 号 |
结构 形式 |
图 示 |
说 明 |
|
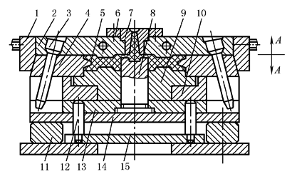
1 |
斜导柱在定模、滑块在动模的结构 |
靠定模上斜导柱操作的哈夫块模具 1—锁紧块;2—定模块;3—斜导柱;4—活动型芯滑块;5—塑件; 6—定位块;7—浇口套;8—型芯;9—顶模;10—堆料板;11—支块; 12—推杆;13—型芯固定板;14—垫板;15—推杆固定板 |
在开模的同时,侧型芯与滑块被斜导柱侧向抽出,在侧型芯完全抽出塑件时,再由推出机构将塑件推出。这种结构应用非常广泛。在设计这种结构时,必须避免在复位时滑块与推杆出现干涉 |
|
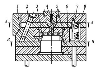
2 |
斜导柱在动模、滑块在定模的结构 |
1—定模座板;2—凹模镶件;3—定模板;4—推板;5—顶销; 6,16—弹簧;7—导柱;8—支承板;9—推杆;10—动模板; 11—楔紧块;12—斜导柱;13—凸模; 14—侧型芯滑块;15—定位顶销 |
凸模13与动模板10有一定距离的相对运动。开模时首先从A面分型,凸模13被塑件包紧不动,动模板10相对型芯移动,塑件仍留在定模型腔内。与此同时,侧型芯滑块14在斜导柱12的作用下从塑件中抽出。继续开模,凸模台肩与动模板相碰,带动塑件从定模型腔中脱出,模具从B面分型。最后由推板4将塑件推出 适用于抽芯力不大,抽芯距小的塑件的成型 |
|
3 |
斜导柱与滑块同在定模的结构 |
弹簧螺钉式定距分型拉紧机构 1—侧型芯滑块;2—斜导柱;3—凸模;4—推杆; 5—推板;6—凹模板;7—定距螺钉;8—弹簧 |
斜导柱与滑块同在定模时,若不使滑块带着侧型芯先从塑件中抽出,待到动模和定模分型时才抽芯,将会损坏塑件的侧孔或凸台,或者使塑件留在定模上,难以取出。因此,在动模型芯带着塑件脱离型腔前,型腔板与定模座板应先脱开(定模部分先分型) 如图所示为弹簧螺钉式定距分型拉紧机构。开模时,凹模板6在弹簧8的作用下,使分型面A先分开。侧型芯滑块1在斜导柱2的带动下开始抽芯。当凹模板6移动到起限位作用的定距螺钉7的台肩时,即停止移动,同时抽芯动作也结束。这时动模继续移动,分型面B分开,塑件脱出定模,留在凸模3上,由推板5推出塑件 这种机构的特点是结构简单,加工方便,适用于抽芯力不大的场合。当然,弹簧也可设置在模具外侧,也可用拉板代替定距螺钉实现定距分型 |
|
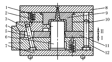
4 |
斜导柱与滑块同在动模的结构 |
导柱式定距分型拉紧结构 1—弹簧;2—定位钉;3—滑块;4—锁紧块;5—斜导柱; 6—凸模;7—支承板;8—定模板;9—凹模; 10—导柱;11—推板;12—导柱固定板 |
这种结构可以通过推出机构或顺序分型机构来实现斜导柱与滑块的相对运动。如图所示,滑块3装在推板11的滑槽内,开模时,装在导柱固定板12上的斜导柱5使滑块3向左移动,抽出型芯,模具沿分型面Ⅰ分开。开模继续进行,导柱固定板12与凸模6的台阶相碰,使凸模6带着塑件脱出凹模9,分开分型面Ⅱ,然后推板11把塑件推出。在开模时,为确保塑件留在凹模上,在推板后面应安装弹簧销 |




