|
斜导柱的设计 |
||||||||||
|
1)斜导柱的形式。常用的斜导柱截面形状有圆形和矩形。圆形截面加工方便,装配容易,应用较广,如图1a所示。在图1b中,为减少斜导柱与滑块斜孔之间的摩擦,在圆导柱上铣去两侧面,铣出的两平面间距约为直径的0.8倍。图1c为在模内抽拔的矩形截面斜导柱;图1d为在模外抽拔的矩形斜导柱;图1e为起延时作用的矩形斜导柱。在相同截面面积条件下,矩形截面具有较大的抗弯截面模量,能承受较大的弯矩,强度、刚度好,但加工与装配较难,适用于抽拔力较大的场合
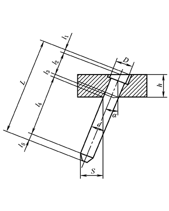
图1 斜导柱形式 2)斜导柱斜角的确定。斜导柱的尺寸参数示于图2。斜导柱斜角α是斜导柱抽芯机构的一个主要参数,它的大小涉及开模力Fk、斜导柱所受的弯曲力Fw、滑块抽芯力Fx以及开模行程的大小,如图3所示。斜导柱尺寸和参数的计算见下表 |
||||||||||
|
图2 斜导柱尺寸参数 |
图3 斜导柱斜角的确定 |
|||||||||
|
斜导柱分型抽芯机构设计计算 |
||||||||||
|
序号 |
计算项目 |
计 算 公 式 |
说 明 |
|||||||
|
1 |
斜导柱的工作长度 |
L4=S/sinα (式1) |
斜导柱所受的变曲力Fw、抽芯力Fx和开模力Fk与斜角α的相互关系,可由图3b求得(不考虑斜导柱与滑块孔间的摩擦力) L4——斜导柱的工作长度,mm; S——抽拔距,mm; α——斜导柱的倾斜角,(°); H4——完成抽芯距S所需的开模行程,mm |
|||||||
|
2 |
完成抽芯距S所需的开模行程 |
H4=S/tanα (式2) α取22°30' 为宜,在生产中斜角α一般为15°~20°,最大不超过25° |
||||||||
|
3 |
斜导柱的截面尺寸的计算 |
对圆形截面:
对矩形截面:
|
Mmax———最大弯矩; Fw———斜导柱所受的弯曲力; [σ]———许用弯曲应力; l'1———弯曲力作用点(B)距斜导柱伸出部分根部(A)的距离(图3) |
|||||||
|
4 |
斜导柱长度计算 |
斜导柱长度根据抽芯距、固定端模板厚度、斜导柱直径以及斜角大小确定,如图2所示
|
l1,l2——斜导柱固定部分长度; l3——斜导柱与斜导柱固定板接触点到斜导柱轴线的垂直距离; l4——斜导柱工作部分长度,mm; l5——斜导柱引导部分长度(5~10mm); L——斜导柱总长,mm; d——斜导柱工作部分的直径,mm; D——斜导柱固定部分台肩直径,mm; h——斜导柱固定板的厚度,mm; α——斜导柱斜角,(°); S——抽芯距,mm |
|||||||
|
5 |
斜导柱孔位置的确定 |
|
斜导柱位置需要确定的尺寸有a、a1、a2,可查下表 滑块分型面上斜导柱孔的位置,除应位于滑块的中心线上外,斜导柱中心线的投影应与滑块抽芯方向平行 加工斜导柱孔时,一般将滑块装入模具的导滑槽内,在定、动模合紧后一起加工 |
|||||||
|
α |
10° |
15° |
18° |
20° |
22° |
25° |
||||
|
a1 |
a+0.176δ |
a+0.268δ |
a+0.329δ |
a+0.364δ |
a+0.404δ |
a+0.466δ |
||||
|
a2 |
a1+0.176δ1 |
a1+0.268δ1 |
a1+0.329δ1 |
a1+0.364δ1 |
a1+0.404δ1 |
a1+0.466δ1 |
||||





