|
推板推出机构 |
||
|
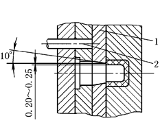
推板推出机构一般用于深腔薄壁的容器、罩子、壳体形,以及透明制品等不允许有推杆推出痕迹的塑件。推板推出机构如图1所示。其中图1a是应用最广泛的形式,推板借助于动、定模的导柱导向;图1b中推件板由定距螺钉拉住,以防脱落
图1 推板推出机构 推板推出机构不设复位机构,在合模过程中,推板依靠合模力的作用而复位。这种机构的特点是,在塑件的整个周边进行推出,因而脱模力大而且均匀,运动平稳,无明显推出痕迹。但在使用过程中要处理好两个关键问题,即推板和型芯之间摩擦与咬合以及推板与型芯间隙中的溢料问题。推板与型芯表面摩擦拉毛之后,既影响塑件的表面粗糙度,又造成塑件脱模困难,所以应根据塑件的形状和尺寸正确设计推板与型芯的配合形式及配合间隙。常用的配合形式如图2所示,配合间隙可适当放大,两者接触面摩擦机会少,加工又方便,适用于塑件高度尺寸小并有一定脱模斜度、塑料流动性较差的场合 推板与型芯接触的部位一般需要有一定的硬度和粗糙度要求,如采用整体淬硬,会因淬火变形而影响孔的位置精度,故常采用局部镶嵌或组合结构。在实际生产中,镶嵌方法应用较为广泛 对于大型深腔的容器,特别是软质塑料成型时,若用推板脱模,应考虑附设引气装置,以防在脱模过程中塑件内腔形成真空,致使脱模困难,甚至使塑件变形损坏。图3为推板推出机构的引气装置 |
||
|
图2 推板与型芯的配合形式 1—推板;2—推杆 |
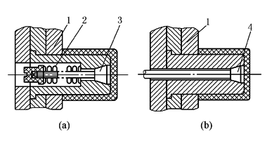
图3 推板推出机构的引气装置 1—推板;2—弹簧;3—引气阀;4—推盘 |
|
|
上述介绍的推出机构都是单一推出元件的推出方式。对于复杂塑件的成型往往需要几种推出元件同时使用。图4所示为推管与推板联合推出机构,图5所示为推杆与推管联合推出机构。推出时,成型推管、推板或推杆同时起作用,这样可避免塑件的变形和损坏。联合推出机构的优点是推出平稳、可靠,推出力大,但结构复杂 |
||
|
图4 推管与推板联合推出机构 |
图5 推杆与推管联合推出机构 |
|





