|
推管推出机构 |
|
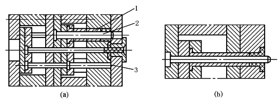
对于中心有孔的薄壁圆筒形塑件或局部是圆筒形的塑件,可用推管推出机构进行脱模,如图1所示,推管推出机构和推杆推出机构的运动方式基本相同,只是推管中间有一个固定型芯。图1a是推管推出机构的典型结构,模具的闭合高度大,多用于推出塑件距离不大的场合;图1b是将较长型芯固定在动模板上,此结构紧凑
图1 推管推出机构实例一 1—推管;2—型芯;3—复位杆 图2是推管推出机构的其他组合形式。图2a是让推管在型腔板内活动,可有效缩短推管的长度和型芯的长度,但凹模板厚度增加。图2b是用销或键固定型芯,推管中部开有销槽,长度应大于推出的距离。这类推管推出机构的特点是型芯较短,模具结构紧凑,但型芯紧固力小,而且要求推管与型芯和凹模板间的配合精度较高(IT7),适用于型芯直径较大的模具
图2 推管推出机构实例二 推管推出机构推出工作均衡、可靠,并且在塑件上不留任何痕迹。但对成型一些软质塑料如软聚氯乙烯、聚乙烯等塑件,不宜采用单一的推管脱模,尤其是对一些薄壁深筒形塑件,要采用联合推出机构才能达到理想效果。联合推出机构是指对同一塑件采用多种不同推出零件一起推出的机构 |


