|
凹模(型腔)的结构设计 |
|||
|
成型零件是指直接用来成型塑件的零件,主要包括凹模(型腔)、凸模、型芯等。成型零件形状复杂、精度高,表面粗糙度低,一般用工具钢制造,需经处理 凹模是成型塑件外形的主要零件。它一般装在定模板上。根据塑件成型的需要和加工与装配的工艺要求,凹模有整体式和组合式两类 (1)整体式凹模 |
|||
|
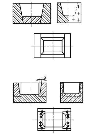
图1 整体式凹模 |
图2 组合式凹模 1—模套;2—镶块;3—底板 |
||
|
图1所示为整体式凹模,结构简单,成型的塑件质量较好。它是由整块钢材直接加工而成的,对于形状复杂的凹模,其机械加工工艺性较差。但随着数控加工技术和电加工技术的发展与应用,采用整体式凹模将会愈来愈多 (2)组合式凹模 图2所示为组合式凹模,这种凹模改善了加工性,节约了模具钢,减少了热处理变形,但有时塑件表面可能存在拼块的拼接线痕迹,装配调整较麻烦。因此,组合式凹模主要用于形状复杂的塑件的成型 组合式凹模的组合方式是多种多样的,常见的组合方式见下表 |
|||
|
常见组合式凹模的组合方式 |
|||
|
组合凹模的 组合方式 |
结 构 |
说 明 |
|
|
整体嵌 入式组 合凹模 |
|
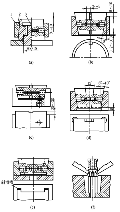
对于小型的塑件采用多型腔塑料模具成型时,各单个凹模通常采用冷挤压、电加工、电铸或超塑性成型等方法制成,然后整体嵌入模板中,如图所示。这种结构的凹模形状、尺寸一致性好,更换方便。凹模的外形通常是圆柱形,与模板的装配及配合见图 |
|
|
局部镶 嵌式组 合凹模 |
|
有些塑件成型用凹模,其某些部位特别容易磨损,或者难以加工,这时常把凹模这些部位制成单独的镶件,然后嵌入模体,如图所示 |
|
|
镶拼组 合式凹模 |
(a)凹模底部镶拼结构
(b)凹模侧壁镶拼结构 |
为便于切削加工、抛光、研磨和热处理,整个凹模型腔可由几个部分镶拼而成。镶拼的方法如下。当凹模型腔底部比较复杂或尺寸较大时,可把凹模制成通孔型的,再镶上底部,如图a所示。对于大型凹模,为便于加工,有利于淬透,减少热处理变形和节省模具钢,凹模侧壁也采用拼块结构,如图b所示。侧壁之间采用扣锁连接以保证装配的准确性,减少塑料挤入接缝。在中小型注塑模中,侧壁拼块之间可直接用螺钉和销钉固定而不用模套紧固 |
|
|
瓣合式 凹模 |
1—导套;2—拼块;3—导销 |
为便于侧壁带凹的塑件脱模,可将凹模制成两瓣或多瓣组合式,成型时瓣合,脱模时瓣开。常见的瓣合式凹模是两瓣组合式,由两瓣对拼镶块、定位导销和模套组成。这种凹模通常称为哈夫(Half)凹模 图a用于移动式压缩模。使用时首先拼块合拢,利用模套与拼块的8°~10°的斜面配合而紧锁拼块,压制成型后松开模套,然后水平分开拼块,取出塑件 图b用于单型腔压制小型塑件以及成型压力不大的场合 对于多型腔的凹模宜用矩形拼块结构,如图c所示 图d和图e为封闭式模套的瓣合模,在推出凹模拼块时,利用如图所示的12°斜面或斜滑槽,使拼块分开,以便取出塑件。这种结构的凹模用于成型尺寸较大的塑件或多型腔成型压力较大的场合 图e和图f为注射模上的瓣合结构,在实际生产中应用效果很好 |
|
|
综合上表所述,组合式凹模的优点是,简化了复杂凹模的加工工艺,减少了热处理变形,有利于排气,便于模具的维修,节约贵重的模具钢。但是,为保证组合式模具型腔精度和装配的牢固性,减少塑件上留下镶拼的痕迹,提高塑件的质量,对于拼块的尺寸、形状和位置公差要求较高,组合结构必须牢靠,分型面位置应有利于防止成型时熔体的挤入,拼块加工工艺性要好,模塑时操作必须方便。可见,要真正发挥组合结构的优越性,对某些方面的要求是比较高的 |
|||







