|
拉料杆 |
||||||||||||||||||||||||||||||||||||||||
|
为了使主流道凝料能顺利地从主流道衬套中脱出,往往使冷料穴兼有开模时将主流道凝料从主流道拉出而附在动模一边的作用,根据拉料的方式不同,常见的冷料穴与拉料杆结构形式见下表 |
||||||||||||||||||||||||||||||||||||||||
|
常见的冷料穴与拉料杆结构形式 |
||||||||||||||||||||||||||||||||||||||||
|
冷料穴 与拉料杆 结构形式 |
结 构 |
说 明 |
||||||||||||||||||||||||||||||||||||||
|
带钩形 拉料杆 的冷料穴 |
1—定模;2—冷料穴;3—动模;4—拉料杆(推杆) |
如图a所示,开模时,由于Z形部分将冷凝料钩住,使主流道冷凝料从主流道衬套中拔出。因拉料杆的另一端固定在推杆固定板上,所以在塑件推出的同时将冷凝料从动模中推出。取出塑件时,用手工朝着Z形的侧向稍加移动,就可将浇注系统和塑件一起取下。这种拉料杆常与推杆、推管等推出机构同时使用。属于同类型的有带推杆的倒锥形冷凝料穴(图b)和圆环槽冷凝料穴(图c),其冷凝料都是由固定在推杆固定板上的推杆推出的,开模时,倒锥和圆环槽起拉料作用。这两种结构在取出主流道冷凝料时无需横向移动,利用推杆强制推出冷凝料,容易实现自动化操作。应该注意倒锥和圆环槽尺寸不宜太大,这两种结构适用于弹性较好的塑料成型 |
||||||||||||||||||||||||||||||||||||||
|
带球头 拉料杆 的冷料穴 |
1—推件板;2—动模板;3—拉料杆;4—金属嵌件; 5—定模板;6—凹模;7—推管 |
熔体进入冷料穴后,紧包在球头上,如左图所示。这种拉料杆用于塑件以推件板推出的模具中,开模时,就可以将主流道冷凝料从主流道衬套中拉出。由于球头拉料杆的另一端固定在动模一边的型芯固定板上,并不随推件板而动,所以在推件板推动制品时就把流道冷凝料从球头上强行脱出,如图a所示。为了减少球头的制造难度,由球头拉料杆演变出了菌形头拉料杆(图b)和锥形头拉料杆(图c)两种形式。锥形头拉料杆无储存冷料作用,它是靠塑料收缩的包紧力而将主流道冷凝料脱出的,所以可靠性较差,但其锥形可起分流作用,常用于单型腔模成型带有中心孔的塑件 |
||||||||||||||||||||||||||||||||||||||
|
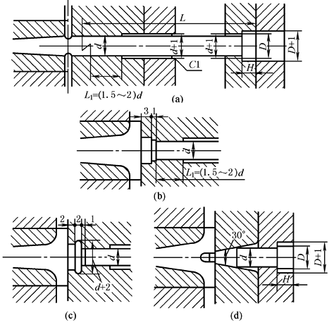
无拉料杆 的冷料穴 |
1—定模;2—冷料穴;3—动模;4—分流道 |
如图a所示,在主流道对面动模板上开一锥形凹坑,为拉出主流道冷凝料,在锥形凹坑的锥壁上平行于另一锥边钻一个深度不大的小孔,开模时就利用小孔对冷凝料的带动作用,将主流道冷凝料从主流道衬套中拉出。推出时推杆顶在塑件或分流道上,使冷凝料推出动模。为了使冷凝料在推出时产生料向移动,分流道必须设计成S形或类似的带有挠性的形状 分流道上的冷料穴通常布置在熔体流动方向的转折处,以便将冷料导入穴中存储,冷料穴长度一般为分流道直径d的1.5~2倍。若太短,则部分冷料将流入型腔,使塑件产生缺陷 |
||||||||||||||||||||||||||||||||||||||
|
拉料杆 的组合 形式 |
|
主流道拉料杆组合形式,同时还具有脱除主流道冷凝料的作用。一般拉料杆安装在主流道对面,开模时,拉料杆将主流道冷凝料拉出,主流道拉料杆的尺寸见表 |
||||||||||||||||||||||||||||||||||||||




