|
冷料穴 |
|
|
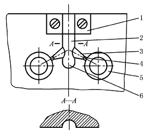
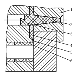
注射机刚开始注射塑料时,喷嘴最前端的熔融塑料首先接触低温模具,温度降低而形成冷凝料(简称冷料),为了防止这些冷料进入型腔而影响塑件质量,一般在进料口末端的动模板上开设一洞穴或者在流道的末端开设洞穴,这个洞穴就是冷料穴 直角式注射机用注射模的冷料穴,通常为主流道的延长部分,如图1所示。卧式或立式注射机注射模的冷料穴,一般都设在主流道正面的动模板上,如图2所示,其直径稍大于主流道的大端直径。当分流道较长时,可在料流方向的末端延长一小段作为冷料穴 |
|
|
图1 直角式注射机用注射模的冷料穴 1—镶块;2—主流道;3—分流道; 4—浇口;5—型腔;6—冷料穴 |
图2 卧式注射机用注射模的冷料穴 1—主流道衬套;2—主流道;3—冷料穴; 4—分流道;5—浇口;6—冷料穴 |


