|
塑料注射成型模具的分类和结构 |
||
|
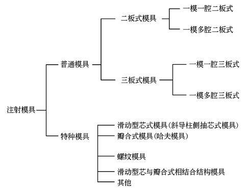
注射成型是颗粒状或粉状熟料经注射成型机的料斗加到加热的料筒内,塑料受热熔融,在注射机的螺杆或活塞的压力推动下,经喷嘴进入模具型腔,在模具内硬化定型,脱模后得到具有一定形状的塑件。注射成型所用的模具称为注射成型模具。注射成型是用于热塑性塑料成型的一种重要方法,近年来也成功用于某些热固性塑料的成型。 塑料注射成型模具的分类方法较多,按塑件所用的材料不同可分为热塑性塑料注射成型模具和热固性塑料注射成型模具;按塑料注射机的类型不同可分为卧式、立式和直角式注射模具;按其塑料注射机上的安装方式不同可分为移动式注射模具(主要在立式注射机)和固定式注射模具;按模具的型腔数量不同可分为单型腔塑料注射模和多型腔注射模。 通常,按塑料注射成型模具总体结构上的某些特征分类如下。
塑料注射模具典型结构见下表。 塑料注射成型模具典型结构 |
||
|
名 称 |
结 构 |
说 明 |
|
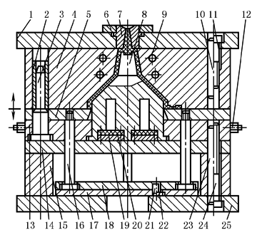
单分型面塑 料注射模 |
1—定模板;2—导套;3—导柱;4—型腔;5,17—推板;6—定位圈;7—浇口套;8—凸模;9—水道;10,21,23—销钉;11,22,24—螺钉;12—水嘴;13—凸模固定板;14—垫板;15—支块;16—推杆;18—推杆固定板;19—盖板;20—密封垫;25—动模板 |
单分型面塑料注射成型模也称为二板式塑料注射成型模,如图所示。 单分型面塑料注射模是塑料注射模具中最简单的一种,由动模和定模组成。其型腔一部分设在动模上,一部分设在定模上,主流道设在定模上,分流道和浇口设在分型面上,开模后塑件连同流道凝料一起留在动模一侧。动模一侧设有推出机构,用以推出塑件及流道凝料(又称脱模)。这类模具的特点是结构简单,对塑件成型的适应性很强,应用十分广泛 |
|
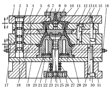
多分型面 注射模 |
1—定模板;2—导柱;3,5—双联导套;4—活动模板;6—镶件;7—定位圈;8—浇口套;9—点浇口废料;10—分流锥;11—分浇口套;12—镶件固定板;13,23,29—销钉;14,30—螺钉;15—拉板螺钉;16—水嘴;17—大型腔;18—型芯固定板;19—动模垫板;20—橡胶密封圈;21—压板;22—推板;24—推杆;25—螺母;26—托簧板;27—弹簧;28—塑料制品;31—支块 |
多分型面注射模是指有2个以上分型面的注射模具。这类模具又可分为双分型面和三分型面(包括垂直分型面和水平分型面),以双分型面注射模最为常见。双分型面塑料注射成型模又称为三板式塑料注射成型模,如图所示。双分型面塑料注射成型模用途广泛,主要用于:设点浇口的单型腔或多型腔注射模,侧向分型抽芯机构设在定模一侧的注射模,及因塑件结构特殊需要顺序分型的注射模 多分型面注射模与单分型面注射模相比,在动模和定模之间增加了一个可移动的活动模板4(又称浇注板),其浇注系统凝料和制品一般是由不同分型面上取出。开模时,活动模板4与定模板1首先沿A—A分型面定距分型,其分型距离由定距拉板螺钉15控制,以便取出这两块板之间的浇注系统凝料。随着开模的继续,沿B—B面分型,然后在注射机推出机构作用下,连接推杆24推动塑件从型芯上脱出。闭模时,A—A和B—B分型面自动闭合,推板22在弹簧27的作用下复位,完成一次注射过程 |
|
带有活动镶 块的注射模 |
1—推板;2—推杆固定板;3—推杆;4—弹簧;5—支架;6—支架板;7—动模板;8—型芯座;9—活动镶块;10—导柱;11—定模座板(型腔) |
当塑件带有内侧凸、凹槽或螺纹时,在模具上需要设置活动型芯、螺纹型芯、型环或哈夫块等。如图所示,塑件内壁带有凸台,模具采用活动镶块9成型。开模时,塑件与流道凝料同时留在活动镶块9上,随同动模一起运动,当模具的动模与定模打开一定距离后,注射机上的顶出机构推动推板1,从而推动推杆3,使活动镶块9随同塑件一起推出模外,然后用手工或其他装置使塑件与活动镶块分离。再将活动镶块重新装入动模,在活动镶块装入动模前推杆3由于弹簧4的作用已经复位。型芯座8上的锥孔(面)保证镶块定位准确可靠 |
|
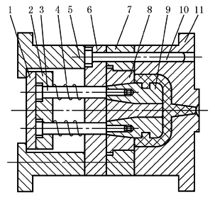
自动卸螺纹的 注射模 |
1—定模座板;2—衬套;3—动模板;4—定距螺钉;5—支承板;6—支架;7—螺纹型芯;8—注射机合模螺杆 |
当成型带有内、外螺纹的塑件时,模具可采用自动卸螺纹装置。在模具结构设计中,设置可转动的螺纹型芯和螺纹型环,利用注射机的往复运动或旋转运动,或设置专门的驱动装置(如电动机、液压马达及传动装置)与模具连接,开模后带动螺纹型芯或型环转动,使塑件脱出。图示是直角式注射机上用的自动卸螺纹注射模。螺纹型芯的旋转由注射机开合模的丝杠带动,使其与塑件分离。为防止制品与螺纹型芯一起旋转,一般要求塑件外形具有防转结构,图示是利用塑件顶面的凸出图案来防止塑件随着螺纹型芯转动而转动。开模时,在A—A分型面处先分开,与此同时,螺纹型芯7由注射机的开合螺杆带动而旋转,从而开始脱出塑件(设计塑件时,开合螺杆的螺距数大于制品螺纹的螺距数),此时B—B分型面也随螺纹型芯的拧出而分型,塑件暂时还留在型腔内不动。当螺纹型芯在制品内尚有一个螺距时,定距螺钉4拉着支承板5使B—B分型面加速打开,塑件即被带出凹模。继续开模,塑件全部脱离型芯和凹模 |
|
侧向分型抽 芯的注射模 |
1—楔紧块;2—定模板;3—斜导柱;4—哈夫块;5—塑料制品;6—定位圈;7—浇口套;8—型芯;9—型腔镶块;10—型腔镶件固定板;11—水嘴;12—动模固定板;13—支块;14—推杆;15—型芯固定板;16—动模垫板;17—推板 |
当塑件带有侧孔或侧凹时,在机动抽芯分型的模具里设有斜导柱、斜滑块或哈夫块等侧向分型抽芯机构。图示模具主要用于成型有侧孔或内凹的塑件,哈夫块的运动方向与模具开模方向垂直开模时,固定在定模板2上的斜导柱3作用于哈夫块4,使哈夫块4外移,并脱离塑料制品5的环形槽。与此同时注射机的顶出系统顶动推板17,推板17推动推杆14,将型腔镶件固定板10顶起,使塑料制品5脱离型芯8 |
|
定模设置推出 机构的注射模 |
1—支架;2—支承板;3—成型镶件;4,6—螺钉;5—动模板;7—推件板;8—拉板;9—定模板;10—定模座板;11—型芯;12—导柱 |
有时因塑件的特殊要求或受塑件的限制,开模后塑件将留在定模上。但是由于注射机的顶出机构位于模具的动模一边,所以注射模的推出机构宜设在动模一侧,开模后让塑件留在动模,以便脱出塑件。这种情况下,如果塑件留在定模上,则应在定模一侧设置推出机构。图示塑料衣刷注射模,由于塑件形状特殊,开模后塑件留在定模上。在定模一侧设置推件板7,开模时由设在动模一侧的拉板8带动,使塑件从型芯11上拉脱下来 |
|
无流道注射模 |
1—动模座板;2—垫块;3—推板;4—推杆固定板;5—推杆;6—支承板;7—导套;8—动模板;9—型芯;10—导柱;11—定模板;12—凹模;13—垫块;14—二级喷嘴;15—热流道板;16—加热器孔;17—定模座板;18—绝热层;19—主流道衬套;20—定位圈;21—喷嘴 |
在成型过程中,使用无流道注射模(又称无流道凝料注射模),可使模具浇注系统中的塑料始终保持熔融状态,这是一种成型后只需取出塑件而无流道凝料的注射模。图示塑料从喷嘴21进入模具后,在流道中加热保温(使其仍保持熔融状态),每一次注射完毕,只有型腔内的塑料冷凝成型,没有流道的冷凝料,取出塑件后又可继续注射,大大节省了塑料用量,提高了生产效率,有利于实现自动化生产,并保证塑件质量。但热流道注射模结构复杂,造价高,模温控制要求严格,因此仅适用于大批量生产 |








