|
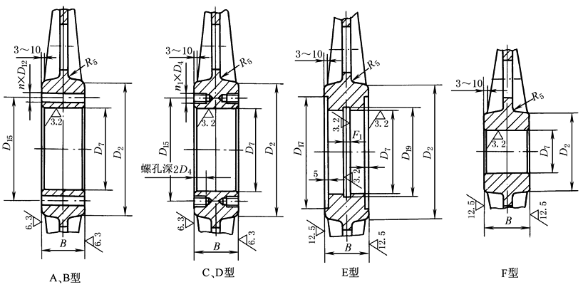
轮毂尺寸(JB/T 9005.3—1999) |
|||||||||||||||||||||
|
|
|||||||||||||||||||||
|
mm |
|||||||||||||||||||||
|
A 型 至 E 型 |
|||||||||||||||||||||
|
基 本 尺 寸 |
参 考 尺 寸 |
螺栓 孔数 n |
螺钉 孔数 n1 |
||||||||||||||||||
|
D7 (K7) |
D4 |
D12 |
D15 |
D17 |
D19 (H12) |
|
|
D2 |
R5 |
||||||||||||
|
铸 钢 |
铸 铁 |
||||||||||||||||||||
|
85 |
M8 |
9 |
100 |
110 |
90 |
55 |
6.5 |
120 |
130 |
8 |
4 |
8 |
|||||||||
|
90 |
M8 |
9 |
105 |
115 |
95 |
60 |
9.5 |
130 |
140 |
8 |
4 |
8 |
|||||||||
|
100 |
M8 |
9 |
115 |
125 |
105 |
60 |
7.5 |
140 |
150 |
8 |
4 |
8 |
|||||||||
|
110 |
M8 |
9 |
125 |
135 |
115 |
60 |
5.5 |
150 |
160 |
10 |
4 |
8 |
|||||||||
|
120 |
M8 |
11 |
140 |
150 |
125 |
65 |
8.5 |
160 |
170 |
10 |
4 |
8 |
|||||||||
|
125 |
M8 |
11 |
145 |
155 |
130 |
65 |
6.5 |
170 |
180 |
10 |
4 |
8 |
|||||||||
|
130 |
M8 |
11 |
150 |
160 |
135 |
70 |
9.5 |
180 |
190 |
10 |
4 |
8 |
|||||||||
|
140 |
M8 |
11 |
160 |
170 |
145 |
70 |
7.5 |
190 |
200 |
10 |
4 |
8 |
|||||||||
|
160 |
M10 |
11 |
185 |
190 |
165 |
80 |
9.5 |
215 |
230 |
10 |
4 |
8 |
|||||||||
|
180 |
M10 |
11 |
205 |
210 |
185 |
85 |
6.5 |
240 |
260 |
12 |
4 |
8 |
|||||||||
|
200 |
M10 |
11 |
225 |
230 |
205 |
95 |
8.5 |
265 |
280 |
12 |
6 |
12 |
|||||||||
|
215 |
M10 |
11 |
240 |
245 |
220 |
100 |
9.5 |
280 |
300 |
12 |
6 |
12 |
|||||||||
|
230 |
M12 |
14 |
260 |
265 |
235 |
100 |
9.5 |
305 |
330 |
12 |
6 |
12 |
|||||||||
|
250 |
M12 |
14 |
280 |
285 |
255 |
105 |
5.5 |
330 |
350 |
16 |
6 |
12 |
|||||||||
|
270 |
M12 |
14 |
300 |
305 |
275 |
110 |
9.5 |
360 |
380 |
16 |
6 |
12 |
|||||||||
|
290 |
M12 |
14 |
320 |
325 |
295 |
115 |
8.5 |
380 |
400 |
16 |
6 |
12 |
|||||||||
|
310 |
M12 |
14 |
340 |
345 |
315 |
125 |
10.5 |
410 |
430 |
20 |
8 |
16 |
|||||||||
|
320 |
M12 |
14 |
350 |
355 |
325 |
125 |
10.5 |
430 |
450 |
20 |
8 |
16 |
|||||||||
|
340 |
M12 |
14 |
370 |
375 |
345 |
130 |
9.5 |
450 |
470 |
20 |
8 |
16 |
|||||||||
|
360 |
M12 |
14 |
390 |
395 |
365 |
135 |
8.5 |
470 |
500 |
20 |
8 |
16 |
|||||||||
|
400 |
M16 |
18 |
440 |
445 |
405 |
150 |
9.5 |
530 |
560 |
25 |
8 |
16 |
|||||||||
|
F 型 |
|||||||||||||||||||||
|
基 本 尺 寸 |
参 考 尺 寸 |
基 本 尺 寸 |
参 考 尺 寸 |
||||||||||||||||||
|
D7 (H7) |
|
D2 |
R5 |
D7 (H7) |
|
D2 |
R5 |
||||||||||||||
|
铸 钢 |
铸 铁 |
铸 钢 |
铸 铁 |
||||||||||||||||||
|
55 |
80 |
90 |
90 |
8 |
140 |
140 |
220 |
230 |
10 |
||||||||||||
|
60 |
80 |
100 |
100 |
8 |
150 |
140 |
230 |
240 |
10 |
||||||||||||
|
65 |
90 |
105 |
105 |
8 |
160 |
140 |
240 |
260 |
12 |
||||||||||||
|
75 |
90 |
120 |
120 |
8 |
170 |
140 |
260 |
280 |
12 |
||||||||||||
|
80 |
90 |
125 |
130 |
8 |
180 |
140 |
270 |
290 |
12 |
||||||||||||
|
85 |
90 |
130 |
140 |
8 |
190 |
140 |
290 |
310 |
12 |
||||||||||||
|
90 |
110 |
140 |
150 |
8 |
200 |
150 |
300 |
320 |
12 |
||||||||||||
|
95 |
110 |
150 |
160 |
10 |
210 |
150 |
320 |
340 |
16 |
||||||||||||
|
105 |
120 |
165 |
175 |
10 |
220 |
160 |
330 |
350 |
16 |
||||||||||||
|
120 |
130 |
185 |
195 |
10 |
250 |
160 |
370 |
390 |
20 |
||||||||||||
|
130 |
140 |
200 |
210 |
10 |
|
|
|
|
|
||||||||||||

