|
滑轮技术要求(JB/T 9005.10—1999) |
|||||
|
1)材料:滑轮的有关零件用材料应符合下表1的规定 表1 |
|||||
|
零件名称 |
材料 |
||||
|
滑轮 |
铸钢应不低于GB/T 11352中的ZG270-500铸钢 |
||||
|
铸铁应不低于GB/T 9439中的HT200灰铸铁 |
|||||
|
球墨铸铁应不低于GB/T 1348中的QT400-18球铁 |
|||||
|
内轴套 |
结构钢应不低于GB/T 699中的45钢 |
||||
|
隔环 |
结构钢应不低于GB/T 700中的Q235A钢 |
||||
|
铸铁应不低于GB/T 9439中的HT250灰铸铁 |
|||||
|
挡盖 |
铸铁应不低于GB/T 9439中的HT150灰铸铁 |
||||
|
结构钢应不低于GB/T 700中的Q215A钢 |
|||||
|
隔套 |
结构钢应不低于GB/T 700中的Q235B钢;铸铁应不低于GB/T 9439中的HT150灰铸铁 |
||||
|
涨圈 |
结构钢应不低于GB/T 699中的45钢 |
||||
|
衬套 |
铜合金应不低于GB/T 1176中的ZCuAl10Fe3铝青铜 |
||||
|
注:对于工作级别较高的起重机(如冶金起重机)不许用铸铁滑轮。 |
|||||
|
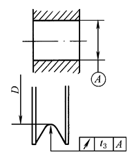
2)外观:滑轮表面应光滑平整,应去除尖棱和冒口,滑轮不得有影响使用性能和有损外观的缺陷,如气孔、裂纹、疏松、夹碴、铸疤等 3)热处理:滑轮应进行退火处理,以消除铸造或焊接应力 4)尺寸公差和表面粗糙度:加工表面未注公差尺寸的公差等级按GB/T 1804中的m级(中等级);未注加工表面粗糙度Ra值按GB/T 1031中的25μm 5)形位公差:滑轮的形状和位置公差应符合表2的规定 6)装配:装配好的滑轮应能灵活地旋转 7)滑轮的加工部位(内孔、绳槽表面等)和隔环的外露部位应涂抗腐蚀的防锈油;不加工部位应涂防锈漆 表2 |
|||||
|
种类 |
符号 |
项目 |
符号说明 |
允许的形位公差 |
|
|
形状 |
|
圆柱度 |
|
圆柱度公差t1:
|
|
|
|
线轮廓度 |
|
绳槽半径公差带内的线轮廓度公差t2: t2≤绳槽半径极限偏差 |
||
|
位置 |
|
圆跳动 |
|
绳槽底圆跳动公差t3:
|
|



