|
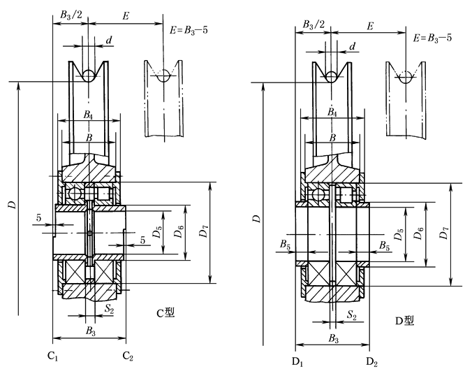
轴承尺寸(C型、D型)(JB/T 9005.3—1999) |
|||||||||||||||||
|
C 型——带滚动轴承(较严密封),有内轴套 D 型——带滚动轴承(较严密封),无内轴套 C1、D1为深沟球轴承;C2、D2为圆柱滚子轴承 注:A 至 D 型及 F 型滑轮的 B3 尺寸不给间隙,但为了安装,在连接结构中每侧的轴向间隙至少留1mm 标记示例: 钢丝绳直径 d=25mm,滑轮直径 D=630mm 和滑轮轴的直径 D5=90mm 的 A 型滑轮,标记为: 滑轮 A25×630-90 JB/T 9005.3—1999 型号意义:
mm |
|||||||||||||||||
|
B3 ( |
D5 |
D6 |
C 型 |
D 型 |
|||||||||||||
|
滚动轴承代号 |
B ( |
B4 |
D7 (k7) |
S2 |
滚动轴承代号 |
B ( |
B4 |
B5 |
D7 (k7) |
S2 |
|||||||
|
C1型 |
C2型 |
宽度 |
D1型 |
D2型 |
宽度 |
||||||||||||
|
90 |
45 |
60 |
6212 |
NF212 |
22 |
60 |
76 |
110 |
6 |
6209 |
NF209 |
19 |
55 |
71 |
22.5 |
85 |
7 |
|
90 |
50 |
60 |
6212 |
NF212 |
22 |
60 |
76 |
110 |
6 |
6210 |
NF210 |
20 |
60 |
76 |
20.0 |
90 |
10 |
|
95 |
55 |
70 |
6214 |
NF214 |
24 |
65 |
81 |
125 |
7 |
6211 |
NF211 |
21 |
60 |
76 |
22.5 |
100 |
8 |
|
95 |
60 |
70 |
6214 |
NF214 |
24 |
65 |
81 |
125 |
7 |
6212 |
NF212 |
22 |
60 |
76 |
22.5 |
110 |
6 |
|
100 |
65 |
80 |
6216 |
NF216 |
26 |
70 |
86 |
140 |
8 |
6213 |
NF213 |
23 |
65 |
81 |
22.5 |
120 |
9 |
|
100 |
70 |
80 |
6216 |
NF216 |
26 |
70 |
86 |
140 |
8 |
6214 |
NF214 |
24 |
65 |
81 |
22.5 |
125 |
7 |
|
110 |
75 |
90 |
6218 |
NF218 |
30 |
80 |
96 |
160 |
10 |
6215 |
NF215 |
25 |
70 |
86 |
25.0 |
130 |
10 |
|
115 |
80 |
100 |
6220 |
NF220 |
34 |
85 |
101 |
180 |
7 |
6216 |
NF216 |
26 |
70 |
86 |
27.5 |
140 |
8 |
|
125 |
90 |
110 |
6222 |
NF222 |
38 |
95 |
111 |
200 |
9 |
6218 |
NF218 |
30 |
80 |
96 |
27.5 |
160 |
10 |
|
130 |
100 |
120 |
6224 |
NF224 |
40 |
100 |
116 |
215 |
10 |
6220 |
NF220 |
34 |
85 |
101 |
27.5 |
180 |
7 |
|
130 |
110 |
130 |
6226 |
NF226 |
40 |
100 |
118 |
230 |
10 |
6222 |
NF222 |
38 |
95 |
111 |
22.5 |
200 |
9 |
|
130 |
120 |
140 |
6228 |
NF228 |
42 |
100 |
118 |
250 |
6 |
6224 |
NF224 |
40 |
100 |
116 |
20.0 |
215 |
10 |
|
140 |
130 |
150 |
6230 |
NF230 |
45 |
110 |
128 |
270 |
10 |
6226 |
NF226 |
40 |
100 |
118 |
25.0 |
230 |
10 |
|
145 |
140 |
160 |
6232 |
NF232 |
48 |
115 |
133 |
290 |
9 |
6228 |
NF228 |
42 |
100 |
118 |
27.5 |
250 |
6 |
|
155 |
150 |
170 |
6234 |
NF234 |
52 |
125 |
143 |
310 |
11 |
6230 |
NF230 |
45 |
110 |
128 |
27.5 |
270 |
10 |
|
155 |
160 |
180 |
6236 |
NF236 |
52 |
125 |
143 |
320 |
11 |
6232 |
NF232 |
48 |
115 |
133 |
25.0 |
290 |
9 |
|
160 |
170 |
190 |
6238 |
NF238 |
55 |
130 |
148 |
340 |
10 |
6234 |
NF234 |
52 |
125 |
143 |
22.5 |
310 |
11 |
|
165 |
180 |
200 |
6240 |
NF240 |
58 |
135 |
153 |
360 |
9 |
6236 |
NF236 |
52 |
125 |
143 |
25.0 |
320 |
11 |
|
190 |
190 |
220 |
6244 |
NF244 |
65 |
150 |
174 |
400 |
10 |
6238 |
NF238 |
55 |
130 |
148 |
35.0 |
340 |
10 |
|
190 |
200 |
220 |
6244 |
NF244 |
65 |
150 |
174 |
400 |
10 |
6240 |
NF240 |
58 |
135 |
153 |
32.5 |
360 |
9 |
|
190 |
220 |
240 |
— |
— |
— |
— |
— |
— |
— |
6244 |
NF244 |
65 |
150 |
174 |
25.0 |
400 |
10 |


