|
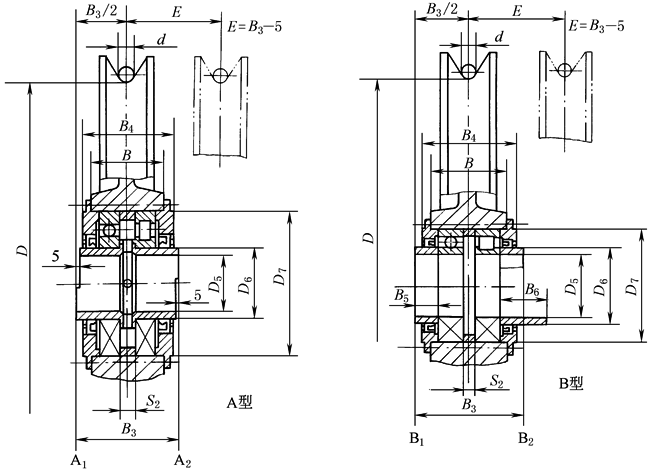
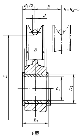
轴承尺寸(A型、B型、F型)(JB/T 9005.3—1999) |
||||||||||||||||||||
|
A 型——带滚动轴承(严密密封),有内轴套 B 型——带滚动轴承(严密密封),无内轴套 F 型——带滑动轴承 A1、B1为深沟球轴承;A2、B2为圆柱滚子轴承 注:A 至 D 型及 F 型滑轮的 B3 尺寸不给间隙,但为了安装,在连接结构中每侧的轴向间隙至少留1mm 标记示例: 钢丝绳直径 d=25mm,滑轮直径 D=630mm 和滑轮轴的直径 D5=90mm 的 A 型滑轮,标记为: 滑轮 A25×630-90 JB/T 9005.3—1999 型号意义:
mm |
||||||||||||||||||||
|
B3
|
D5 |
D6 |
A 型 |
B 型 |
F 型 |
|||||||||||||||
|
滚动轴承代号 |
B
|
B4 |
D7 (k7) |
S2 |
滚动轴承代号 |
B
|
B4 |
B5 |
B6 |
D7 (k7) |
S2 |
B
|
D7 (H7 /k6) |
|||||||
|
A1型 |
A2型 |
宽度 |
B1型 |
B2型 |
宽度 |
|||||||||||||||
|
100 |
45 |
60 |
6212 |
NF212 |
22 |
60 |
86 |
110 |
6 |
6209 |
NF209 |
19 |
55 |
81 |
27.5 |
50 |
85 |
7 |
80 |
55 |
|
100 |
50 |
60 |
6212 |
NF212 |
22 |
60 |
86 |
110 |
6 |
6210 |
NF210 |
20 |
60 |
86 |
25.0 |
45 |
90 |
10 |
80 |
60 |
|
105 |
55 |
70 |
6214 |
NF214 |
24 |
65 |
91 |
125 |
7 |
6211 |
NF211 |
21 |
60 |
86 |
27.5 |
50 |
100 |
8 |
90 |
65 |
|
105 |
60 |
70 |
6214 |
NF214 |
24 |
65 |
91 |
125 |
7 |
6212 |
NF212 |
22 |
60 |
86 |
27.5 |
50 |
110 |
6 |
90 |
75 |
|
110 |
65 |
80 |
6216 |
NF216 |
26 |
70 |
96 |
140 |
8 |
6213 |
NF213 |
23 |
65 |
91 |
27.5 |
50 |
120 |
9 |
90 |
80 |
|
110 |
70 |
80 |
6216 |
NF216 |
26 |
70 |
96 |
140 |
8 |
6214 |
NF214 |
24 |
65 |
91 |
27.5 |
50 |
125 |
7 |
90 |
85 |
|
130 |
75 |
90 |
6218 |
NF218 |
30 |
80 |
106 |
160 |
10 |
6215 |
NF215 |
25 |
70 |
96 |
35.0 |
65 |
130 |
10 |
110 |
90 |
|
135 |
80 |
100 |
6220 |
NF220 |
34 |
85 |
111 |
180 |
7 |
6216 |
NF216 |
26 |
70 |
96 |
37.5 |
70 |
140 |
8 |
110 |
95 |
|
145 |
90 |
110 |
6222 |
NF222 |
38 |
95 |
125 |
200 |
9 |
6218 |
NF218 |
30 |
80 |
110 |
37.5 |
70 |
160 |
10 |
120 |
105 |
|
150 |
100 |
120 |
6224 |
NF224 |
40 |
100 |
130 |
215 |
10 |
6220 |
NF220 |
34 |
85 |
115 |
37.5 |
70 |
180 |
7 |
130 |
120 |
|
160 |
110 |
130 |
6226 |
NF226 |
40 |
100 |
130 |
230 |
10 |
6222 |
NF222 |
38 |
95 |
125 |
37.5 |
70 |
200 |
9 |
140 |
130 |
|
160 |
120 |
140 |
6228 |
NF228 |
42 |
100 |
134 |
250 |
6 |
6224 |
NF224 |
40 |
100 |
134 |
35.0 |
65 |
215 |
10 |
140 |
140 |
|
165 |
130 |
150 |
6230 |
NF230 |
45 |
110 |
144 |
270 |
10 |
6226 |
NF226 |
40 |
100 |
134 |
37.5 |
70 |
230 |
10 |
140 |
150 |
|
170 |
140 |
160 |
6232 |
NF232 |
48 |
115 |
149 |
290 |
9 |
6228 |
NF228 |
42 |
100 |
134 |
40.0 |
75 |
250 |
6 |
140 |
160 |
|
180 |
150 |
170 |
6234 |
NF234 |
52 |
125 |
159 |
310 |
11 |
6230 |
NF230 |
45 |
110 |
144 |
40.0 |
75 |
270 |
10 |
140 |
170 |
|
180 |
160 |
180 |
6236 |
NF236 |
52 |
125 |
159 |
320 |
11 |
6232 |
NF232 |
48 |
115 |
149 |
37.5 |
70 |
290 |
9 |
140 |
180 |
|
185 |
170 |
190 |
6238 |
NF238 |
55 |
130 |
164 |
340 |
10 |
6234 |
NF234 |
52 |
125 |
159 |
35.0 |
65 |
310 |
11 |
140 |
190 |
|
190 |
180 |
200 |
6240 |
NF240 |
58 |
135 |
169 |
360 |
9 |
6236 |
NF236 |
52 |
125 |
159 |
37.5 |
70 |
320 |
11 |
150 |
200 |
|
220 |
190 |
220 |
6244 |
NF244 |
65 |
150 |
184 |
400 |
10 |
6238 |
NF238 |
55 |
130 |
164 |
50.0 |
95 |
340 |
10 |
150 |
210 |
|
220 |
200 |
220 |
6244 |
NF244 |
65 |
150 |
184 |
400 |
10 |
6240 |
NF240 |
58 |
135 |
169 |
47.5 |
90 |
360 |
9 |
160 |
220 |
|
220 |
220 |
240 |
— |
— |
— |
— |
— |
— |
— |
6244 |
NF244 |
65 |
150 |
188 |
50.0 |
95 |
400 |
10 |
160 |
250 |



