|
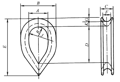
钢索套环(CB/T 33—1999) |
|||||||||||||
|
|
材 料:Q255-A 标记示例: 钢索直径为6mm的钢索套环,标记为: 套环WT6 CB/T 33—1999 |
||||||||||||
|
mm |
|||||||||||||
|
型 号 |
钢索 直径 |
套环的许用载荷 /kN(tf) |
A |
B |
C |
D |
E |
F |
G |
J |
K |
R |
质量 /kg≈ |
|
WT4 |
4 |
1.67(0.17) |
10.0 |
19.0 |
6.0 |
20 |
32 |
4.4 |
2.5 |
14 |
2.0 |
4.4 |
0.011 |
|
WT5 |
5 |
2.45(0.25) |
12.5 |
23.5 |
7.5 |
25 |
40 |
5.5 |
3.0 |
17 |
2.5 |
5.5 |
0.019 |
|
WT6 |
6 |
3.43(0.35) |
15.0 |
28.0 |
9.0 |
30 |
47 |
6.6 |
3.5 |
20 |
3.0 |
6.6 |
0.034 |
|
WT8 |
8 |
6.27(0.64) |
20.0 |
37.0 |
12.0 |
40 |
63 |
8.8 |
4.5 |
27 |
4.0 |
8.8 |
0.074 |
|
WT10 |
9~10 |
9.80(1.00) |
25.0 |
46.0 |
15.0 |
50 |
79 |
11.0 |
5.5 |
34 |
5.0 |
11.0 |
0.132 |
|
WT12 |
11~12 |
14.70(1.50) |
30.0 |
56.0 |
18.0 |
60 |
95 |
13.0 |
7.0 |
41 |
6.0 |
13.0 |
0.212 |
|
WT14 |
13~14 |
19.60(2.00) |
35.0 |
65.0 |
21.0 |
70 |
111 |
15.0 |
8.0 |
48 |
7.0 |
15.0 |
0.311 |
|
WT16 |
16 |
26.46(2.70) |
40.0 |
74.0 |
24.0 |
80 |
126 |
18.0 |
9.0 |
54 |
8.0 |
18.0 |
0.514 |
|
WT18 |
18 |
33.32(3.40) |
45.0 |
83.0 |
27.0 |
90 |
142 |
20.0 |
10.0 |
61 |
9.0 |
20.0 |
0.938 |
|
WT20 |
20 |
40.18(4.10) |
50.0 |
92.0 |
30.0 |
100 |
158 |
22.0 |
11.0 |
68 |
10.0 |
22.0 |
1.320 |
|
WT22 |
22 |
49.00(5.00) |
55.0 |
101.0 |
33.0 |
110 |
174 |
24.0 |
12.0 |
75 |
11.0 |
24.0 |
1.750 |
|
WT25 |
24 |
63.70(6.50) |
62.0 |
115.0 |
38.0 |
125 |
198 |
28.0 |
14.0 |
85 |
12.0 |
28.0 |
2.550 |
|
WT28 |
26~28 |
80.36(8.20) |
70.0 |
129.0 |
42.0 |
140 |
221 |
31.0 |
15.5 |
95 |
14.0 |
31.0 |
3.530 |
|
WT32 |
32 |
104.86(10.70) |
80.0 |
147.0 |
48.0 |
160 |
253 |
35.0 |
17.5 |
109 |
16.0 |
35.0 |
5.150 |
|
WT36 |
36 |
132.30(13.50) |
90.0 |
166.0 |
54.0 |
180 |
284 |
40.0 |
20.0 |
122 |
18.0 |
40.0 |
7.250 |
|
WT40 |
40 |
166.60(17.00) |
100.0 |
184.0 |
60.0 |
200 |
316 |
44.0 |
22.0 |
136 |
20.0 |
44.0 |
10.430 |
|
WT45 |
44 |
205.80(21.00) |
112.0 |
207.0 |
68.0 |
225 |
356 |
50.0 |
25.0 |
153 |
22.5 |
50.0 |
14.810 |
|
WT50 |
48 |
264.60(27.00) |
125.0 |
231.0 |
75.0 |
250 |
395 |
55.0 |
28.0 |
170 |
25.0 |
55.0 |
21.940 |
|
WT56 |
52~56 |
323.40(33.00) |
140.0 |
258.0 |
84.0 |
280 |
442 |
62.0 |
31.0 |
190 |
28.0 |
62.0 |
30.240 |
|
WT63 |
60 |
392.00(40.00) |
158.0 |
291.0 |
94.0 |
315 |
498 |
69.0 |
35.0 |
214 |
31.5 |
69.0 |
40.040 |
|
注:本标准原系GB 560—1987,后改为行业标准CB/T 33—1999,但内容并未修订,供参考。 |
|||||||||||||

