|
带附件短节距精密滚子输送链(GB/T 1243—2006) |
|||||||||
|
链条的基本参数
mm |
|||||||||
|
ISO 链号 |
节距 p |
滚子 直径 d1 (max) |
内链节 内宽 b1 (min) |
销轴 直径 d2 (max) |
套筒 孔径 d3 (min) |
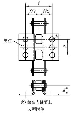
K型附件尺寸 |
最小抗 拉载荷 /kN |
||
|
翼板高 h4 |
孔径 d4 (min) |
横向孔 间距 f |
|||||||
|
06C |
9.525 |
5.08 |
4.68 |
3.60 |
3.62 |
6.4 |
2.6 |
19.0 |
7.9 |
|
08A |
12.7 |
7.92 |
7.85 |
3.98 |
4 |
7.9 |
3.3 |
25.4 |
13.9 |
|
08B |
12.7 |
8.51 |
7.75 |
4.45 |
4.5 |
8.9 |
4.3 |
17.8 |
|
|
10A |
15.875 |
10.16 |
9.4 |
5.09 |
5.12 |
10.3 |
5.1 |
31.75 |
21.8 |
|
10B |
15.875 |
10.16 |
9.65 |
5.08 |
5.13 |
5.3 |
22.2 |
||
|
12A |
19.05 |
11.91 |
12.75 |
5.96 |
5.98 |
11.9 |
5.1 |
38.1 |
31.3 |
|
12B |
19.05 |
12.07 |
11.68 |
5.72 |
5.77 |
13.5 |
6.4 |
28.9 |
|
|
16A |
25.4 |
15.88 |
15.75 |
7.94 |
7.96 |
15.9 |
6.6 |
50.8 |
55.6 |
|
16B |
25.4 |
15.88 |
17.02 |
8.28 |
8.33 |
6.4 |
60 |
||
|
20A |
31.75 |
19.05 |
18.9 |
9.54 |
9.56 |
19.8 |
8.2 |
63.5 |
87 |
|
20B |
31.75 |
19.05 |
19.56 |
10.19 |
10.24 |
8.4 |
95 |
||
|
24A |
38.1 |
22.23 |
25.22 |
11.11 |
11.14 |
23.0 |
9.8 |
76.2 |
125 |
|
24B |
38.1 |
25.4 |
25.4 |
14.63 |
14.68 |
26.7 |
10.5 |
160 |
|
|
28A |
44.45 |
25.4 |
25.22 |
12.71 |
12.74 |
28.6 |
11.4 |
88.9 |
170 |
|
28B |
44.45 |
27.94 |
30.99 |
15.9 |
15.95 |
13.1 |
200 |
||
|
32A |
50.8 |
28.58 |
31.55 |
14.29 |
14.31 |
31.8 |
13.1 |
101.6 |
223 |
|
32B |
50.8 |
29.21 |
30.99 |
17.81 |
17.86 |
250 |
|||
|
40A |
63.50 |
39.68 |
37.85 |
19.85 |
19.87 |
42.9 |
16.3 |
127.0 |
347 |
|
注:1.每个K2型附件有两个附件孔,K1型附件除中央有一个孔外,其余与K2型附件相同。 2.附件也可以仅设置在单侧(本条是根据国情及考虑实际使用情况后增加的)。 有两种附件型式,即K1型和K2型。附件板的实际形状由制造厂确定,附件一般与链板做成一体,即由链板延伸部分弯成水平翼板。附件板的长度由制造厂确定,但必须适应K2型开设附件孔的要求,同时在工作时,不应与相邻链节发生干涉,通常采用K1型和K2型通用附件板长度 型号意义:
标记示例: 链号为08A、87节、附板为K1型的滚子链,标记为: 08A-87-K1 GB/T 1243—2006 |
|||||||||


