|
链轮 |
||||||||||||
|
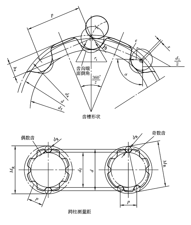
(1)基本参数与直径尺寸 链轮的基本参数与直径尺寸应符合图1、图2及表1
图1齿槽形状及跨柱测量距 表1 |
||||||||||||
|
名称 |
计算公式或说明 |
|||||||||||
|
基本 参数 |
配用链 条参数 |
节距p |
见表链条中表1 |
|||||||||
|
滚子外径d1(d4、d7) |
见表链条中表1 |
|||||||||||
|
齿数z |
齿数范围6~40,优先采用8,10,12,16和24 |
|||||||||||
|
直 径 、 齿 高 |
分度圆直径d |
|
||||||||||
|
齿根圆直径df |
dfmax=d-d1(d4、d7) |
|||||||||||
|
齿顶圆直径da |
damax=d+d1 damin应满足轮齿工作表面要求,见表2 |
|||||||||||
|
量柱直径dR |
dR=d1(d4、d7),公差h11 |
|||||||||||
|
跨柱测量距MR |
|
|||||||||||
|
齿侧凸缘直径dg |
B、S型链条:
P型链条:
F型链条:
式中 d5——F型滚子轮缘直径,见表链条中表1 h2——链板高度,见表链条中表1 ra——齿侧凸缘圆角半径,见表4 |
|||||||||||
|
齿根圆直径以上的齿高ha |
度不应超过分度圆弦线以上0.8h4,h4见表链条中表2 |
|||||||||||
|
(2)齿槽形状 齿槽形状应符合图1及表2 |
||||||||||||
|
表2 |
||||||||||||
|
名称 |
计算公式或说明 |
|||||||||||
|
齿槽中心分离量S |
Smin=0.04p(非机加工齿链轮) Smin=0.08d1(机加工齿链轮) |
|||||||||||
|
齿沟圆弧半径ri |
|
|||||||||||
|
齿沟角α/(°) |
|
|||||||||||
|
工作面 |
工作面为两个滚子与齿面接触线之间的区域,一个滚子的中心线位于分度圆上,另一个滚子中心线在直径等于 |
|||||||||||
|
齿形 |
不论齿沟圆弧半径的大小,也不论齿形是直线的或曲线的,从节距线与齿沟中心分离量尺 寸界线交点到齿面之间的距离应等于 |
|||||||||||
|
压力角θ/(°) |
压力角是链节的节距线与链轮工作面和滚子接触点的法线之间的夹角。工作面上任意一点的压力角应符合表3的规定 |
|||||||||||
|
表3 |
||||||||||||
|
齿数z |
压力角θ/(°) |
齿数z |
压力角θ/(°) |
|||||||||
|
min |
max |
min |
max |
|||||||||
|
6~7 |
7 |
10 |
14~15 |
16 |
20 |
|||||||
|
8~9 |
9 |
12 |
16~19 |
18 |
22 |
|||||||
|
10~11 |
12 |
15 |
20~27 |
20 |
25 |
|||||||
|
12~13 |
14 |
17 |
28以上 |
23 |
28 |
|||||||
|
(3)轴向齿廓 链轮的轴向齿廓应符合图2和表4 |
||||||||||||
|
图2 轴向齿廓 表4 mm |
||||||||||||
|
名称 |
计算公式或说明 |
|||||||||||
|
齿宽bf |
对于非带边滚子:bfmax=0.9b1-1 bfmin=0.87b1-1.7 对于带边滚子:bfmax=0.9(b1-b11)-1 bfmin=0.87(b1-b11)-1.7 |
|||||||||||
|
最小倒圆半径rx |
rx=1.6b1 |
|||||||||||
|
倒角宽ba |
ba=0.16b1 |
|||||||||||
|
齿根宽bg |
bgmin=0.25bf |
|||||||||||
|
齿侧凸缘圆角半径ra |
ra≈0.15h2 |
|||||||||||
|
注:齿沟端面倒角——避免物料聚集,允许对齿沟两端进行倒角。 |
||||||||||||
|
(4)链轮公差 1)链轮齿根圆直径的极限偏差应符合以下规定:机加工齿轮的齿根圆直径极限偏差为h11,非机加工齿轮的齿根圆直径极限偏差为CT8(按GB/T 6414—1999《铸件尺寸公差与机械加工余量》的规定) 2)链轮孔的极限偏差应不低于H9 3)链轮齿根圆径向圆跳动和齿根圆处端面圆跳动应符合表5的规定 表5 |
||||||||||||
|
名称 |
非机加工齿 |
机加式齿 |
||||||||||
|
径向圆跳动 端面圆跳动 |
0.005df或1.5mm,选两者中之大值 |
按0.001df+0.1mm计算,或取0.2mm,选两者中之大值,但最大不得超过2mm |
||||||||||





