带冲压圆形座外球面球轴承(带顶丝、带偏心套) (GB/T 7810—2017) | |||||||||||||||||||||
允许轴向载荷小于允许径向载荷的50%
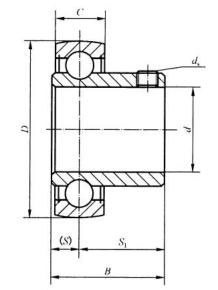
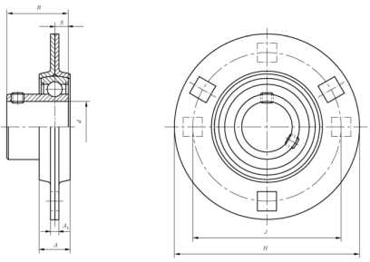
一端平头带顶丝外球面球轴承(UB型) 带冲压圆形座顶丝外球面球轴承(UBPF型)
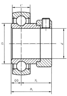
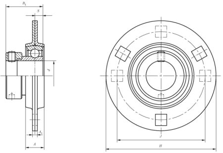
轻型带偏心套外球面球轴承(UE型) 带冲压圆形座偏心套外球面球轴承(UEPF型) 符号含义与应用 UB— 一端平头带顶丝外球面球轴承 UE— 一端平头带偏心套外球面球轴承 PF—冲后圆形座 具有与深沟球轴承相同的载荷能力,调心性能较好,有密封装置,结构紧凑,使用方便。 | |||||||||||||||||||||
轴 承 尺 寸 /mm | 基本额定 载荷/kN | 配用偏 心套 | 座 尺 寸 /mm | 轴承座允 许径向载 荷/kN max | 带座轴承 代 号 | 轴承 代号 | 座代号 | ||||||||||||||
d | D | B | S | C | ds | G | d1 max | Cr | C0r | 代号 | A max | A1 max | H max | H2 max | J | N | UBPF 型 UEPF 型 | UB 型 UE 型 | PF 型 | ||
min | max | ||||||||||||||||||||
12 | 40 | 22 | 6 | 12 | M5×0.8 | 4.5 | — | 7.35 | 4.78 | — | 15 | 4.5 | 82 | 49 | 63.5 | 7.1 | 2.45 | UBPF 201 | UB 201 | PF 203 | |
| 40 | 28.6 | 6.5 | 12 | 13 | — | — | 28.6 | 7.35 | 4.78 | E 201 | 15 | 4.5 | 82 | 49 | 63.5 | 7.1 | 2.45 | UEPF 201 | UE 201 | PF 203 |
| | | | | | | | | | | | | | | | | | | | | |
15 | 40 | 22 | 6 | 12 | M5×0.8 | 4.5 | — | 7.35 | 4.78 | — | 15 | 4.5 | 82 | 49 | 63.5 | 7.1 | 2.45 | UBPF 202 | UB 202 | PF 203 | |
| 40 | 28.6 | 6.5 | 12 | 13 | — | — | 28.6 | 7.35 | 4.78 | E 202 | 15 | 4.5 | 82 | 49 | 63.5 | 7.1 | 2.45 | UEPF 202 | UE 202 | PF 203 |
| | | | | | | | | | | | | | | | | | | | | |
17 | 40 | 22 | 6 | 12 | M5×0.8 | 4.5 | — | 7.35 | 4.78 | — | 15 | 4.5 | 82 | 49 | 63.5 | 7.1 | 2.45 | UBPF 203 | UB 203 | PF 203 | |
| 40 | 28.6 | 6.5 | 12 | 13 | — | — | 28.6 | 7.35 | 4.78 | E 203 | 15 | 4.5 | 82 | 49 | 63.5 | 7.1 | 2.45 | UEPF 203 | UE 203 | PF 203 |
| | | | | | | | | | | | | | | | | | | | | |
20 | 47 | 25 | 7 | 14 | M6×1 | 5 | — | 9.88 | 6.65 | — | 17 | 4.5 | 91 | 56 | 71.5 | 9 | 3.29 | UBPF 204 | UB 204 | PF 204 | |
| 47 | 31.0 | 7.5 | 14 | 15 | — | — | 33.3 | 9.88 | 6.65 | E 204 | 17 | 4.5 | 91 | 56 | 71.5 | 9 | 3.29 | UEPF 204 | UE 204 | PF 204 |
| | | | | | | | | | | | | | | | | | | | | |
25 | 52 | 27 | 7.5 | 15 | M6×1 | 5.5 | — | 10.8 | 7.88 | — | 19 | 4.5 | 96 | 61 | 76 | 9 | 3.60 | UBPF 205 | UB 205 | PF 205 | |
| 52 | 31.5 | 7.5 | 15 | — | — | 38.1 | 10.8 | 7.88 | E 205 | 19 | 4.5 | 96 | 61 | 76 | 9 | 3.60 | UEPF 205 | UE 205 | PF 205 | |
| | | | | | | | | | | | | | | | | | | | | |
30 | 62 | 30 | 8 | 16 | M6×1 | 6 | — | 15.0 | 11.2 | — | 20 | 5.5 | 114 | 72 | 90.5 | 11 | 5.00 | UBPF 206 | UB 206 | PF 206 | |
| 62 | 35.7 | 9 | 16 | 18 | — | — | 44.5 | 15.0 | 11.2 | E 206 | 20 | 5.5 | 114 | 72 | 90.5 | 11 | 5.00 | UEPF 206 | UE 206 | PF 206 |
| | | | | | | | | | | | | | | | | | | | | |
35 | 72 | 32 | 8.5 | 17 | M8×1 | 6 | — | 19.8 | 15.2 | — | 23 | 5.5 | 127 | 81 | 100 | 11 | 6.56 | UBPF 207 | UB 207 | PF 207 | |
| 72 | 38.9 | 9.5 | 17 | 19 | — | — | 55.6 | 19.8 | 15.2 | E 207 | 23 | 5.5 | 127 | 81 | 100 | 11 | 6.56 | UEPF 207 | UE 207 | PF 207 |
| | | | | | | | | | | | | | | | | | | | | |
40 | 80 | 34 | 9 | 18 | M8×1 | 7 | — | 22.8 | 18.2 | — | 23 | 7 | 149 | 91 | 119 | 13.5 | 7.56 | UBPF 208 | UB 208 | PF 208 | |
| 80 | 43.7 | 11.0 | 18 | 22 | — | — | 60.3 | 22.8 | 18.2 | E 208 | 23 | 7 | 149 | 91 | 119 | 13.5 | 7.56 | UEPF 208 | UE 208 | PF 208 |
| | | | | | | | | | | | | | | | | | | | | |
45 | 85 | 43.7 | 11.0 | 19 | 22 | — | — | 63.5 | 24.5 | 20.8 | E 209 | 23 | 7 | 150 | 98 | 120.5 | 13.5 | 8.13 | UEPF 209 | UE 209 | PF 209 |
| | | | | | | | | | | | | | | | | | | | | |
50 | 90 | 43.7 | 11.0 | 20 | 22 | — | — | 69.9 | 27.0 | 23.2 | E 210 | 25 | 8 | 157 | 102 | 127 | 13.5 | 9.00 | UEPF 210 | UE 210 | PF 210 |
| | | | | | | | | | | | | | | | | | | | | |
55 | 100 | 48.4 | 12.0 | 21 | 55 | — | — | 76.2 | 33.5 | 29.2 | E 211 | 26 | 8 | 168 | 113 | 138 | 13.5 | 11.1 | UEPF 211 | UE 211 | PF 211 |
| | | | | | | | | | | | | | | | | | | | | |
60 | 110 | 53.1 | 13.5 | 22 | 27 | — | — | 84.2 | 36.8 | 32.8 | E 212 | 28 | 8 | 177 | 122 | 148 | 13.5 | 12.2 | UEPF 212 | UE 212 | PF 212 |
注:PF 208 和大于PF 208 的轴承座有四个螺孔。 | |||||||||||||||||||||




