|
带冲压立式座外球面球轴承(带顶丝、带偏心套) (GB/T 7810—2017) |
|||||||||||||||||||||
|
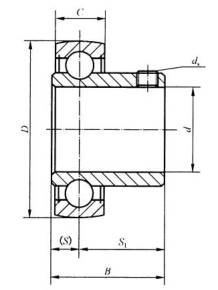
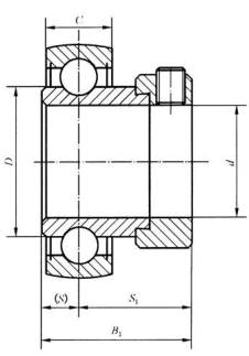
冲压座强度低,只适用于较小的载荷,允许轴向载荷小于允许径向载荷的30%
一端平头带顶丝外球面球轴承(UB型)
带冲压立式座顶丝外球面球轴承(UBPP型)
轻型带偏心套外球面球轴承(UE型)
带冲压立式座偏心套外球面球轴承(UEPP型) 符号含义与应用: UB— 一端平头带顶丝外球面球轴承 UE— 一端平头带偏心套外球面球轴承 PP—冲压立式座 具有与深沟球轴承相同的载荷能力,调心性能较好,有密封装置,结构紧凑,使用方便。 |
|||||||||||||||||||||
|
轴 承 尺 寸 /mm |
基本额定 载荷/kN |
配用偏 心套 |
座 尺 寸 /mm |
轴承座允 许径向载 荷/kN max |
带座轴承 代 号 |
轴承 代号 |
座代号 |
||||||||||||||
|
d |
D |
B |
S |
C |
ds |
G |
d1 max |
Cr |
C0r |
代号 |
A max |
H |
H1 max |
J |
L max |
N |
UBPP型 UEPP型 |
UB型 UE型 |
PP型 |
||
|
min max |
|||||||||||||||||||||
|
12 |
40 |
22 |
6 |
12 |
M5×0.8 |
4.5 |
— |
7.35 |
4.78 |
— |
26 |
22.2 |
4 |
68 |
87 |
9.5 |
1.25 |
UBPP 201 |
UB 201 |
PP 203 |
|
|
|
40 |
28.6 |
6.5 |
12 |
13 |
— |
— |
28.6 |
7.35 |
4.78 |
E 201S |
26 |
22.2 |
4 |
68 |
87 |
9.5 |
1.25 |
UEPP 201 |
UE 201 |
PP 203 |
|
|
|
|
|
|
|
|
|
|
|
|
|
|
|
|
|
|
|
|
|
|
|
|
15 |
40 |
22 |
6 |
12 |
M5×0.8 |
4.5 |
— |
7.35 |
4.78 |
— |
26 |
22.2 |
4 |
68 |
87 |
9.5 |
1.25 |
UBPP 202 |
UB 202 |
PP 203 |
|
|
|
40 |
28.6 |
6.5 |
12 |
13 |
— |
— |
28.6 |
7.35 |
4.78 |
E 202S |
26 |
22.2 |
4 |
68 |
87 |
9.5 |
1.25 |
UEPP 202 |
UE 202 |
PP 203 |
|
|
|
|
|
|
|
|
|
|
|
|
|
|
|
|
|
|
|
|
|
|
|
|
17 |
40 |
22 |
6 |
12 |
M5×0.8 |
4.5 |
— |
7.35 |
4.78 |
— |
26 |
22.2 |
4 |
68 |
87 |
9.5 |
1.25 |
UBPP 203 |
UB 203 |
PP 203 |
|
|
|
40 |
28.6 |
6.5 |
12 |
13 |
— |
— |
28.6 |
7.35 |
4.78 |
E 203S |
26 |
22.2 |
4 |
68 |
87 |
9.5 |
1.25 |
UEPP 203 |
UE 203 |
PP 203 |
|
|
|
|
|
|
|
|
|
|
|
|
|
|
|
|
|
|
|
|
|
|
|
|
20 |
47 |
25 |
7 |
14 |
M6×0.75 |
5 |
— |
9.88 |
6.65 |
— |
33 |
25.4 |
4 |
76 |
99 |
9.5 |
1.70 |
UBPP 204 |
UB 204 |
PP 204 |
|
|
|
47 |
31.0 |
7.5 |
14 |
15 |
— |
— |
33.3 |
9.88 |
6.65 |
E 204 |
33 |
25.4 |
4 |
76 |
99 |
9.5 |
1.70 |
UEPP 204 |
UE 204 |
PP 204 |
|
|
|
|
|
|
|
|
|
|
|
|
|
|
|
|
|
|
|
|
|
|
|
|
25 |
52 |
27 |
7.5 |
15 |
M6×0.75 |
5.5 |
— |
10.8 |
7.88 |
— |
33 |
28.6 |
4.5 |
86 |
109 |
11.5 |
1.80 |
UBPP 205 |
UB 205 |
PP 205 |
|
|
|
52 |
31.5 |
7.5 |
15 |
— |
— |
38.1 |
10.8 |
7.88 |
E 205 |
33 |
28.6 |
4.5 |
86 |
109 |
11.5 |
1.80 |
UEPP 205 |
UE 205 |
PP 205 |
|
|
|
|
|
|
|
|
|
|
|
|
|
|
|
|
|
|
|
|
|
|
|
|
|
30 |
62 |
30 |
8 |
16 |
M6×0.75 |
6 |
— |
15.0 |
11.2 |
— |
39 |
33.3 |
4.5 |
95 |
119 |
11.5 |
2.50 |
UBPP 206 |
UB 206 |
PP 206 |
|
|
|
62 |
35.7 |
9 |
16 |
18 |
— |
— |
44.5 |
15.0 |
11.2 |
E 206 |
39 |
33.3 |
4.5 |
95 |
119 |
11.5 |
2.50 |
UEPP 206 |
UE 206 |
PP 206 |
|
|
|
|
|
|
|
|
|
|
|
|
|
|
|
|
|
|
|
|
|
|
|
|
35 |
72 |
32 |
8.5 |
17 |
M8×1 |
6 |
— |
19.8 |
15.2 |
— |
43 |
39.7 |
5 |
106 |
130 |
11.5 |
3.30 |
UBPP 207 |
UB 207 |
PP 207 |
|
|
|
72 |
38.9 |
9.5 |
17 |
19 |
— |
— |
55.6 |
19.8 |
15.2 |
E 207 |
43 |
39.7 |
5 |
106 |
130 |
11.5 |
3.30 |
UEPP 207 |
UE 207 |
PP 207 |
|
|
|
|
|
|
|
|
|
|
|
|
|
|
|
|
|
|
|
|
|
|
|
|
40 |
80 |
34 |
9 |
18 |
M8×1 |
7 |
— |
22.8 |
18.2 |
— |
43 |
43.7 |
5 |
120 |
148 |
13 |
3.80 |
UBPP 208 |
UB 208 |
PP 208 |
|
|
|
80 |
43.7 |
11.0 |
18 |
22 |
— |
— |
60.3 |
22.8 |
18.2 |
E 208 |
43 |
43.7 |
5 |
120 |
148 |
13 |
3.80 |
UEPP 208 |
UE 208 |
PP 208 |
|
|
|
|
|
|
|
|
|
|
|
|
|
|
|
|
|
|
|
|
|
|
|
|
45 |
85 |
43.7 |
11.0 |
19 |
22 |
— |
— |
63.5 |
24.5 |
20.8 |
E 209 |
45 |
46.8 |
6 |
128 |
156 |
13 |
4.20 |
UEPP 209 |
UE 209 |
PP 209 |




