|
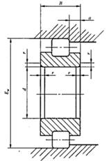
无外圈圆柱滚子轴承(GB/T 283—2007) |
|||||||||||||
|
无外圈圆柱滚子轴承RN型 |
符号含义与应用 RN—无外圈,内圈有双挡边 应用基本同前。不能承受轴向载荷,不能限制轴或外壳的轴向位移,与轴承接触的外壳孔表面硬度、加工精度和表面质量应与套圈滚道相近,用于径向尺寸受限制的部件。 |
||||||||||||
|
基本尺寸/mm |
基本额定载荷 /kN |
极限转速 /r·min-1 |
质量 /kg |
轴承代号 |
其他尺寸 /mm |
安装尺寸 /mm |
|||||||
|
d |
EW |
B |
Cr |
C0r |
脂 |
油 |
W≈ |
RN 型 |
a |
r min |
da min |
Da max |
ra max |
|
15 |
30 |
11 |
|
|
|
|
|
RN 202 |
3 |
0.6 |
|
|
|
|
30.3 |
11 |
|
|
|
|
|
RN 202 E |
— |
0.6 |
|
|
|
|
|
17 |
33.9 |
12 |
|
|
|
|
|
RN 203 |
3.25 |
0.6 |
|
|
|
|
35.1 |
12 |
|
|
|
|
|
RN 203 E |
— |
0.6 |
|
|
|
|
|
20 |
40 |
14 |
|
|
|
|
|
RN 204 |
3.75 |
1 |
|
|
|
|
41.5 |
14 |
25.8 |
24.0 |
12000 |
16000 |
— |
RN 204 E |
2.5 |
1 |
25 |
37.3 |
1 |
|
|
41.5 |
18 |
30.8 |
30.0 |
12000 |
16000 |
— |
RN 2204 E |
3.5 |
1 |
25 |
37.3 |
1 |
|
|
44.5 |
15 |
|
|
|
|
|
RN 304 |
3.5 |
1.1 |
|
|
|
|
|
45.5 |
15 |
29.0 |
25.5 |
11000 |
15000 |
— |
RN 304 E |
2.5 |
1.1 |
26.5 |
41.2 |
1 |
|
|
45.5 |
21 |
39.2 |
37.5 |
10000 |
14000 |
— |
RN 2304 E |
3.5 |
1.1 |
26.5 |
41.2 |
1 |
|
|
25 |
45 |
15 |
|
|
|
|
|
RN 205 |
4.25 |
1 |
|
|
|
|
46.5 |
15 |
27.5 |
26.8 |
11000 |
14000 |
— |
RN 205 E |
3 |
1 |
30 |
42.3 |
1 |
|
|
46.5 |
18 |
32.8 |
33.8 |
11000 |
14000 |
— |
RN 2205 E |
3.5 |
1 |
30 |
42.3 |
1 |
|
|
53 |
17 |
|
|
|
|
|
RN 305 |
4 |
1.1 |
|
|
|
|
|
54 |
17 |
38.5 |
35.8 |
9000 |
12000 |
— |
RN 305 E |
3 |
1.1 |
31.5 |
49.4 |
1 |
|
|
54 |
24 |
53.2 |
54.5 |
9000 |
12000 |
— |
RN 2305 E |
4 |
1.1 |
31.5 |
49.4 |
1 |
|
|
30 |
53.5 |
16 |
|
|
|
|
|
RN 206 |
4.25 |
1 |
|
|
|
|
55.5 |
16 |
36.0 |
35.5 |
8500 |
11000 |
— |
RN 206 E |
3 |
1 |
36 |
50.5 |
1 |
|
|
55.5 |
20 |
45.0 |
48.0 |
8500 |
11000 |
— |
RN 2206 E |
3.5 |
1 |
36 |
50.5 |
1 |
|
|
62 |
19 |
|
|
|
|
|
RN 306 |
4.5 |
1.1 |
|
|
|
|
|
62.5 |
19 |
49.2 |
48.2 |
8000 |
10000 |
— |
RN 306 E |
3.5 |
1.1 |
37 |
58.2 |
1 |
|
|
62.5 |
27 |
70.0 |
75.5 |
8000 |
10000 |
— |
RN 2306 E |
4.5 |
1.1 |
37 |
58.2 |
1 |
|
|
35 |
61.8 |
17 |
|
|
|
|
|
RN 207 |
4 |
1.1 |
|
|
|
|
64 |
17 |
46.5 |
48.0 |
7500 |
9500 |
— |
RN 207 E |
3 |
1.1 |
42 |
59 |
1 |
|
|
64 |
23 |
57.5 |
63.0 |
7500 |
9500 |
— |
RN 2207 E |
4.5 |
1.1 |
42 |
59 |
1 |
|
|
68.2 |
21 |
|
|
|
|
|
RN 307 |
5 |
1.5 |
|
|
|
|
|
70.2 |
21 |
62.0 |
63.2 |
7000 |
9000 |
— |
RN 307 E |
3.5 |
1.5 |
44 |
64.3 |
1.5 |
|
|
70.2 |
31 |
87.5 |
98.2 |
7000 |
9000 |
— |
RN 2307 E |
5 |
1.5 |
44 |
64.3 |
1.5 |
|
|
83 |
25 |
70.8 |
68.2 |
6000 |
7500 |
0.64 |
RN 407 |
— |
1.5 |
44 |
— |
1.5 |
|
|
40 |
70 |
18 |
|
|
|
|
|
RN 208 |
4 |
1.1 |
|
|
|
|
71.5 |
18 |
51.5 |
53.0 |
7000 |
9000 |
— |
RN 208 E |
3.5 |
1.1 |
47 |
66.2 |
1 |
|
|
71.5 |
23 |
67.5 |
75.2 |
7000 |
9000 |
— |
RN 2208 E |
4 |
1.1 |
47 |
66.2 |
1 |
|
|
77.5 |
23 |
|
|
|
|
|
RN 308 |
5.5 |
1.5 |
|
|
|
|
|
80 |
23 |
76.8 |
77.8 |
6300 |
8000 |
— |
RN 308 E |
4 |
1.5 |
49 |
73.3 |
1.5 |
|
|
80 |
33 |
105 |
118 |
6300 |
8000 |
— |
RN 2308 E |
5.5 |
1.5 |
49 |
73.3 |
1.5 |
|
|
92 |
27 |
90.5 |
89.8 |
5600 |
7000 |
— |
RN 408 |
— |
2 |
50 |
— |
2 |
|
|
45 |
75 |
19 |
|
|
|
|
|
RN 209 |
4.5 |
1.1 |
|
|
|
|
76.5 |
19 |
58.5 |
63.8 |
6300 |
8000 |
— |
RN 209 E |
3.5 |
1.1 |
52 |
71.2 |
1 |
|
|
76.5 |
23 |
71.0 |
82.0 |
6300 |
8000 |
— |
RN 2209 E |
4 |
1.1 |
52 |
71.2 |
1 |
|
|
86.5 |
25 |
|
|
|
|
|
RN 309 |
5.5 |
1.5 |
|
|
|
|
|
88.5 |
25 |
93.0 |
98.0 |
5600 |
7000 |
— |
RN 309 E |
4.5 |
1.5 |
54 |
81.5 |
1.5 |
|
|
88.5 |
36 |
130 |
152 |
5600 |
7000 |
— |
RN 2309 E |
6 |
1.5 |
54 |
81.5 |
1.5 |
|
|
50 |
72.5 |
16 |
25.0 |
27.5 |
6300 |
8000 |
— |
RN 1010 |
— |
1 |
55 |
— |
1 |
|
80.4 |
20 |
|
|
|
|
|
RN 210 |
5 |
1.1 |
|
|
|
|
|
81.5 |
20 |
61.2 |
69.2 |
6000 |
7500 |
— |
RN 210 E |
4 |
1.1 |
57 |
77 |
1 |
|
|
81.5 |
23 |
74.2 |
88.8 |
6000 |
7500 |
— |
RN 2210 E |
4 |
1.1 |
57 |
77 |
1 |
|
|
95 |
27 |
|
|
|
|
|
RN 310 |
6 |
2 |
|
|
|
|
|
97 |
27 |
105 |
112 |
5300 |
6700 |
— |
RN 310 E |
5 |
2 |
60 |
89.6 |
2 |
|
|
97 |
40 |
155 |
185 |
5300 |
6700 |
— |
RN 2310 E |
6.5 |
2 |
60 |
89.6 |
2 |
|
|
55 |
88.5 |
21 |
|
|
|
|
|
RN 211 |
5 |
1.5 |
|
|
|
|
90 |
21 |
80.2 |
95.5 |
5300 |
6700 |
— |
RN 211 E |
3.5 |
1.5 |
64 |
85 |
1.5 |
|
|
90 |
25 |
94.8 |
118 |
5300 |
6700 |
— |
RN 2211 E |
4 |
1.5 |
64 |
85 |
1.5 |
|
|
104.5 |
29 |
|
|
|
|
|
RN 311 |
6 |
2 |
|
|
|
|
|
106.5 |
29 |
128 |
138 |
4800 |
6000 |
— |
RN 311 E |
5 |
2 |
65 |
98.2 |
2 |
|
|
106.5 |
43 |
190 |
228 |
4800 |
6000 |
— |
RN 2311 E |
6.5 |
2 |
65 |
98.2 |
2 |
|
|
160 |
86.5 |
18 |
38.5 |
45.0 |
5300 |
6700 |
0.303 |
RN 1012 |
— |
1.1 |
66.5 |
— |
1 |
|
97.5 |
22 |
|
|
|
|
|
RN 212 |
5 |
1.5 |
|
|
|
|
|
100 |
22 |
89.8 |
102 |
5000 |
6300 |
— |
RN 212 E |
4 |
1.5 |
69 |
93.2 |
1.5 |
|
|
100 |
28 |
122 |
152 |
5000 |
6300 |
— |
RN 2212 E |
4 |
1.5 |
69 |
93.2 |
1.5 |
|
|
113 |
31 |
|
|
|
|
|
RN 312 |
6.5 |
2.1 |
|
|
|
|
|
115 |
31 |
142 |
155 |
4500 |
5600 |
— |
RN 312 E |
5.5 |
2.1 |
72 |
106.5 |
2.1 |
|
|
115 |
46 |
212 |
260 |
4500 |
5600 |
— |
RN 2312 E |
7 |
2.1 |
72 |
106.5 |
2.1 |
|
|
65 |
105.6 |
23 |
|
|
|
|
|
RN 213 |
5 |
1.5 |
|
|
|
|
108.5 |
23 |
102 |
118 |
4500 |
5600 |
— |
RN 213 E |
4 |
1.5 |
74 |
101 |
1.5 |
|
|
108.5 |
31 |
142 |
180 |
4500 |
5600 |
— |
RN 2213 E |
4.5 |
1.5 |
74 |
101 |
1.5 |
|
|
121.5 |
33 |
|
|
|
|
|
RN 313 |
7 |
2.1 |
|
|
|
|
|
124.5 |
33 |
170 |
188 |
4000 |
5000 |
— |
RN 313 E |
5.5 |
2.1 |
77 |
114.6 |
2.1 |
|
|
124.5 |
48 |
235 |
285 |
4000 |
5000 |
— |
RN 2313 E |
8 |
2.1 |
77 |
114.6 |
2.1 |
|
|
70 |
100 |
20 |
47.5 |
57.0 |
4800 |
6000 |
— |
RN 1014 |
— |
1.1 |
76.5 |
— |
1 |
|
110.5 |
24 |
|
|
|
|
|
RN 214 |
5.5 |
1.5 |
|
|
|
|
|
113.5 |
24 |
112 |
135 |
4300 |
5300 |
— |
RN 214 E |
4 |
1.5 |
79 |
105.8 |
1.5 |
|
|
113.5 |
31 |
148 |
192 |
4300 |
5300 |
— |
RN 2214 E |
4.5 |
1.5 |
79 |
105.8 |
1.5 |
|
|
130 |
35 |
|
|
|
|
|
RN 314 |
7.5 |
2.1 |
|
|
|
|
|
133 |
35 |
195 |
220 |
3800 |
4800 |
— |
RN 314 E |
5.5 |
2.1 |
82 |
123.5 |
2.1 |
|
|
133 |
51 |
260 |
320 |
3800 |
4800 |
— |
RN 2314 E |
8.5 |
2.1 |
82 |
123.5 |
2.1 |
|
|
75 |
116.5 |
25 |
|
|
|
|
|
RN 215 |
5.5 |
1.5 |
|
|
|
|
118.5 |
25 |
125 |
155 |
4000 |
5000 |
— |
RN 215 E |
4 |
1.5 |
84 |
111.4 |
1.5 |
|
|
118.5 |
31 |
155 |
205 |
4000 |
5000 |
— |
RN 2215 E |
4.5 |
1.5 |
84 |
111.4 |
1.5 |
|
|
139.5 |
37 |
|
|
|
|
|
RN 315 |
7.5 |
2.1 |
|
|
|
|
|
143 |
37 |
228 |
260 |
3600 |
4500 |
— |
RN 315 E |
5.5 |
2.1 |
87 |
131.6 |
2.1 |
|
|
80 |
125.3 |
26 |
|
|
|
|
|
RN 216 |
5.5 |
2 |
|
|
|
|
127.3 |
26 |
132 |
165 |
3800 |
4800 |
— |
RN 216 E |
4.5 |
2 |
90 |
119.8 |
2 |
|
|
127.3 |
33 |
178 |
242 |
3800 |
4800 |
— |
RN 2216 E |
4.5 |
2 |
90 |
119.8 |
2 |
|
|
147 |
39 |
|
|
|
|
|
RN 316 |
8.5 |
2.1 |
|
|
|
|
|
151 |
39 |
245 |
282 |
3400 |
4300 |
— |
RN 316 E |
6 |
2.1 |
92 |
139 |
2.1 |
|
|
85 |
133.8 |
28 |
|
|
|
|
|
RN 217 |
6 |
2 |
|
|
|
|
136.5 |
28 |
158 |
192 |
3600 |
4500 |
— |
RN 217 E |
4.5 |
2 |
95 |
129 |
2 |
|
|
136.5 |
36 |
205 |
272 |
3600 |
4500 |
— |
RN 2217 E |
5 |
2 |
95 |
129 |
2 |
|
|
156 |
41 |
|
|
|
|
|
RN 317 |
8.5 |
3 |
|
|
|
|
|
160 |
41 |
280 |
332 |
3200 |
4000 |
— |
RN 317 E |
6.5 |
3 |
99 |
147 |
3 |
|
|
90 |
143 |
30 |
|
|
|
|
|
RN 218 |
6 |
2 |
|
|
|
|
145 |
30 |
172 |
215 |
3400 |
4300 |
— |
RN 218 E |
5 |
2 |
100 |
136.4 |
2 |
|
|
145 |
40 |
230 |
312 |
3400 |
4300 |
— |
RN 2218 E |
6 |
2 |
100 |
136.4 |
2 |
|
|
165 |
43 |
|
|
|
|
|
RN 318 |
9 |
3 |
|
|
|
|
|
169.5 |
43 |
298 |
348 |
3000 |
3800 |
— |
RN 318 E |
6.5 |
3 |
104 |
155.5 |
3 |
|
|
95 |
151.5 |
32 |
|
|
|
|
|
RN 219 |
6.5 |
2.1 |
|
|
|
|
154.5 |
32 |
208 |
262 |
3200 |
4000 |
— |
RN 219 E |
5 |
2.1 |
107 |
145.5 |
2.1 |
|
|
154.5 |
43 |
275 |
368 |
3200 |
4000 |
— |
RN 2219 E |
6.5 |
2.1 |
107 |
145.5 |
2.1 |
|
|
173.5 |
45 |
|
|
|
|
|
RN 319 |
9.5 |
3 |
|
|
|
|
|
177.5 |
45 |
315 |
380 |
2800 |
3600 |
— |
RN 319 E |
7.5 |
3 |
109 |
163.5 |
2.5 |
|
|
100 |
160 |
34 |
|
|
|
|
|
RN 220 |
7 |
2.1 |
|
|
|
|
163 |
34 |
235 |
302 |
3000 |
3800 |
— |
RN 220 E |
5 |
2.1 |
112 |
152.8 |
2.1 |
|
|
163 |
46 |
318 |
440 |
3000 |
3800 |
— |
RN 2220 E |
6 |
2.1 |
112 |
152.8 |
2.1 |
|
|
185.5 |
47 |
|
|
|
|
|
RN 320 |
9.5 |
3 |
|
|
|
|
|
191.5 |
47 |
365 |
425 |
2600 |
3200 |
— |
RN 320 E |
7.5 |
3 |
114 |
175 |
2.5 |
|
|
105 |
168.8 |
36 |
185 |
235 |
2800 |
3600 |
2.76 |
RN 221 |
7.5 |
2.1 |
117 |
161.2 |
2.1 |
|
195 |
49 |
322 |
392 |
2200 |
3000 |
— |
RN 321 |
9.5 |
3 |
119 |
184 |
2.5 |
|
|
110 |
178.5 |
38 |
|
|
|
|
|
RN 222 |
7.5 |
2.1 |
|
|
|
|
180.5 |
38 |
278 |
360 |
2600 |
3400 |
— |
RN 222 E |
6 |
2.1 |
122 |
170.2 |
2.1 |
|
|
207 |
50 |
352 |
428 |
2000 |
2800 |
— |
RN 322 |
9 |
3 |
124 |
195 |
2.5 |
|
|
120 |
191.5 |
40 |
|
|
|
|
|
RN 224 |
8 |
2.1 |
|
|
|
|
195.5 |
40 |
322 |
422 |
2200 |
3000 |
— |
RN 224 E |
6 |
2.1 |
132 |
183.5 |
2.1 |
|
|
226 |
55 |
440 |
552 |
1900 |
2600 |
— |
RN 324 |
9.5 |
3 |
134 |
213 |
2.5 |
|
|
130 |
204 |
40 |
258 |
352 |
2000 |
2800 |
4.48 |
RN 226 |
8 |
3 |
144 |
195 |
2.5 |
|
243 |
58 |
492 |
620 |
1700 |
2200 |
— |
RN 326 |
10 |
4 |
148 |
229 |
3 |
|
|
140 |
221 |
42 |
302 |
415 |
1800 |
2400 |
5.94 |
RN 228 |
8 |
3 |
154 |
211.5 |
2.5 |
|
260 |
62 |
545 |
690 |
1600 |
2000 |
13.2 |
RN 328 |
11 |
4 |
158 |
245 |
3 |
|
|
150 |
238 |
45 |
360 |
490 |
1700 |
2200 |
— |
RN 230 |
8.5 |
3 |
164 |
228 |
2.5 |
|
277 |
65 |
595 |
765 |
1500 |
1900 |
17.04 |
RN 330 |
11.5 |
4 |
168 |
262 |
3 |
|
|
160 |
255 |
48 |
405 |
552 |
1600 |
2000 |
— |
RN 232 |
9 |
3 |
174 |
245 |
2.5 |
|
292 |
68 |
628 |
825 |
1400 |
1800 |
— |
RN 332 |
13 |
4 |
178 |
276 |
3 |
|
|
170 |
272 |
52 |
425 |
650 |
1500 |
1900 |
— |
RN 234 |
10 |
4 |
188 |
262 |
3 |
|
310 |
72 |
715 |
952 |
1300 |
1700 |
— |
RN 334 |
13.5 |
4 |
188 |
293 |
3 |
|
|
180 |
282 |
52 |
425 |
650 |
1400 |
1800 |
— |
RN 236 |
10 |
4 |
198 |
270 |
3 |
|
328 |
75 |
835 |
1100 |
1200 |
1600 |
35.9 |
RN 336 |
13.5 |
4 |
198 |
309 |
3 |
|
|
190 |
299 |
55 |
512 |
745 |
1300 |
1700 |
— |
RN 238 |
10.5 |
4 |
208 |
286.5 |
3 |
|
345 |
78 |
882 |
1190 |
1100 |
1500 |
31.6 |
RN 338 |
14 |
5 |
212 |
325 |
4 |
|
|
200 |
316 |
58 |
570 |
842 |
1200 |
1600 |
— |
RN 240 |
11.5 |
4 |
218 |
302.5 |
3 |
|
360 |
80 |
972 |
1290 |
1000 |
1400 |
— |
RN 340 |
15 |
5 |
222 |
340 |
4 |
|
|
220 |
350 |
65 |
702 |
1050 |
1000 |
1400 |
— |
RN 244 |
12.5 |
4 |
238 |
335 |
3 |

