|
施必牢(SPL)六角凸缘螺母(SPL-CO—2004) |
|||||||||||||||||||
|
|
|||||||||||||||||||
|
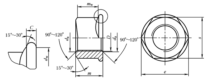
标记示例 螺纹规格D=M20、性能等级8级、产品等级B级、不经表面处理的六角凸缘螺母,标记为:SPL-CO M20-8 螺纹规格D=M20×1.5、性能等级8级、产品等级B级、镀锌的六角凸缘螺母,标记为:SPL-CO M20×1.5-8 F3 |
|||||||||||||||||||
|
螺纹规格D |
M12 |
M14 |
M16 |
M18 |
M20 |
M22 |
M24 |
M27 |
M30 |
||||||||||
|
螺距 P |
粗牙 |
1.75 |
2 |
2 |
2.5 |
2.5 |
2.5 |
3 |
3 |
3.5 |
|||||||||
|
细牙 |
1.25(1.5) |
(1.5) |
1.5 |
(1.5) |
1.5 |
1.5 |
1.5 |
2 |
2 |
||||||||||
|
C |
最大 |
2.1 |
3 |
3.4 |
4.2 |
4.2 |
4.2 |
5.3 |
5.3 |
6.4 |
|||||||||
|
最小 |
1.8 |
2.4 |
3 |
3.8 |
3.8 |
3.8 |
4.7 |
4.7 |
5.6 |
||||||||||
|
da |
最大 |
13 |
15.1 |
17.3 |
19.5 |
21.6 |
23.7 |
25.9 |
29.1 |
32.4 |
|||||||||
|
最小 |
12 |
14 |
16 |
18 |
20 |
22 |
24 |
27 |
30 |
||||||||||
|
dw(最小) |
17.3 |
20.7 |
24 |
26 |
30 |
34 |
36 |
41 |
46 |
||||||||||
|
e(最小) |
20.03 |
23.36 |
26.75 |
29.56 |
32.95 |
37.29 |
39.55 |
45.2 |
50.85 |
||||||||||
|
m |
最大 |
12 |
14 |
16 |
17.6 |
20 |
22 |
24 |
27 |
30 |
|||||||||
|
最小 |
11.57 |
13 |
15.3 |
16.9 |
18.7 |
20.7 |
22.7 |
25.7 |
28.7 |
||||||||||
|
mw(最小) |
6.8 |
7.7 |
8.9 |
10.7 |
12.1 |
14.5 |
15.9 |
18 |
20.1 |
||||||||||
|
s |
公称=最大 |
18 |
21 |
24 |
27 |
30 |
34 |
36 |
41 |
46 |
|||||||||
|
最小 |
17.73 |
20.67 |
23.67 |
26.16 |
29.16 |
33 |
35 |
40 |
45 |
||||||||||
|
每1000个的质量/kg |
0.017 |
0.026 |
0.039 |
0.058 |
0.076 |
0.112 |
0.125 |
0.191 |
0.289 |
||||||||||
|
技术条件 |
材料及性 能等级 |
钢 |
不锈钢 |
||||||||||||||||
|
8 |
10 |
12 |
|||||||||||||||||
|
粗牙 |
D≤16 |
1型 |
D>16 |
2型 |
1型 |
2型 |
A2-70 |
||||||||||||
|
细牙 |
2型 |
1型 |
2型 |
D≤16:2型 |
|||||||||||||||
|
螺纹标准 |
产品等级 |
表面处理 |
|||||||||||||||||
|
美国施必牢螺纹标准 |
D≤16:A D>16:B |
钢:氧化、电镀,或由供需双方协议 不锈钢:简单处理 |
|||||||||||||||||
|
注:括号内的规格尽量不要采用。 |
|||||||||||||||||||

