|
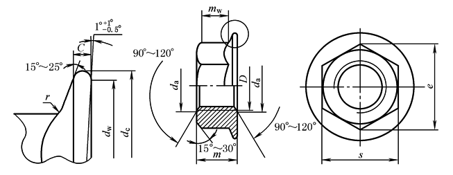
施必牢(SPL)六角法兰面螺母(SPL 6177.1—2004、SPL 6177.2—2004) mm |
|||||||||||||||||
|
|
|||||||||||||||||
|
标记示例 螺纹规格D=M12、性能等级8级、表面镀锌钝化(彩虹色)、等级为A级的六角法兰面螺母,标记为: 螺母 SPL 6177.1 M12 F3 螺纹规格D=M12×1.25、性能等级10级、表面氧化、等级为A级的六角法兰面螺母,标记为: 螺母 SPL 6177.2 M12×1.25-10 F9 |
|||||||||||||||||
|
螺纹规格D |
M5 |
M6 |
M8 |
M10 |
M12 |
M14 |
M16 |
M20 |
|||||||||
|
螺距P |
粗牙 |
0.8 |
1 |
1.25 |
1.5 |
1.75 |
2 |
2 |
2.5 |
||||||||
|
细牙 |
— |
— |
1 |
1.25(1) |
1.25(1.5) |
(1.5) |
1.5 |
1.5 |
|||||||||
|
C(最小) |
1 |
1.1 |
1.2 |
1.5 |
1.8 |
2.1 |
2.4 |
3 |
|||||||||
|
da |
最大 |
5.75 |
6.75 |
8.75 |
10.8 |
13 |
15.1 |
17.3 |
21.6 |
||||||||
|
最小 |
5 |
6 |
8 |
10 |
12 |
14 |
16 |
20 |
|||||||||
|
dw(最小) |
9.8 |
12.2 |
15.8 |
19.6 |
23.8 |
27.6 |
31.9 |
39.9 |
|||||||||
|
dc(最大) |
11.8 |
14.2 |
17.9 |
21.8 |
26 |
29.9 |
34.5 |
42.8 |
|||||||||
|
e(最小) |
8.79 |
11.05 |
14.38 |
16.64 |
20.03 |
23.36 |
26.75 |
32.95 |
|||||||||
|
m |
最大 |
5 |
6 |
8 |
10 |
12 |
14 |
16 |
20 |
||||||||
|
最小 |
4.7 |
5.7 |
7.64 |
9.64 |
11.57 |
13.3 |
15.3 |
18.7 |
|||||||||
|
mw(最小) |
2.5 |
3.1 |
4.6 |
5.6 |
6.8 |
7.7 |
8.9 |
10.7 |
|||||||||
|
s |
公称=最大 |
8 |
10 |
13 |
15 |
18 |
21 |
24 |
30 |
||||||||
|
最小 |
7.78 |
9.78 |
12.73 |
14.73 |
17.73 |
20.67 |
23.67 |
29.16 |
|||||||||
|
r(最大) |
0.3 |
0.4 |
0.5 |
0.6 |
0.7 |
0.9 |
1 |
1.2 |
|||||||||
|
每1000个的质量/kg |
0.0018 |
0.0036 |
0.0068 |
0.0112 |
0.019 |
0.029 |
0.046 |
0.08 |
|||||||||
|
技术条件 |
材料及性 能等级 |
钢 |
不锈钢 |
||||||||||||||
|
8 |
10 |
12 |
|||||||||||||||
|
粗牙 |
D≤16 |
1型 |
D>16 |
2型 |
1型 |
2型 |
A2-70 |
||||||||||
|
细牙 |
2型 |
1型 |
2型 |
D≤16:2型 |
|||||||||||||
|
螺纹标准 |
产品等级 |
表面处理 |
|||||||||||||||
|
美国施必牢螺纹标准 |
D≤16:A D>16:B |
钢:氧化、电镀,或由供需双方协议 不锈钢:简单处理 |
|||||||||||||||
|
注:1.括号内的规格尽量不要采用。如需其他规格与生产厂联系。 2.r适用于棱角和六角面。 |
|||||||||||||||||

