|
伸缩机构 |
|||||
|
图1,偏心环2偏心地(偏心距为e)与外管3固定在一起。偏心套1活套在偏心环2上,且上下二端卷边包住环2(但不影响1、2间相对转动),套1的上端只须稍稍卷边,其下端卷边后的端面孔与外管3同心,孔径稍大于内管4外径。当旋转偏心套1时,内管随偏心套1下端面孔偏摆与外管楔紧实现连接 图2,内伸缩套1上固定有弹簧片2,销钉3固定在弹簧片上,在外伸缩套4上有定距孔5,调节销钉3使其在不同位置的孔中以实现伸缩 |
|||||
|
图1 偏心套伸缩管 |
图2 销钉伸缩套 |
||||
|
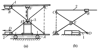
图3a,长度相等的支撑杆AB和DC,彼此铰接于中点E,滚轮1、2与支撑杆铰接于B、D点,可在上下平板的导槽中滚动,汽缸下部与下平板固联,活塞杆上部以球形头与上平面球窝于F点接触。通过升降汽缸3可使上平台垂直升降。这类剪式伸缩机构均为平行四边形机构的变形 图3b,长度相等的支撑杆A、B和C、D,铰接于中点E,杆的B、D端分别与滑块及活塞杆1铰接,卧式油缸的活塞杆1使平台2垂直升降 |
图3 剪式升降平台 |
||||
|
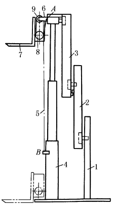
图4,为由多个平行四边形铰接而成的剪式架,杆1上端与A铰接,杆2下端铰接滚子B可在垂直的导槽中滚动,伸缩架的右上端C与件3铰接,右下端滚子D紧贴件3的垂直面,并可上下滚动。这样,件3可在水平方向来回移动。这种多个平行四边形伸缩架能获得较大的伸缩行程 垂直升降的检修平台和仓库用升降台均应用了这种伸缩机构 图5,平行四边形机构ABCD用油缸驱动,活塞杆1的伸缩使平台2平移升降 图6,齿轮1、2、3、6、7彼此啮合,其中心分别与转臂4、5铰接,齿轮1为固定机架,齿轮1、2、3的节圆直径相等。当转臂4转动时,与齿轮2、3固联的平行杆8、9作平行升降运动 |
|||||
|
图4 大行程剪式伸缩架 |
图5 平移升降台 |
图6 齿轮传动的平行升降台 |
|||
|
图7,门架1、2、3借助多级油缸4伸缩,链条5的一端与链轮架6的A点固连,另一端绕过货叉7上的链轮8和链轮架6上的链轮9与油缸4的B点固联。当油缸的活塞杆外伸时,带动门架升高使货叉由最低位置升到最高位置。货叉7的导向架未在图中表示 图8,钢绳11的下端与滑架5的a点连接,另一端绕过固定架2上部的滑轮3与卷筒1缠绕,钢绳10的下端与滑架7的b点连接,另一端绕过滑架5上部的滑轮4与固定架2的d点连接,钢绳9的下端与滑架8的C点连接,另一端绕过滑架7上部的滑轮6与滑架5的e点连接。当顺时针方向转动卷筒1时,三个滑架同时外伸。反之,则同时缩回 图9,为自动伞伸缩机构。中间伞杆由可伸缩的数节组成,利用弹簧将伞自动打开。压缩弹簧时伞架折叠缩短 |
|||||
|
图7 叉车三级门架伸缩机构 |
图8 钢绳联动伸缩架 |
图9 自动伞伸缩机构 |
|||
|
图10,卷筒1上缠有两根钢绳,分别通过两侧滑轮a、b、c、d、e与上平台5连接,图中左侧是平台降下位置,右侧是平台升起位置
图10 钢绳联动升降平台 图11,为汽车升降平台,通过油缸使升降平台升降。图11a为剪式垂直升降台;图11b为折展臂式升降台 |
|||||
|
图11 汽车升降平台 |
|||||
|
图12,转动插入螺旋头4的扳手,驱使螺旋5转动,于是螺母6开始沿螺旋轴线移动,使杠杆系1、2和3合拢或分开,从而使重物上升或下降。为了使杠杆系分合均等,杠杆1和3分别啮合。这种型式的千斤顶的特点是螺旋承受拉伸 |
|||||
|
图12 汽车千斤顶 |
|||||












