|
差动补偿机构 |
||||
|
图1,双联定滑轮1、2受拉力F作用时,通过动滑轮3吊起重物Q,拉力F为
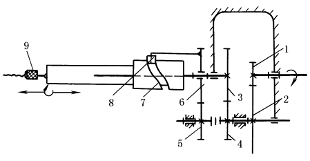
所以,两定滑轮半径差愈小,增力效果愈大;若使动滑轮3离定滑轮中心愈远,或使 图2,3为铣床主轴,2为心轴,若双螺旋1为导程不等的左螺旋,逆时针方向转动1,能紧固心轴2,顺时针方向转动1,则心轴2退出 |
||||
|
图1 增力差速滑轮 |
图2 铣刀心轴紧固机构 |
|||
|
图3,主动轴a与凸轮4固连,另一主动轴b与圆盘3固连,两主动件通过构件6、滑块5带动从动盘2转动(圆盘3用销7与6连接,凸轮4通过滚轮8与6接触),2的运动为主动件3、4的合成运动。1为机架,复杂构件6是凸轮4的从动件,用作连杆与滑叉。凸轮轮廓的设计对从动盘2的运动规律有重要影响
图3 凸轮连杆差动机构 图4,圆柱凸轮7上固定钻头9,7与齿轮3的轴用导键连接,齿轮4、5、6、3的齿数分别为23、21、31、34。当齿轮4、5用离合器接通时,轮1带动3、6作差速运动,钻头实现自动慢速进刀 轮6相对于轮3差一转所需时间为
式中 n4——齿轮4的转速,r/min
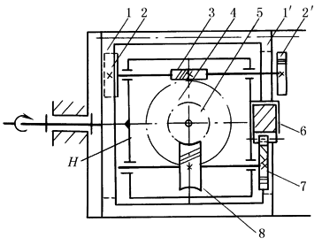
图4 差速凸轮机构 图5,双联内齿轮1-1' 周向固定,轴向可移,1-2-H组成行星轮系,蜗杆3、5和蜗轮4、8,齿轮7和齿条6均装在转臂H上。H主动时,齿条6作径向进刀运动。进给量
式中 r7—— 齿轮7的节圆半径; nH—— 转臂H的转速,r/min; z1~z8—— 各轮的齿数 适当选择各轮齿数,6可作微量进给运动。移动齿轮1使1' 和2' 啮合,则式中z1、z2换成z'1、z'2,可改变6的进给量
图5 镗刀头自动径向进给行星轮机构 |
||||
|
图6,行走轮1(内棘轮)空套在轮轴4上,六槽圆盘3用销5与轮轴联接,并用棘爪2与行走轮1联接,当行走轮逆时针方向转动时,带动轮轴转动,当行走轮顺时针方向转动时,轮在棘爪上滑过。轴4上有左右两轮,在转弯时,两轮转速不等形成差动。应用于以行走轮为主动的畜力割草机中 图7,是差动轮系将一个转动分解为两个转动的应用实例。汽车转弯时,为了保持左右两后轮在地上作纯滚动,两轮转速应不同,n4、n5与各自所走弯道的半径成正比,即
式中 r—— 转弯半径; L—— 两后轮轮距之半 同时,差动轮系n4、n5必须满足下式
当汽车直行时n4=n5=nx,此时,轮系3-4-5-x间无相对运动。当左轮在粗硬的路面上,而后轮陷于泥泞中时,左轮阻力甚大,相当于被刹住n4=0,右轮几乎没有阻力,可以自由转动,转速n5=2nx |
||||
|
图6 棘轮式差动装置 |
图7 汽车差速器 |
|||
|
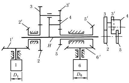
图8,太阳轮2、5,行星轮3、3'、4和系杆H组成差动轮系。轮2与卷布辊1之间通过锥齿轮2'、1' 直接传动,轮5与卷布辊6之间通过锥齿轮5'、6' 直接传动。各轮齿数为z'1=z'6=42,z'2=z'5=13,z2=z3=z'3=z4=z5=24。系杆H为主动件,太阳轮2、5为从动件,主、从动件之间转速nH、n2、n5的关系为:n2+n5=2nH。两卷布辊表面线速度相等,附加张力约束条件,则该机构运动确定,织物以近似恒速、恒张力通过染槽,使织物染色深浅尽可能一致 图9,是差动轮系将两个转动合成一个转动的应用实例。若带轮直径Da=Db=Dc=100mm,Dd=500mm,齿数z1=18,z2=24,z'2=21,z3=63,则
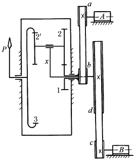
当两涡轮机A、B转速相等(同步)时,n3=0,固定在轮3上的指针P不动;当nB>nA时,n3为“+”,指针与涡轮机转向相同;当nB<nA时,n3为“-”,指针与涡轮机转向相反。知道转差后就可调整给汽量,实现涡轮机同步。可见,差动轮系既可进行运动分解,也可实现运动合成。在Y38滚齿机等齿轮机床中,广泛地应用着运动合成的差动轮系 |
||||
|
图8 卷染机卷布辊用差动机构 |
图9 同步转速仪 |
|||
|
图10,为滚齿机工作台的运动误差补偿机构。工作台2、蜗轮3、凸轮4固联在轴Ⅱ上。加工时,工作台2和滚刀(未示出)间应保持严格的运动关系。但由于蜗轮3的制造、安装误差,而使工作台与滚刀间有运动误差,图中通过用凸轮4的廓线给蜗轮3以附加运动来进行误差补偿。凸轮4的廓线是根据蜗轮3的实测误差设计的 图中主运动由轴Ⅰ输入,然后分为二路:一路经锥齿轮10带动滚刀转动(图中略);一路经锥齿轮10、12、13、9、H、8、7传至蜗轮3。附加运动则由凸轮4、齿条5、齿轮6传至锥齿轮14。再经锥齿轮13、9、14及转臂H组成的差动轮系,加到轴Ⅱ上
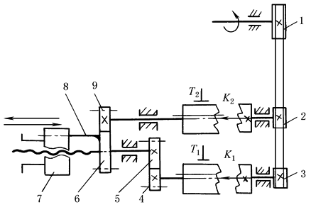
图10 凸轮分度误差补偿机构 图11,主动带轮1和从动带轮2、3用一条皮带张紧作同向转动。齿轮6和螺母7用滑键8相联,两者可同时转动又作相对移动 制动器T2制动,离合器K2断开,T1松开,K1接通,即9不动,4转动,则丝杆推动7快速进给(7不转);若保持T1开、K1通,再使T2开,K2通(即9、4同时转动),则螺母7与丝杆同向转动,得到慢速进给;然后保持T2开,K2通,而使T1制动、K1开,则丝杆不动,螺母转动并快速退回。若使电机反转,T2制动、T1开,K2开、K1通,则螺母可不转而达到快速退回 |
||||
|
图11 快慢速进退的差动螺旋机构 |
||||
|
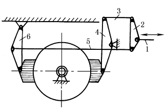
图12,刹车时,将操作杆1向右拉,使杆4、6上的闸瓦均衡施力于车轮,轮轴上不受附加的刹车力 如图13所示,通过拧紧或松开左边螺母,可实现多工件的夹紧或松开 |
||||
|
图12 单轮刹车装置 |
图13 多工件夹紧装置 |
|||
|
图14,主动轴1的轴心为O,从动轴2的轴心为O',连杆5、6和从动轴2及滑块3、4分别铰接于A、B、C、D,组成差动机构,再用齿轮啮合封闭,工作中当O与O' 的相对位置发生变化(即偏心距e发生变化)可自动补偿,不影响运动的传递 |
||||
|
图14 位置偏差补偿机构 |
||||














