|
换向机构 |
|||
|
图(1)中,主动轮1与从动轮4间装有惰轮2和3,2与3装在三角形支承架H上,H可绕轴O4转动。H位于Ⅰ时(图中实线所示,1与2,2与3,3与4啮合)各轮转向如图示;H位于Ⅲ时(图中双点划线所示,1与3,3与4啮合),轮4换向;H位于Ⅱ时(2、3均不与1、4啮合),轮4不转。换向杆h必须有良好的固定,因H上受的力矩有使其转变方向的趋势。 图(2)与图(1)原理相同,但多一个惰轮,可减小主、从动轮的中心距,没有使换向杆h改变方向的力矩。 |
|||
|
图(1)三星轮换向机构 |
图(2)三惰轮换向机构 |
||
|
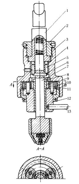
下图所示的攻丝工具的拨销换向机构中,锥柄1和套筒体3用螺母2压紧,靠接触面的摩擦力带动3转动。带有拨销5的套筒4用紧定螺钉与3固结。锥柄1向下移动到丝维接触工件时,攻丝头轴7上的销子6插入销子5之间,攻丝头与锥柄同速转动。攻丝完毕时,6自动与销子5脱离接触,若将锥柄1向上抬起,则7借压缩弹簧的作用力使销6进入中心齿轮9上的销槽8中;此时,若使13被挡住不动,则固结在3上的内齿轮11通过三个小齿轮10和齿轮9带动轴7快速反向转动,将丝锥退出工件。这种装置的特点是整个工作过程中,锥柄既不需反转,又能使攻丝头慢速攻丝、快速退出,并且结构简单,制造、操作方便。 |
|||
|
拨销换向机构 |
|||
|
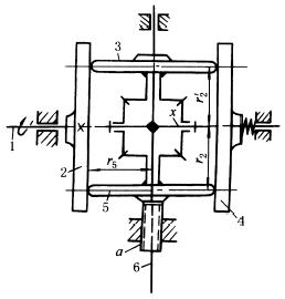
图(3)中,主动轴1和从动轴7上分别空套有刹车轮5和6,齿轮2、3、4为三联齿轮,套在和轮6固连的系杆x上。刹住轮6时,系统是定轴轮系,按1-3-4-7传动,轴7与轴1同向转动;刹住轮5时,轴1通过有同一转臂x的两个行星轮系1-3-2-5和5-2-4-7使轴7转动,这时轴7的转速为:
当z3z5>z1z2或z4z5>z2z7时,轴7的转向与轴1相反,这时,只要变换刹车轮即可换向变速,而不需停车。 图(4)为履带式水稻收割机的转向装置。1为主动齿轮,5为从动链轮,6是制动器,7为可转动架体,8为摩擦离合器。当离合器8接通(n1=n7),制动器6松开时,5与1等速同向转动。 |
|||
|
图(3)行星式换向变速机构 |
图(4)行星齿轮换向机构 |
||
|
图(5)中,固连于主动轮1的摩擦盘2,使摩擦盘3和5以相反的方向转动,再通过锥齿轮差动轮系使轴6转动(轴6与差动轮系的系杆x固连),轴6的转速为:
调节螺杆a使整个锥齿轮差动轮系上升或下降,以改变r2和r'2的尺寸,如式中r2>r'2,轴6与盘5转向相同,否则相反。 图(6)原理同图(5),但换向的同时,速比也发生变化。隔不久 |
|||
|
图(5)差动换向机构 |
图(6)换向变速机构 |
||
|
图(7)中,主动锥齿轮1与空套在轴6上的锥齿轮2、5啮合,通过离合器3(用滑键与轴6联接)将运动传递到从动锥齿轮8。当离合器3在右边时,按1-5-3-6-8传动,锥齿轮8作顺时针方向转动。当8上的销子a到达虚线位置时,推动杆7(空套在轮8的轴上)并使杆4顺时针方向转动,当杆4偏移至O点左侧,弹簧拉动离合器3至左边,此时,按1-2-3-6-8传动,轮8作逆时针方向转动,销子a从左边推动杆7,实现周期性自动换向。 |
图(7)往复转动自动换向机构 |
||
|
下图中,卷筒轴上的锥齿轮通过万向联轴器带动导绳装置的输入锥齿轮1,拨叉4处于中间位置时锥齿轮2、3反向空转。拨叉固定在竖轴5上,竖轴5与摆杆6固连,摆杆两端用串联碟形弹簧7压紧,拨叉在中间位置时牙嵌离合器9与两边锥齿轮2和3之间有相等的少量间隙,此时两弹簧和摆杆6处于一直线上。使用前调整好导向滑轮12与卷筒上钢丝绳的相互位置,并使摆杆6朝某一方向偏离(按图示滑轮与钢绳的位置,4应向右偏)从而推动拨环8并带动离合器9,使其与锥齿轮2(或3)啮合,螺杆11被带动旋转,从而带动滑轮12作轴向移动。当滑轮到达左端并被挡板10挡住,阻力矩增大,通过锥齿轮2与离合器间的啮合斜面相互作用,克服弹簧反力矩使摆杆6(或4)向左摆动,离合器脱开并自动与对面锥齿轮3啮合,螺杆11反向旋转,导轮12反向移动,如此自动往复完成钢绳多层缠绕。 |
|||
|
卷筒多层缠绕导绳机构 |
|||
|
图(8)中,棘爪2在实线位置时,摆杆1带动棘轮3作顺时针方向转动,棘爪在虚线位置时,棘轮作逆时针方向转动。 图(9)中,杆4、6与齿轮5固连,杆3与齿轮2固连,两齿轮啮合,当轮1绕固定中心O顺时针方向转动时,轮1上的销a推动杆3转动,并带动两齿轮2、5绕各自的固定中心O2、O5转动,使3、4、6分别转动到双点划线位置。接着销a推动杆4,使从动杆6换向。这样循环下去,轮1每转一圈,从动杆6往复摆动180°。 |
|||
|
图(8)棘轮换向机构 |
图(9)摆动自动换向机构 |
||












