|
气、液驱动机构 |
|||
|
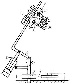
下图中,为使凿岩机8在巷道断面的各个方位均能打眼,采用了由两个油缸控制的托架摆动机构。 凿岩机8打眼时,先将立柱2固定(通过气压千斤顶顶在坑道顶板上),当油缸5的活塞杆伸缩时,可使摇臂6绕E转动,并可停在α角内的任一位置,摆臂7上A、B点分别在轨迹AA1A2A' 与立柱2上占有相应位置(如A1O1B1,A2O2B2),AB位置固定后,油缸4的活塞杆可使托架1绕A点转动,并可在β角范围内任一位置停住(如AK或AK'",A'K' 或A'K"),使凿岩机8进行打眼。通过油缸4、5配合动作,可使凿岩机在坑道横断面内的三向任意方位进行打眼。 |
|||
|
凿岩台车液压托架(叠形架)摆动机构 |
|||
|
图(1)中,当供料机构处于实线位置时,铸锭6自加热炉进入盛料器4,由水压缸1的推动,机构转至位置AB'C 'D,盛料器4翻转180°,铸锭被卸在升降台7上。此双摇杆机构也用于振动造型机的翻台机构。 图(2)中,摆动气缸1的活塞杆通过连杆带动杆2上下运动,完成顶箱动作。 |
|||
|
图(1)铸锭供料机构 |
图(2)造型机的顶箱机构 |
||
|
图(3)中,卷筒1是由数个围绕筒体2圆周的平行四边形机构ABCD的连杆BC组成,这些平行四边形机构的A、D与筒体2铰接。当活塞杆4向右运动时,通过连杆BE使AB、DC向右摆动,此时,卷筒1外径缩小,装上金属带卷;当活塞杆4向左运动时,AB、DC向左摆动,卷筒1外径胀大,将已装上的带卷张紧,以便松带。松带时,为使带材保持一定的拉力,利用制动器3造成一定的滑动摩擦阻力(松带时,金属带由其他装置拖动,图中未示出)。此机构在金属轧材厂的退火电炉上有应用。 图(4)中,气缸的活塞杆1通过连杆4带动闸门5开或关。实线所示位置为闸门关闭状态,此时,C点稍越过BD连线,处于上方位置,使具有自锁作用。即将关闭时,杆3、4趋近直线,有很大的增力作用,使闸门关紧。2为限位挡块。双点划线表示闸门开启状态。 |
|||
|
图(3)卷筒胀缩机构 |
图(4)平板式气动闸门机构 |
||
|
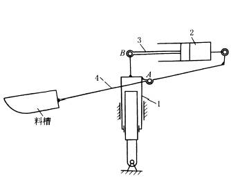
图(5)中,油缸的活塞杆1带动齿条2和齿轮3,使立轴4转动。活塞杆5使弯臂6抬起或下降。活塞杆7使互相啮合的齿轮8、9反向转动,以夹紧或松开工件10。 图(6)中,料槽杆4与油缸1的A点铰接,当油缸1不动,油缸2动作时,可使料槽绕A点摆动;当油缸2不动,而油缸1动作时,则料槽平行升降。两油缸协调动作,可使料槽得到所需的复合运动。 |
|||
|
图(5)多油缸驱动的机械手抓取机构 |
图(6)装料槽的升降摆动机构 |
||
|
右图中,推进器支架5与摆臂3在H铰接,摆臂3用油缸1驱动使其绕C转动。油缸2、4直径相等并分别在E、F、G与3、5铰接,二者充满油,用油管6、7连通。当油缸1使3向下转动时,油缸2中的油经油管6流入油缸4的上方,使支架5绕H逆时针方向转动保持5的水平位置。3向上转动时,油缸2中的油经油管7流入油缸4的下方,使支架5顺时针方向转动仍保持5的水平位置。为了使3转动时,5能保持水平,铰接点C、D、E间和F、G、H间的位置关系应计算确定。 |
凿岩机推进器支架平行升降机构 |
||
|
下图中a为正铲挖掘机的挖掘机构。图b为反铲挖掘机的挖掘机构。上二机构分别由大臂1、小臂2和铲斗3组成,由三个油缸驱动,能自由伸屈,便于向不同高度挖掘和卸载。图c为图a的机构简图。图d、e、f为装载机的装载机构,分别用两个油缸驱动。 |
|||
|
动臂屈伸液压、驱动机构 |
|||
|
下图中,弯杆3、7的下端分别和活塞杆2,支承9铰接,而上端和连杆6铰接,二弯杆上的A1、A2与钳杆装置8铰接,弯杆3上B点与油缸4铰接,8上的D点与活塞杆5铰接。支杆9通过撑杆10保持图示位置(弹簧起缓冲作用)。分析机构运动时,O2可看成与机架的铰接点。动作从以下两种情况分别说明。 图a,当油缸1的活塞杆2不动(停止进排油),即O1点固定,此时若油缸4进油,使活塞杆5缩回,则机构位置相应运动到双点划线位置。即钳杆装置平行地下降到A'1D'A'2位置。 图b,当油缸4停止进排油,即BD长度保持不变,此时A1C1C2A2是固定的平行四边形,O1A1C1C2A2O2相当于一个构件,油缸1进油其活塞杆缩回时(设原来活塞杆是伸出状态),则钳杆装置绕O2转动一个角度,如实线位置A"1D"A2"。 工作中可通过两个油缸同时进排油来达到具体需要的位置。 |
|||
|
铸造操作机的钳杆升降机构 |
|||
|
下图a为大型挖掘机步行机构。由推进油缸1、升举油缸2和靴座3共同铰接于A处组成。步行动作如下:①两油缸柱塞杆缩回,将靴座3悬起;②推进油缸1柱塞杆伸出,使靴座右移并放下;③升举油缸2柱塞杆伸出使靴座紧压土壤,并迫使挖掘机机体升起斜支在土壤上;④推进油缸1柱塞杆缩回,从而拉动挖掘机向右移动一步。至此,完成一循环,往后,重复上述循环。 图b为巨型移动式设备的步行机构。步行机构由三个竖向油缸1和三个横向油缸2与T形履板4、机座3铰接而成。步行动作如下:①右端两个油缸2的柱塞杆缩回,将悬挂的履板4向右拉;②三个油缸1的柱塞杆伸出,将履板4放下,并将机座3举高离地h;③右端两个油缸2柱塞杆伸出,将升举的机座向右推移一步;④三个油缸1的柱塞杆缩回,放下机座并提起履板,至此,完成一个循环。往后,重复上述循环。如需要转向,由三个横向油缸协同动作,使T形履板在平面上转动一个角度即可。这一步行机构应用于移动式破碎机组等巨型设备上,移动总重可达250t或更大。 |
|||
|
液压柱塞铰接式步行机构 |
|||











