|
应用举例——静电轴承陀螺仪 |
|
|
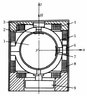
静电轴承陀螺仪是最重要的静电轴承应用实例,静电轴承陀螺仪结构如图所示。主要由下列几部分组成 |
|
|
①球形转子 有空心薄壁球和实心球两种结构。空心球的典型外径为50mm或38mm,壁厚为0.4~0.6mm,在赤道处加厚,使极轴成为惟一稳定的惯量主轴。通常采用铍材料制成半球,由真空电子束焊成球形,然后在专用设备上精研,使球度误差小于0.2μm,表面粗糙度参数Ra<0.05~0.012μm。实心球的典型外径为10mm,球度误差小于0.05μm ②壳体与电极 通常采用氧化铝(Al2O3)或氧化钡(BeO)陶瓷材料制成密闭球腔,球腔内壁镀上电极,电极有6块、8块和12块等几种。电极腔和转子之间隙约为50~100μm ③光电角度传感器 用来检测静电陀螺仪壳体相对于自转轴的角度,在极轴方向和赤道上各装一只 ④钛离子泵 用来吸收球腔内的残余气体分子,以保证静电陀螺仪陶瓷腔体内的真空度不低于0.133×10-3Pa ⑤旋转线圈和力矩器 在陶瓷壳体外部安装按正六面体分布的三对线圈,它们产生的磁场相互正交。转子自转方向为z轴,在x轴和y轴方向的线圈中通以两相交流电,就会产生一个z轴方向的旋转磁场,使转子转动。给x、y、z三个线圈分别通以直流电,用三个直流磁场可以控制动量矩向量的运动 通常,静电陀螺仪的漂移误差为10-6(°)/h,为其他类型轴承支承的陀螺仪的1/1000,在失重低温状态下,最精密的静电轴承支承的陀螺仪,预期其漂移误差可小到10-3(")/a |
静电轴承陀螺仪结构 1—转子;2—顶端刻线;3—顶端光电传感器; 4—阻尼线圈;5—陶瓷电极;6—侧向光电传感器; 7—侧向刻线;8—旋转线圈;9—钛离子泵 |

