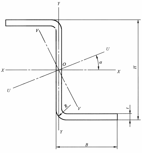
冷弯Z形钢的基本尺寸与主要参数(GB/T 6723—2017) | |||||||||||||||||||||||||||||||||||||
|
| ||||||||||||||||||||||||||||||||||||
名 称 | 尺寸/mm | 理论 重量 /(kg/m) | 截面 面积 /cm2 | 惯性矩/cm4 | 回转 半径 /cm | 惯性积矩 /cm4 | 截面系数 /cm3 | 角度 | |||||||||||||||||||||||||||||
H×B×C×t | H | B | t | Ix | Iy | Iu | Iv | rv | Ixy | Wx | Wy | tanα | |||||||||||||||||||||||||
80×40×2.5 | 80 | 40 | 2.5 | 2.947 | 3.755 | 37.021 | 9.707 | 43.307 | 3.421 | 0.954 | 14.532 | 9.255 | 2.505 | 0.432 | |||||||||||||||||||||||
80×40×3.0 | 3.0 | 3.491 | 4.447 | 43.148 | 11.429 | 50.606 | 3.970 | 0.944 | 17.094 | 10.787 | 2.968 | 0.436 | |||||||||||||||||||||||||
100×50×2.5 | 100 | 50 | 2.5 | 3.732 | 4.755 | 74.429 | 19.321 | 86.840 | 6.910 | 1.205 | 28.947 | 14.885 | 3.963 | 0.428 | |||||||||||||||||||||||
100×50×3.0 | 3.0 | 4.433 | 5.647 | 87.275 | 22.837 | 102.038 | 8.073 | 1.195 | 34.194 | 17.455 | 4.708 | 0.431 | |||||||||||||||||||||||||
140×70×3.0 | 140 | 70 | 3.0 | 6.291 | 8.065 | 249.769 | 64.316 | 290.867 | 23.218 | 1.697 | 96.492 | 35.681 | 9.389 | 0.426 | |||||||||||||||||||||||
140×70×4.0 | 4.0 | 8.272 | 10.605 | 322.421 | 83.925 | 376.599 | 29.747 | 1.675 | 125.922 | 46.061 | 12.342 | 0.430 | |||||||||||||||||||||||||
200×100×3.0 | 200 | 100 | 3.0 | 9.099 | 11.665 | 749.379 | 191.180 | 870.468 | 70.091 | 2.451 | 286.800 | 74.938 | 19.409 | 0.422 | |||||||||||||||||||||||
200×100×4.0 | 4.0 | 12.016 | 15.405 | 977.164 | 251.093 | 1137.292 | 90.965 | 2.430 | 376.703 | 97.716 | 25.622 | 0.425 | |||||||||||||||||||||||||
300×120×4.0 | 300 | 120 | 4.0 | 16.384 | 21.005 | 2871.420 | 438.304 | 3124.579 | 185.144 | 2.969 | 824.655 | 191.428 | 37.144 | 0.307 | |||||||||||||||||||||||
300×120×5.0 | 5.0 | 20.251 | 25.963 | 3506.942 | 541.080 | 3823.534 | 224.489 | 2.940 | 1019.410 | 233.796 | 46.049 | 0.311 | |||||||||||||||||||||||||
400×150×6.0 | 400 | 150 | 6.0 | 31.595 | 40.507 | 9598.705 | 1271.376 | 10321.169 | 548.912 | 3.681 | 2556.980 | 479.935 | 86.488 | 0.283 | |||||||||||||||||||||||
400×150×8.0 | 8.0 | 41.611 | 53.347 | 12449.116 | 1661.661 | 13404.115 | 706.662 | 3.640 | 3348.736 | 622.456 | 113.812 | 0.285 | |||||||||||||||||||||||||

