|
扩口式过板弯通管接头和接头体尺寸(摘自GB/T 5644—2008) mm |
|||||||||||||||||
|
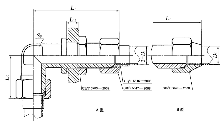
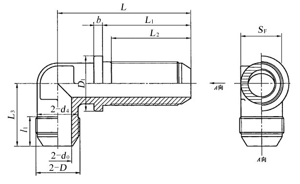
图1 扩口式过板弯通管接头
图2 扩口式过板弯通接头体
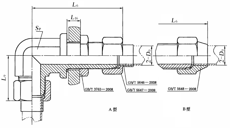
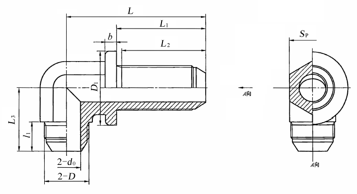
图3 扩口式过板弯通管接头
图4 扩口式过板弯通接头体 标记示例 扩口型式A,管子外径为10 mm,表面镀锌处理的钢制扩口式过板弯通管接头标记为: 管接头 GB/T 5644 A10 扩口型式A,管子外径为10 mm,表面镀锌处理的钢制扩口式过板弯通接头体标记为: 接头体 GB/T 5644 A10 |
|||||||||||||||||
|
管子外径 D0 |
d0 |
D |
d4 |
L6≈ |
L9≈ |
l1 |
L |
Ll |
L2 |
L3 |
L16 max |
D1 |
b |
S |
|||
|
A型 |
B型 |
A型 |
B型 |
SF |
SP |
||||||||||||
|
4 |
3 |
M10×1 |
8 |
56 |
— |
25.5 |
30 |
9.5 |
46 |
34 |
31 |
20.5 |
20.5 |
14 |
3 |
8 |
10 |
|
5 |
3.5 |
60.5 |
|||||||||||||||
|
6 |
4 |
M12×1.5 |
10 |
63.5 |
68.5 |
29.5 |
34.5 |
12 |
52 |
38 |
34 |
24 |
21.5 |
17 |
10 |
12 |
|
|
8 |
6 |
M14×1.5 |
11 |
69.5 |
77 |
35.5 |
43 |
13.5 |
56 |
40 |
35.5 |
28.5 |
19 |
4 |
12 |
14 |
|
|
10 |
8 |
M16×1.5 |
13 |
71.5 |
80.5 |
37.5 |
46.5 |
14.5 |
58 |
41 |
36.5 |
30.5 |
21 |
14 |
17 |
||
|
12 |
10 |
M18×1.5 |
15 |
75 |
86.5 |
38 |
49.5 |
62 |
43 |
38.5 |
31.5 |
23.5 |
23 |
17 |
19 |
||
|
14 |
12 |
M22×1.5 |
19 |
75.5 |
91 |
39.5 |
55 |
15 |
64 |
44 |
39.5 |
34 |
24.5 |
27 |
19 |
22 |
|
|
16 |
14 |
M24×1.5 |
21 |
73 |
95 |
41.5 |
57.5 |
15.5 |
67 |
45 |
40.5 |
35.5 |
25 |
29 |
22 |
24 |
|
|
18 |
15 |
M27×1.5 |
24 |
83 |
103 |
43 |
63 |
16 |
72 |
48 |
43.5 |
37.5 |
28 |
32 |
24 |
27 |
|
|
20 |
17 |
M30×2 |
27 |
84.5 |
— |
50 |
— |
20 |
78 |
53 |
47 |
43 |
28.5 |
35 |
5 |
27 |
30 |
|
22 |
19 |
M33×2 |
30 |
96.5 |
— |
53 |
— |
82 |
55 |
49 |
45.5 |
29.5 |
39 |
30 |
34 |
||
|
25 |
22 |
M36×2 |
33 |
102 |
— |
55 |
— |
86 |
56 |
50 |
47 |
30 |
42 |
34 |
36 |
||
|
28 |
24 |
M39×2 |
36 |
105 |
— |
58.5 |
— |
21.5 |
88 |
58 |
52 |
50 |
30.5 |
45 |
36 |
41 |
|
|
32 |
27 |
M42×2 |
39 |
112 |
— |
61 |
— |
22.5 |
95 |
59 |
53 |
52.5 |
48 |
41 |
46 |
||
|
34 |
30 |
M45×2 |
42 |
113.5 |
— |
62.5 |
— |
96 |
60 |
54 |
54 |
31 |
51 |
46 |
|||




