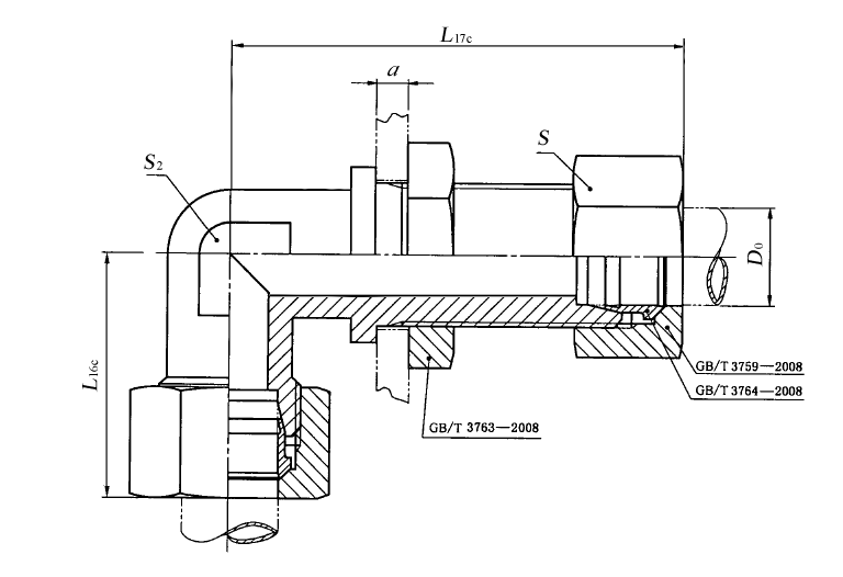
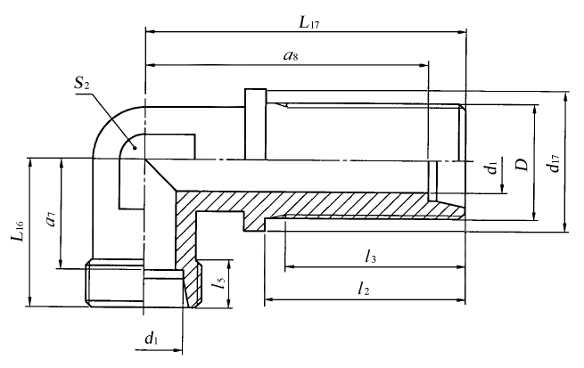
卡套式过板弯通管接头和接头体尺寸(摘自GB/T 3749—2008) mm | ||||||||||||||||
图1 卡套式过板弯通管接头
注:ɑ≤mm。 图2 卡套式过板弯通接头体 标记示例 接头系列为L,管子外径为10 mm,表面镀锌处理的钢制卡套式过板弯通管接头标记为: 管接头 GB/T 3749 L10 接头系列为L,管子外径为10 mm,表面镀锌处理的钢制卡套式过板弯通接头体标记为: 接头体 GB/T 3749 L10 | ||||||||||||||||
系列 | 最大工作压力 /MPa | 管子外径 D0 | D | dl 参考 | d17 ±0.2 | l2 ±0.2 | l3 min | l5 min | L16 ±0.3 | L16c ≈ | L17 ±0.3 | Ll7c ≈ | a7 参考 | a8 参考 | S | S2 |
L | 25 | 6 | M12×1.5 | 4 | 17 | 34 | 30 | 7 | 19 | 27 | 48 | 56 | 12 | 41 | 14 | 12 |
8 | M14×1.5 | 6 | 19 | 34 | 30 | 7 | 21 | 29 | 51 | 59 | 14 | 44 | 17 | 12 | ||
10 | M16×1.5 | 8 | 22 | 35 | 31 | 8 | 22 | 30 | 53 | 61 | 15 | 46 | 19 | 14 | ||
12 | M18×1.5 | 10 | 24 | 36 | 32 | 8 | 24 | 32 | 56 | 64 | 17 | 49 | 22 | 17 | ||
(14) | M20×1.5 | 11 | 27 | 37 | 33 | 8 | 25 | 33 | 57 | 65 | 18 | 50 | 24 | 19 | ||
15 | M22×1.5 | 12 | 27 | 38 | 34 | 9 | 28 | 36 | 61 | 69 | 21 | 54 | 27 | 19 | ||
(16) | M24×1.5 | 14 | 30 | 38 | 34 | 9 | 30 | 39 | 62 | 71 | 22.5 | 54.5 | 30 | 22 | ||
16 | 18 | M26×1.5 | 15 | 32 | 40 | 36 | 9 | 31 | 40 | 64 | 73 | 23.5 | 56.5 | 32 | 24 | |
22 | M30×2 | 19 | 36 | 42 | 37 | 10 | 35 | 44 | 72 | 81 | 27.5 | 64.5 | 36 | 27 | ||
10 | 28 | M36×2 | 24 | 42 | 43 | 38 | 10 | 38 | 47 | 77 | 86 | 30.5 | 69.5 | 41 | 36 | |
35 | M45×2 | 30 | 50 | 47 | 42 | 12 | 45 | 56 | 86 | 97 | 34.5 | 75.5 | 50 | 41 | ||
42 | M52×2 | 36 | 60 | 47 | 42 | 12 | 51 | 63 | 90 | 102 | 40 | 79 | 60 | 50 | ||
S | 63 | 6 | M14×1.5 | 4 | 19 | 36 | 32 | 9 | 23 | 31 | 53 | 61 | 16 | 46 | 17 | 12 |
8 | M16×1.5 | 5 | 22 | 36 | 32 | 9 | 24 | 32 | 54 | 62 | 17 | 47 | 19 | 14 | ||
10 | M18×1.5 | 7 | 24 | 37 | 33 | 9 | 25 | 34 | 57 | 66 | 17.5 | 49.5 | 22 | 17 | ||
12 | M20×1.5 | 8 | 27 | 38 | 34 | 9 | 26 | 35 | 59 | 68 | 18.5 | 51.5 | 24 | 17 | ||
(14) | M22×1.5 | 9 | 27 | 39 | 35 | 10 | 29 | 38 | 62 | 71 | 21.5 | 54.5 | 27 | 22 | ||
40 | 16 | M24×1.5 | 12 | 30 | 40 | 36 | 11 | 33 | 43 | 64 | 74 | 24.5 | 55.5 | 30 | 24 | |
20 | M30×2 | 16 | 36 | 44 | 39 | 12 | 37 | 48 | 74 | 85 | 26.5 | 63.5 | 36 | 27 | ||
25 | M36×2 | 20 | 42 | 47 | 42 | 14 | 45 | 57 | 81 | 93 | 33 | 69 | 46 | 36 | ||
25 | 30 | M42×2 | 25 | 50 | 51 | 46 | 16 | 49 | 62 | 90 | 103 | 35.5 | 76.5 | 50 | 41 | |
38 | M52×2 | 32 | 60 | 53 | 48 | 18 | 57 | 72 | 96 | 111 | 41 | 80 | 60 | 50 | ||
注:尽可能不采用括号内的规格。 | ||||||||||||||||


