|
卡套式过板直通管接头和接头体尺寸(摘自GB/T 3748—2008) mm |
|||||||||||
|
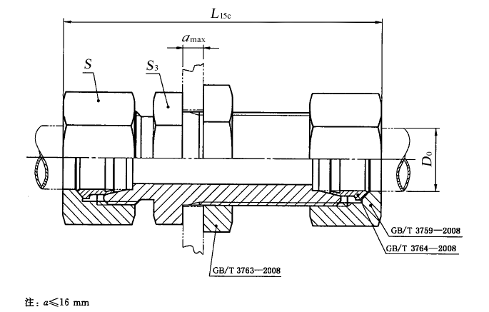
图1 卡套式过板直通管接头
图2 卡套式过板直通接头体 标记示例 接头系列为L,管子外径为10 mm,表面镀锌处理的钢制卡套式过板直通管接头标记为: 管接头 GB/T 3748 L10 接头系列为L,管子外径为10 mm,表面镀锌处理的钢制卡套式过板直通接头体标记为: 接头体 GB/T 3748 L10 |
|||||||||||
|
系列 |
最大工作压力 /MPa |
管子外径 D0 |
D |
dl 参考 |
l2 ±0.2 |
l3 min |
L15 ±0.3 |
L15c ≈ |
S
|
S3
|
a6 参考 |
|
L |
25 |
6 |
M12×1.5 |
4 |
34 |
30 |
48 |
64 |
14 |
17 |
34 |
|
8 |
M14×1.5 |
6 |
34 |
30 |
49 |
65 |
17 |
19 |
35 |
||
|
10 |
M16×1.5 |
8 |
35 |
31 |
51 |
67 |
19 |
22 |
37 |
||
|
12 |
M18×1.5 |
10 |
36 |
32 |
53 |
69 |
22 |
24 |
39 |
||
|
(14) |
M20×1.5 |
11 |
37 |
33 |
54 |
70 |
24 |
27 |
40 |
||
|
15 |
M22×1.5 |
12 |
38 |
34 |
56 |
72 |
27 |
27 |
42 |
||
|
(16) |
M24×1.5 |
14 |
38 |
34 |
57 |
75 |
30 |
30 |
42 |
||
|
16 |
18 |
M26×1.5 |
15 |
40 |
36 |
59 |
77 |
32 |
32 |
44 |
|
|
22 |
M30×2 |
19 |
42 |
37 |
63 |
81 |
36 |
36 |
48 |
||
|
10 |
28 |
M36×2 |
24 |
43 |
38 |
65 |
83 |
41 |
41 |
50 |
|
|
35 |
M45×2 |
30 |
47 |
42 |
72 |
94 |
50 |
50 |
51 |
||
|
42 |
M52×2 |
36 |
47 |
42 |
74 |
98 |
60 |
60 |
52 |
||
|
S |
63 |
6 |
M14×1.5 |
4 |
36 |
32 |
54 |
70 |
17 |
19 |
40 |
|
8 |
M16×1.5 |
5 |
36 |
32 |
56 |
72 |
19 |
22 |
42 |
||
|
10 |
M18×l.5 |
7 |
37 |
33 |
57 |
75 |
22 |
24 |
42 |
||
|
12 |
M20×1.5 |
8 |
38 |
34 |
60 |
78 |
24 |
27 |
45 |
||
|
(14) |
M22×1.5 |
9 |
39 |
35 |
62 |
80 |
27 |
27 |
47 |
||
|
40 |
16 |
M24×1.5 |
12 |
40 |
36 |
64 |
84 |
30 |
32 |
47 |
|
|
20 |
M30×2 |
16 |
44 |
39 |
72 |
94 |
36 |
41 |
51 |
||
|
25 |
M36×2 |
20 |
47 |
42 |
79 |
103 |
46 |
46 |
55 |
||
|
25 |
30 |
M42×2 |
25 |
51 |
46 |
85 |
111 |
50 |
50 |
58 |
|
|
38 |
M52×2 |
32 |
53 |
48 |
92 |
122 |
60 |
65 |
60 |
||
|
注:尽量不采用括号内的规格。 |
|||||||||||


