|
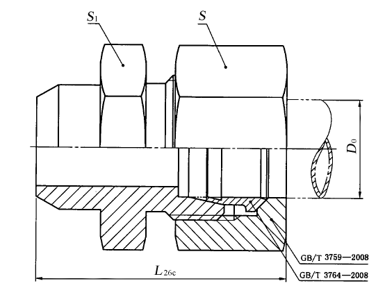
卡套式焊接管接头和接头体的尺寸(摘自GB/T 3747—2008) mm |
||||||||||||
|
标记示例 接头系列为L,管子外径为10 mm,表面氧化处理的钢制卡套式焊接管接头标记为: 管接头 GB/T 3747 L10·O 接头系列为L,管子外径为10 mm,表面氧化处理的钢制卡套式焊接接头体标记为: 接头体 GB/T 3747 L10·O |
||||||||||||
|
系列 |
最大工作压力/MPa |
管子外径 D0 |
D |
d1 参考 |
d10士0.2 |
d23士0.2 |
L22士0.2 |
L26士0.3 |
L26c ≈ |
S |
S1 |
a11 参考 |
|
L |
25 |
6 |
M12×1.5 |
4 |
10 |
6 |
7 |
21 |
29 |
14 |
12 |
14 |
|
8 |
M14×1.5 |
6 |
12 |
8 |
8 |
23 |
31 |
17 |
14 |
16 |
||
|
10 |
M16×1.5 |
8 |
14 |
10 |
8 |
24 |
32 |
19 |
17 |
17 |
||
|
12 |
M18×1.5 |
10 |
16 |
12 |
8 |
25 |
33 |
22 |
19 |
18 |
||
|
(14) |
M20×1.5 |
11 |
18 |
14 |
8 |
25 |
33 |
24 |
22 |
18 |
||
|
15 |
M22×1.5 |
12 |
19 |
15 |
10 |
28 |
36 |
27 |
24 |
21 |
||
|
(16) |
M24×1.5 |
14 |
20 |
16 |
10 |
29 |
38 |
30 |
27 |
21.5 |
||
|
16 |
18 |
M26×1.5 |
15 |
22 |
18 |
10 |
29 |
38 |
32 |
27 |
21.5 |
|
|
22 |
M30×2 |
19 |
27 |
22 |
12 |
33 |
42 |
36 |
32 |
25.5 |
||
|
10 |
28 |
M36×2 |
24 |
32 |
28 |
12 |
34 |
43 |
41 |
41 |
26.5 |
|
|
35 |
M45×2 |
30 |
40 |
35 |
14 |
39 |
50 |
50 |
46 |
28.5 |
||
|
42 |
M52×2 |
36 |
46 |
42 |
16 |
43 |
55 |
60 |
55 |
32 |
||
|
S |
63 |
6 |
M14×1.5 |
4 |
11 |
6 |
7 |
25 |
33 |
17 |
14 |
18 |
|
8 |
M16×1.5 |
5 |
13 |
8 |
8 |
28 |
36 |
19 |
17 |
21 |
||
|
10 |
M18×1.5 |
7 |
15 |
10 |
8 |
28 |
37 |
22 |
19 |
20.5 |
||
|
12 |
M20×1.5 |
8 |
17 |
12 |
10 |
32 |
41 |
24 |
22 |
24.5 |
||
|
(14) |
M22×1.5 |
9 |
19 |
14 |
10 |
33 |
42 |
27 |
24 |
25.5 |
||
|
40 |
16 |
M24×1.5 |
12 |
21 |
16 |
10 |
34 |
44 |
30 |
27 |
25.5 |
|
|
20 |
M30×2 |
16 |
26 |
20 |
12 |
40 |
51 |
36 |
32 |
29.5 |
||
|
25 |
M36×2 |
20 |
31 |
24 |
12 |
44 |
56 |
46 |
41 |
32 |
||
|
25 |
30 |
M42×2 |
25 |
36 |
29 |
14 |
48 |
61 |
50 |
46 |
34.5 |
|
|
38 |
M52×2 |
32 |
44 |
36 |
16 |
55 |
70 |
60 |
55 |
39 |
||
|
注:尽可能不采用括号内的规格。 |
||||||||||||


