|
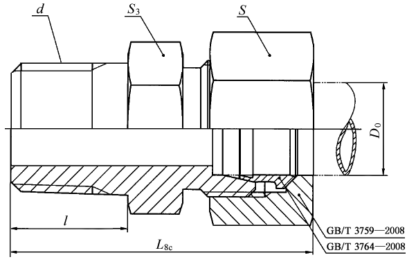
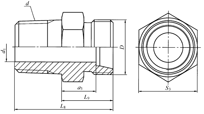
卡套式锥螺纹直通管接头和接头体尺寸(摘自GB/T 3734—2008) mm |
|||||||||||||
|
标记示例: 接头系列为L,管子外径为10 mm,55°密封管螺纹(R),表面镀锌处理的钢制卡套式锥螺纹直通管接头标记为: 管接头 GB/T 3734 L10/R1/4 接头系列为L,管子外径为10 mm,55°密封管螺纹(R),表面镀锌处理的钢制卡套式锥螺纹直通接头体标记为: 接头体 GB/T 3734 L10/R1/4 |
|||||||||||||
|
系列 |
最大工作压力 /MPa |
管子外径 D0 |
D |
d |
dl 参考 |
l |
L9 参考 |
L8 ≈ |
L8c ≈ |
S |
S3 |
a5 参考 |
|
|
LL |
10 |
4 |
M8×l |
R1/8 |
NPT1/8 |
3 |
8.5 |
12 |
20.5 |
26.5 |
10 |
14 |
8 |
|
5 |
M10×l |
R1/8 |
NPT1/8 |
3 |
8.5 |
12 |
20.5 |
26.5 |
12 |
14 |
6.5 |
||
|
6 |
M10×l |
R1/8 |
NPT1/8 |
4 |
8.5 |
12 |
20.5 |
26.5 |
12 |
14 |
6.5 |
||
|
8 |
M12×1 |
R1/8 |
NPT1/8 |
4.5 |
8.5 |
13 |
21.5 |
27.5 |
14 |
14 |
7.5 |
||
|
L |
25 |
6 |
M12×1.5 |
R1/8 |
NPT1/8 |
4 |
8.5 |
14 |
22.5 |
30.5 |
14 |
14 |
7 |
|
8 |
M14×1.5 |
R1/4 |
NPT1/4 |
6 |
12.5 |
15 |
27.5 |
35.5 |
17 |
19 |
8 |
||
|
10 |
M16×1.5 |
R1/4 |
NPT1/4 |
7 |
12.5 |
16 |
28.5 |
36.5 |
19 |
19 |
9 |
||
|
12 |
M18×1.5 |
R3/8 |
NPT3/8 |
9 |
13 |
17.5 |
30.5 |
38.5 |
22 |
22 |
10.5 |
||
|
(14) |
M20×1.5 |
R1/2 |
NPT1/2 |
11 |
17 |
17 |
34 |
42 |
24 |
27 |
10 |
||
|
15 |
M22×1.5 |
R1/2 |
NPT1/2 |
11 |
17 |
18 |
35 |
43 |
27 |
27 |
11 |
||
|
(16) |
M24×1.5 |
R1/2 |
NPT1/2 |
12 |
17 |
18.5 |
35.5 |
44.5 |
30 |
27 |
11 |
||
|
16 |
18 |
M26×1.5 |
R1/2 |
NPT1/2 |
14 |
17 |
19 |
36 |
45 |
32 |
27 |
11.5 |
|
|
22 |
M30×2 |
R3/4 |
NPT3/4 |
18 |
18 |
21 |
39 |
48 |
36 |
32 |
13.5 |
||
|
10 |
28 |
M36×2 |
R1 |
NPT1 |
23 |
21.5 |
22 |
43.5 |
52.5 |
41 |
41 |
14.5 |
|
|
35 |
M45×2 |
R1¼ |
NPT1¼ |
30 |
24 |
25 |
49 |
60 |
50 |
50 |
14.5 |
||
|
42 |
M52×2 |
R1½ |
NPT1½ |
36 |
24 |
27 |
51 |
63 |
60 |
55 |
16 |
||
|
S |
40 |
6 |
M14×1.5 |
R1/4 |
NPT1/4 |
4 |
12.5 |
18 |
30.5 |
38.5 |
17 |
19 |
11 |
|
8 |
M16×1.5 |
R1/4 |
NPT1/4 |
5 |
12.5 |
20 |
32.5 |
40.5 |
19 |
19 |
13 |
||
|
10 |
M18×1.5 |
R3/8 |
NPT3/8 |
7 |
13 |
20.5 |
33.5 |
42.5 |
22 |
22 |
13 |
||
|
12 |
M20×1.5 |
R3/8 |
NPT3/8 |
8 |
13 |
22 |
35 |
44 |
24 |
22 |
14.5 |
||
|
(14) |
M22×1.5 |
R1/2 |
NPT1/2 |
10 |
17 |
23 |
40 |
49 |
27 |
27 |
15.5 |
||
|
16 |
M24×1.5 |
R1/2 |
NPT1/2 |
12 |
17 |
24 |
41 |
51 |
30 |
27 |
15.5 |
||
|
20 |
M30×2 |
R3/4 |
NPT3/4 |
15 |
18 |
28 |
46 |
57 |
36 |
32 |
17.5 |
||
|
25 |
25 |
M36×2 |
R1 |
NPT1 |
20 |
21.5 |
32 |
53.5 |
65.5 |
46 |
41 |
20 |
|
|
16 |
30 |
M42×2 |
R1¼ |
NPT1¼ |
25 |
24 |
34 |
58 |
71 |
50 |
50 |
20.5 |
|
|
38 |
M52×2 |
R1½ |
NPT1½ |
32 |
24 |
39 |
63 |
78 |
60 |
55 |
23 |
||
|
注:尽可能不采用括号内的规格。 |
|||||||||||||


