|
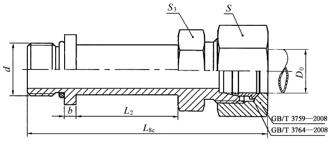
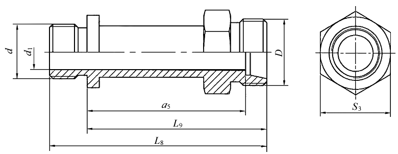
带F型柱端的卡套式端直通长管接头和接头体尺寸(摘自GB/T 3735—2008) mm |
|||||||||||||
|
标记示例: 接头系列为L,管子外径为10 mm,普通螺纹(M)F型柱端,表面镀锌处理的钢制卡套式端直通长管接头标记为: 管接头 GB/T 3735 L10 接头系列为L,管子外径为10 mm,普通螺纹(M)F型柱端,表面镀锌处理的钢制卡套式端直通长管接头体标记为: 接头体 GB/T 3735 L10 |
|||||||||||||
|
系列 |
最大工作压力 /MPa |
管子外径 D0 |
D |
d |
dl 参考 |
L2 |
L8c ±0.3 |
L8 ±0.3 |
L9 参考 |
b |
S |
S3 |
a5 参考 |
|
L |
25 |
6 |
M12×1.5 |
M10×1 |
4 |
25 |
59.4 |
51.4 |
42.9 |
3 |
14 |
14 |
35.9 |
|
8 |
M14×1.5 |
M12×1.5 |
6 |
27 |
64.5 |
56.5 |
45.5 |
4 |
17 |
17 |
38.5 |
||
|
10 |
M16×1.5 |
M14×1.5 |
7 |
29 |
67.5 |
59.5 |
48.5 |
19 |
19 |
41.5 |
|||
|
12 |
M18×1.5 |
M16×1.5 |
9 |
30 |
70.5 |
62.5 |
51 |
22 |
22 |
44 |
|||
|
(14) |
M20×1.5 |
M18×1.5 |
10 |
31 |
72.5 |
64.5 |
52 |
24 |
24 |
45 |
|||
|
15 |
M22×1.5 |
M18×1.5 |
11 |
32 |
74.5 |
66.5 |
54 |
27 |
24 |
47 |
|||
|
(16) |
M24×1.5 |
M20×1.5 |
12 |
32 |
76 |
67 |
54.5 |
30 |
27 |
47 |
|||
|
16 |
18 |
M26×1.5 |
M22×1.5 |
14 |
33 |
78.5 |
69.5 |
56.5 |
32 |
27 |
49 |
||
|
22 |
M30×2 |
M27×2 |
18 |
38 |
89.5 |
80.5 |
64.5 |
5 |
36 |
32 |
57 |
||
|
10 |
28 |
M36×2 |
M33×2 |
23 |
41 |
93 |
84 |
68 |
41 |
41 |
60.5 |
||
|
35 |
M45×2 |
M42×2 |
30 |
45 |
102 |
91 |
75 |
50 |
50 |
64.5 |
|||
|
42 |
M52×2 |
M48×2 |
36 |
46 |
107.5 |
95.5 |
78 |
60 |
55 |
67 |
|||
|
S |
63 |
6 |
M14×1.5 |
M12×1.5 |
4 |
29 |
69.5 |
61.5 |
50.5 |
4 |
17 |
17 |
43.5 |
|
8 |
M16×1.5 |
M14×1.5 |
5 |
31 |
73.5 |
65.5 |
54.5 |
19 |
19 |
47.5 |
|||
|
10 |
M18×1.5 |
M16×1.5 |
7 |
32 |
77.5 |
68.5 |
56 |
22 |
22 |
48.5 |
|||
|
12 |
M20×1.5 |
M18×1.5 |
8 |
33 |
82 |
73 |
59 |
24 |
24 |
51.5 |
|||
|
(14) |
M22×1.5 |
M20×1.5 |
9 |
33 |
83 |
74 |
60 |
27 |
27 |
52.5 |
|||
|
40 |
16 |
M24×1.5 |
M22×1.5 |
12 |
36 |
89.5 |
79.5 |
64.5 |
30 |
27 |
56 |
||
|
20 |
M30×2 |
M27×2 |
15 |
37 |
100 |
89 |
70.5 |
5 |
36 |
32 |
60 |
||
|
25 |
M36×2 |
M33×2 |
20 |
44 |
111.5 |
99.5 |
81 |
46 |
41 |
69 |
|||
|
25 |
30 |
M42×2 |
M42×2 |
25 |
45 |
116 |
103 |
84 |
50 |
50 |
70.5 |
||
|
38 |
M52×2 |
M48×2 |
32 |
46 |
126 |
111 |
89.5 |
60 |
55 |
73.5 |
|||
|
注:尽可能不采用括号内的规格。 |
|||||||||||||


