|
真空减压阀 |
|
|
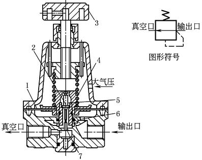
结构图、图形符号 |
工 作 原 理 |
|
1—膜片;2—给气阀;3—手轮;4—设定弹簧; 5—复位弹簧;6—反馈孔;7—给气口 |
真空减压阀是用来调节真空度的压力调节阀 真空减压阀的工作原理见左图,真空口接真空泵,输出口接负载用的真空罐。当真空泵工作后,真空口压力降低。顺时针旋转手轮,设定弹簧被拉伸,膜片上移,带动给气阀芯抬起,则给气口打开,输出口与真空口接通。输出真空压力通过反馈孔作用于膜片下腔。当膜片处于力平衡时,输出真空压力便达到一定值,且吸入一定流量。当输出真空压力上升时,膜片上移。阀的开度加大,则吸入流量增大。当输出压力接近大气压力时,吸入流量达最大值。反之,当吸入流量逐渐减小至零时,输出口真空压力逐渐下降,直至膜片下移,给气口被关闭,真空压力达最低值。手轮全松,复位弹簧推动给气阀,封住给气口,则输出口与大气相通 |

