|
二位二通高温、高压电磁阀 |
|||||||||||||||||||||||||||||||||||||||||||||||||||||||||||||||||||||||||||||||||||||||||||||||||||||||||||
|
国内有许多厂商生产二位二通的高温、高压电磁阀,以亿日高温2VT及高压2VP电磁阀为例进行说明(下表)。国内许多厂商生产该类型的阀如佳尔灵、天工、华能等,详细技术资料请登录各厂商的网址查阅(表二位二通角座阀中表2) |
|||||||||||||||||||||||||||||||||||||||||||||||||||||||||||||||||||||||||||||||||||||||||||||||||||||||||||
|
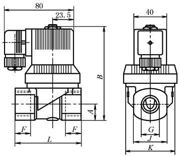
2VT高温 电磁 阀 |
外 形 尺 寸 |
|
mm
|
||||||||||||||||||||||||||||||||||||||||||||||||||||||||||||||||||||||||||||||||||||||||||||||||||||||||
|
技 术 参 数 |
型号 |
公称通径 /mm |
接管 螺纹 |
工作压力 /MPa |
环境温度 /℃ |
介质温度 |
KV值 /m3·h-1 |
功率消耗 |
电压/V |
||||||||||||||||||||||||||||||||||||||||||||||||||||||||||||||||||||||||||||||||||||||||||||||||||
|
AC/V·A |
DC/W |
||||||||||||||||||||||||||||||||||||||||||||||||||||||||||||||||||||||||||||||||||||||||||||||||||||||||||
|
2VT012-01 |
1.2 |
G1/8 |
0~1.6 |
-20~+55 |
-0~+180 |
0.12 |
14 |
8 |
AC(50/60Hz): 24、36、110、220、380 DC:12.24 |
||||||||||||||||||||||||||||||||||||||||||||||||||||||||||||||||||||||||||||||||||||||||||||||||||
|
2VT020-02 |
2 |
G¼ |
0~1.0 |
0.16 |
|||||||||||||||||||||||||||||||||||||||||||||||||||||||||||||||||||||||||||||||||||||||||||||||||||||||
|
2VT020-02 |
3 |
G¼ |
0~0.6 |
0.23 |
|||||||||||||||||||||||||||||||||||||||||||||||||||||||||||||||||||||||||||||||||||||||||||||||||||||||
|
2VT030-02 |
4 |
G¼ |
0~0.6 |
3.6 |
|||||||||||||||||||||||||||||||||||||||||||||||||||||||||||||||||||||||||||||||||||||||||||||||||||||||
|
2VT040-02 |
5 |
G¼ |
0~0.45 |
3.6 |
|||||||||||||||||||||||||||||||||||||||||||||||||||||||||||||||||||||||||||||||||||||||||||||||||||||||
|
2VT060-02 |
6 |
G¼ |
0~0.3 |
3.6 |
|||||||||||||||||||||||||||||||||||||||||||||||||||||||||||||||||||||||||||||||||||||||||||||||||||||||
|
2VT080-02 |
8 |
G¼ |
0.05~1.6 |
3.6 |
|||||||||||||||||||||||||||||||||||||||||||||||||||||||||||||||||||||||||||||||||||||||||||||||||||||||
|
2VT100-03 |
10 |
G3/8 |
0.05~1.6 |
3.6 |
|||||||||||||||||||||||||||||||||||||||||||||||||||||||||||||||||||||||||||||||||||||||||||||||||||||||
|
2VT130-04 |
13 |
G½ |
0.05~1.6 |
3.6 |
|||||||||||||||||||||||||||||||||||||||||||||||||||||||||||||||||||||||||||||||||||||||||||||||||||||||
|
2VT250-06 |
25 |
G¾ |
0.05~1.6 |
11 |
|||||||||||||||||||||||||||||||||||||||||||||||||||||||||||||||||||||||||||||||||||||||||||||||||||||||
|
2VT250-10 |
25 |
G1 |
0.05~1.6 |
11 |
|||||||||||||||||||||||||||||||||||||||||||||||||||||||||||||||||||||||||||||||||||||||||||||||||||||||
|
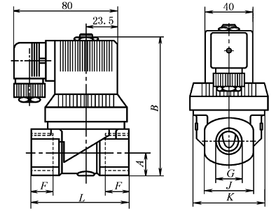
2VP高压 电磁 阀 |
外 形 尺 寸 |
|
mm
|
||||||||||||||||||||||||||||||||||||||||||||||||||||||||||||||||||||||||||||||||||||||||||||||||||||||||
|
技 术 参 数 |
型号 |
公称通径 /mm |
接管 螺纹 |
工作压力 /MPa |
环境温度 |
介质温度 |
KV值 /m3·h-1 |
功率消耗 |
电源、电压 |
||||||||||||||||||||||||||||||||||||||||||||||||||||||||||||||||||||||||||||||||||||||||||||||||||
|
/℃ |
AC/V·A |
DC/W |
|||||||||||||||||||||||||||||||||||||||||||||||||||||||||||||||||||||||||||||||||||||||||||||||||||||||||
|
2VP080-02 |
8 |
G¼ |
0.3~5.0 |
-20~+55 |
-0~+90 |
3.6 |
14 |
8 |
AC(V) 50/60Hz 24、36、110、220、380 DC(V) 12、24 |
||||||||||||||||||||||||||||||||||||||||||||||||||||||||||||||||||||||||||||||||||||||||||||||||||
|
2VPl00-03 |
10 |
G3/8 |
0.3~5.0 |
3.6 |
|||||||||||||||||||||||||||||||||||||||||||||||||||||||||||||||||||||||||||||||||||||||||||||||||||||||
|
2VP130-04 |
13 |
G½ |
0.3~5.0 |
3.6 |
|||||||||||||||||||||||||||||||||||||||||||||||||||||||||||||||||||||||||||||||||||||||||||||||||||||||
|
2VP200-06 |
20 |
G¾ |
0.3~3.5 |
11 |
|||||||||||||||||||||||||||||||||||||||||||||||||||||||||||||||||||||||||||||||||||||||||||||||||||||||
|
2VP250-10 |
25 |
G1 |
0.3~3.5 |
11 |
|||||||||||||||||||||||||||||||||||||||||||||||||||||||||||||||||||||||||||||||||||||||||||||||||||||||


