|
流体阀 |
||||||
|
概述 |
通用流体控制阀是为各种具有中性、腐蚀性、冷热等特性的液体、气体、蒸汽介质设计的装置,用于切断、分配、混合或调节流体的流量、压力等。流体控制阀可分为二位二通、二位三通、二位四通、二位五通几种,最常用的是二位二通。二位二通阀有入口和出口,具有两个切换位置(开和关)。在其基本或启动位置,阀一般是常闭(NC)。对于某些应用,如用于安全控制系统,发生停电时,在基本位置,阀必须常开(NO) |
|||||
|
分类 |
按照不同的驱动执行机构,将流体控制阀分为三类:电磁驱动、压力驱动和电动马达驱动 |
|||||
|
电
磁
驱
动 |
座 阀 |
电磁驱动阀的执行元件是电磁线圈,它借助于电磁吸引力,提升密封件(打开通路)或迫使其紧贴阀座(关闭通路)。宝硕电磁阀是一种座阀,它通过防漏隔膜或活塞来切断流动。这些密封件轴向移动打开或关闭座阀。座阀具有非常好的密封质量,结合使用适当的材料(如金属/塑料)就可应用于各种特定的使用条件。按照不同的结构类型,将流体控制阀分为两类:活塞式和隔膜式 活塞座阀:在阀体内轴向运动的活塞的开闭行程取决于作用在其两侧面积差上的阀门出入口的压差。根据驱动的方法,这些行程的运动可以由电磁线圈或弹簧来辅助完成。活塞座阀可承受很高的工作压力,该阀的制造材料易于选择,适用于各种工作流体。隔膜座阀:隔膜座阀的工作原理与活塞座阀基本相同,其密封膜片在本体和阀盖之间,其行程移动量由隔膜的型式和弹性决定。这种的阀相对比较便宜、紧凑,最适合在供水系统中使用 |
||||
|
驱
动
方
式 |
直
动
式 |
有些气动厂商称直动式为直接电磁驱动,这种驱动类型不需要任何工作压力或压差来实现切换功能,在0bar以上就可工作。当电磁线圈断电时(阀处于关闭状态),动铁芯借助于流体压力被弹簧力压在阀座上(图a)。当电磁线圈通电时,则动铁芯被吸进去,阀门打开(图b)。最大工作压力和流量直接取决于阀座直径(额定直径)和电磁线圈的吸力
|
||||
|
先
导
式 |
有些气动厂商称先导式为间接电磁驱动,这种阀根据压差或先导原理(伺服原理)进行工作,利用流体的压力来打开或关闭阀座。先导系统起到增压的作用,这样即使使用磁力较小的电磁线圈(与直接驱动型阀相比),也能控制在高压下高速流动的流体(活塞和隔膜均可用作主阀座的密封件) 常闭型工作原理:隔膜式见图c、活塞式见图e。当电磁线圈断电,其动铁芯上密封垫圈关闭泄流口(先导阀阀座),系统中P处的上游压力高于A处的输出下游压力,通过隔膜上的小溢流孔(穿通隔膜并通向先导阀阀座端口上),在隔膜的顶部(或活塞)积累。该压力乘以隔膜(或活塞)顶部的面积就在隔膜(或活塞)上产生了一个大的关闭力,并迫使隔膜返回到阀座上,处于关闭状态。当电磁线圈通电时,作用在铁芯上的磁力将动铁芯从泄流口提升起来,这就降低了隔膜(或活塞)上方空间的压力,并与阀A侧的压力达到了平衡。由于能从溢流通道流出的流体大于隔膜上小溢流孔流过的流体,所以隔膜(或活塞)顶部的压力还会继续下降,作用在隔膜(或活塞)上的P处的较高的上游压力所产生的打开力比较大,该力将隔膜从阀座上提起(只要P和A处之间的压差保持为规定值),阀就会处于打开状态(隔膜式见图d、活塞式见图f)。根据阀的类型,该规定值位于0.5~1bar之间。当电磁线圈断电,动铁芯在弹簧力的作用下,关闭先导阀处泄流口。隔膜(或活塞)上方再次积累与P侧相同的压力,该作用力推动隔膜(或活塞)紧靠在阀座上。间接电磁驱动阀的流体的流动方向固定不变
|
|||||
|
强
制
式 |
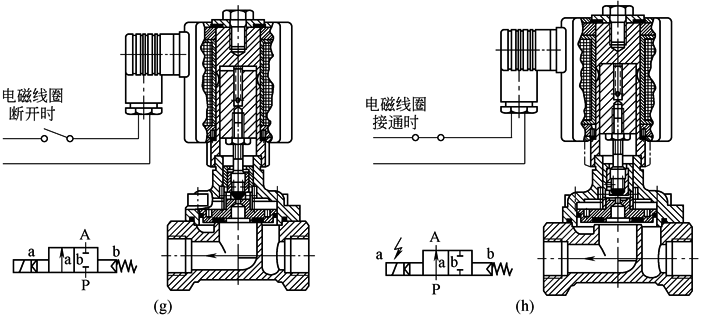
有些气动厂商称强制式为强制提升电磁驱动,以这种方式驱动的阀是直接驱动和间接驱动方式的组合。电磁线圈铁芯(先导级)和活塞(或隔膜)之间的机械耦合辅助运动(活塞型机械耦合辅助或隔膜型机械耦合辅助),被称为强制提升。该操作方法不需要最小压差,即使压差为0bar,阀也可工作。由于在没有压力辅助、压差不足时必须能打开阀,所以该电磁线圈需要较强吸力。这种方式驱动的阀既具有直接驱动的特点,无需最小工作压力限制,又具备间接驱动的优点,高工作压力,流量也比较大 电磁线圈断电见图g,与动铁芯连接的阀杆(先导阀的活塞)关闭泄流口(先导阀阀座),该泄流口与活塞(或隔膜)同心。系统中P处的上游压力高于A处的输出下游压力,通过活塞上的2个小溢流通孔(隔膜上的1个小溢流通孔)在活塞的顶部积累。该压力乘以活塞(或隔膜)顶部的面积就在活塞(或隔膜)上产生了一个大的关闭力,于是,迫使隔膜返回到阀座上处于关闭状态。当电磁线圈通电(见图h),这时作用在铁芯上的磁力将动铁芯从泄流口提升起来,这就降低了隔膜(或活塞)上方空间的压力,并与阀A侧的压力达到了平衡。由于能从溢流通道流出的流体多于隔膜上小溢流孔流过的流体,所以隔膜(或活塞)顶部的压力还会继续下降,作用在隔膜(或活塞)上P处的较高的上游压力所产生的打开力比较大,该力将隔膜从阀座上提起,阀就会处于打开状态。见图g、图h,强制式的打开动作与先导控制完全相同,两者之间存在差别是:强制式阀在动铁芯运动到一定行程后,通过螺纹咬合件(机械耦合)使活塞(或隔膜)同时也被拉到打开位置。因此,这种阀的开启和保持开启不需压差 电磁线圈断电,阀芯在弹簧力的作用下关闭泄流口。活塞(或隔膜)上方通过溢流通孔的流体再次积累到与P侧相同的压力,该作用力迫使活塞(或隔膜)返回到阀座上。如果没有或者只有微小的压差,先导阀芯在活塞上方弹簧的力作用下关闭。这种阀流体的流动方向固定不变
|
|||||
|
压力 驱动 |
角
座
阀 |
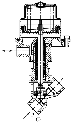
活塞驱动的角座阀是气动控制方式的阀座以某个角度安装在本体内,并且经过阀杆与控制活塞相连。在弹簧压力的作用下,主活塞处于关闭状态(见图i)。当控制信号进入上部控制腔,并作用在控制活塞,活塞连同活塞杆一起上移,打开密封垫,使P与A导通。其控制压力可采用压缩空气或中性气体。这种类型的阀利用或克服流过阀的流体来实现关闭(根据阀的类型)或开启 |
|
|||
|
隔 膜 驱 动 座 阀 |
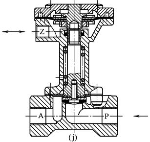
这种阀是常闭的,阀体驱动轴由两个阀杆部件相连接而成,上阀杆部件由隔膜、锁紧螺母与有内螺纹的阀杆组成,下阀杆部件由头部有外螺纹的活塞杆、隔膜及密封垫等组成。当控制压力或中性气体压力进入控制口Z,上腔的控制隔膜在压力的作用下,使阀体驱动轴往上移动(上阀杆与下阀杆一起上移),密封垫与下隔膜随下阀杆的提升而使封闭的阀口打开,P与A导通见图j。释放压力则阀在弹簧压力的作用下关闭 |
|
||||
|
隔膜驱动隔膜阀 |
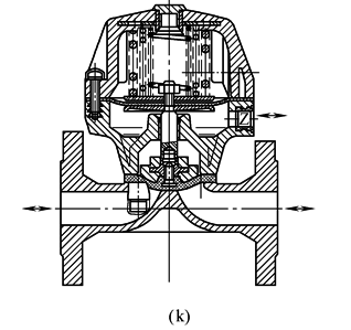
这种类型的阀的阀腔由两个腔组成,下腔被横梁对称分割,这个横梁就形成了阀座。上腔中有一个隔膜,该隔膜经过阀杆与第2个隔膜相连。一旦控制压力释放,这个隔膜上侧的弹簧就会使阀关闭(见图k)。下隔膜的作用是密封,当它被压在阀座上时就会将阀关闭。流体流动是双向的。这种阀完全适用于含有颗粒的流体 |
|
||||
|
强制提升的间接驱动活塞阀 |
如图l所示的强制提升的间接驱动活塞阀,这种阀利用流过阀的流体压力来辅助阀的打开和关闭。当阀关闭时,管路压力辅助弹簧将阀关闭。当在控制气压的作用下提起执行元件中的活塞时,位于主阀中心的泄流孔被打开,压力经过出口A被释放。所产生的压差使得主活塞完全提升,并且将阀打开。这种类型的阀适用于高压场合 |
|
||||







