|
方向控制阀的分类 |
|||||||||||||||||||||||||||||||||
|
在各类气动元件中,方向控制阀的品种规格繁多,本章仅对常用方向控制阀的原理、结构、性能及参数作基础介绍,以便于选用 |
|||||||||||||||||||||||||||||||||
|
按阀内气流流动方向分 |
方向控制阀 |
换向型方向控制阀(简称换向阀) |
是指可以改变气流流动方向的控制阀,如气控阀、电磁阀、机械控制换向阀等 |
||||||||||||||||||||||||||||||
|
单向型方向控制阀 |
是指仅允许气流沿着一个方向流动的控制阀,如单向阀、梭阀、双压阀和快速排气阀等 |
||||||||||||||||||||||||||||||||
|
按 控 制 方 式 分 |
常 用 控 制 方 式 |
常用的控制方式有气压控制、电磁控制、人力控制和机械控制四类 |
|||||||||||||||||||||||||||||||
|
电磁阀 |
单线圈
双线圈 |
|
机控阀 |
直动圆头
滚轮
单向滚轮(空返回)
弹簧复位
位于中心弹簧复位 |
|
|
|||||||||||||||||||||||||||
|
带手动装置,先导式、双线圈 |
|
||||||||||||||||||||||||||||||||
|
人控阀 |
普通式
按钮
手柄
带锁紧机构,手柄操作
脚踏式 |
|
|||||||||||||||||||||||||||||||
|
气压阀 |
直动式
先导式 |
|
|
||||||||||||||||||||||||||||||
|
气 压 控 制 |
用气压力来操纵阀切换的控制方式,这种阀称为气压控制型换向阀,简称气控阀。气控阀在易燃、易爆、潮湿、粉尘大、强磁场、高温等恶劣的工作环境中,工作安全可靠 |
||||||||||||||||||||||||||||||||
|
加压控制阀 |
是指输入的控制气压足够推动主阀换向。常用在纯气动控制系统中,这种控制方式有单气控和双气控之分 |
||||||||||||||||||||||||||||||||
|
卸压控制 |
是指控制阀内控制腔腔室的内气压,当压力降至某一值时阀便被切换 |
||||||||||||||||||||||||||||||||
|
差压控制 |
是利用阀芯两端受气压作用的有效面积不等,在气压的作用下产生的作用力之差值,使阀切换 |
||||||||||||||||||||||||||||||||
|
延时控制 |
是利用气流经过小孔或缝隙节流后向气室里充气,当气室里的压力升至一定值后使阀切换,从而达到信号延时输出的目的。纯气动控制系统中的延时阀便按此原理制成 |
||||||||||||||||||||||||||||||||
|
电 磁 控 制 |
原理 |
利用电磁线圈通电时,静铁芯对动铁芯产生磁吸力,使阀切换以改变气流方向的阀,称为电磁换向阀,简称电磁阀。电磁阀有二位二通阀、二位三通阀、二位四通阀、二位五通阀、三位五通阀等 |
|||||||||||||||||||||||||||||||
|
分类 |
电磁换向阀有直动式和先导式之分。对于二位二通阀、二位三通阀有常开、常闭之分 |
||||||||||||||||||||||||||||||||
|
特点 |
电磁控制换向阀易于实现电、气联合控制,常用的是利用可编程序控制器(PLC)的输出,直接驱动电磁换向阀的电磁线圈使其换向。如PLC控制器的一个输出点为7.5W时,它能控制5个功耗为1.5W的电磁线圈,并能实现远距离操作,故得到广泛应用。目前,市场上已出现阀岛,其中换向阀采用的便是电磁控制换向阀 |
||||||||||||||||||||||||||||||||
|
人 力 控 制 |
依靠人力使阀切换的换向阀,称为人力控制换向阀,简称人力阀。它可分为手动阀和脚踏阀两大类 人控阀与其他控制方式相比,使用频率较低,动作速度较慢。因操纵力不宜大,故阀的通径较小,操作灵活。人控阀在手动气动系统中,一般用来直接操纵气动执行机构。在半自动和自动系统中,多作为信号阀使用 |
||||||||||||||||||||||||||||||||
|
机 械 控 制 |
用凸轮、撞块或其他机械外力使阀换向的阀称为机械控制换向阀,简称机控阀。这种阀常用作信号阀使用。当湿度特别大,粉尘多或强磁场场合,或不宜采用电气位移传感器时,可采用机械控制,但不适合复杂的控制系统 |
||||||||||||||||||||||||||||||||
|
按 动 作 方 式 分 |
直 动 式 |
按动作方式分类是指换向阀的驱动是直动式(直接驱动)还是先导式(二级驱动) |
|||||||||||||||||||||||||||||||
|
直动式是在电磁力或气压控制力或机械驱动力或人力的直接作用下,使换向阀的阀芯被切换成另一状态位置,改变输出方向。直动式阀一般通径较小,电磁吸铁的功耗小,对于小型、微型电磁阀可直接采用直动式电磁阀 |
|||||||||||||||||||||||||||||||||
|
先 导 式 |
先导式电磁阀是微型或小型电磁阀(作先导控制)和主阀组合而成,利用控制小型电磁阀的输出压力(俗称先导压力),使控制阀主阀芯切换(通过利用小型电磁阀的输出压力作用活塞使其产生较大力,推动主阀阀芯),以获得先导式电磁阀的大通径的输出流量,因此先导式电磁阀主要特性是用小功耗的电磁线圈获得对大通径电磁阀的控制,而此小功耗的先导电磁阀的电磁线圈又可在PLC可编程控制器的输出允许值范围内 |
||||||||||||||||||||||||||||||||
|
先 导 式 分 类 |
先导式电磁阀可分为内部先导(俗称内先导)与外部先导(俗称外先导) |
||||||||||||||||||||||||||||||||
|
内先导 |
内先导的气源由主阀提供,因此过低的气源压力不能推动主阀阀芯前级的活塞,内先导式电磁阀的工作压力有一个范围,为2~10bar,2bar是最小工作压力,低于2bar工作则不正常,内先导电磁阀不能用于真空换向系统 |
||||||||||||||||||||||||||||||||
|
外先导 |
外先导的气源是由外部专门提供(在系统中另接一路气源给外部先导控制口),不受主阀气源压力大小的影响,故外先导的工作压力可从0~10bar,可用于低压,也可以用于真空-1~10bar |
||||||||||||||||||||||||||||||||
|
按 阀 的 通 口 数 目 或 切 换 状 态 数 分 |
按 阀 的 通 口 数 目 分 |
阀的通口数目是指阀的切换通口数目,阀的切换通口包括供气口、输出口、排气口。不包括控制口数目。按切换通口数目分,有二通阀、三通阀、四通阀、五通阀等 |
|||||||||||||||||||||||||||||||
|
换向阀的 通口数与 图形符号 |
名称 |
二通 |
三通 |
四通 |
五通 |
||||||||||||||||||||||||||||
|
常断 |
常通 |
常断 |
常通 |
||||||||||||||||||||||||||||||
|
符号 |
|
|
|
|
|
|
|||||||||||||||||||||||||||
|
二通阀有两个口,即一个供气口(用P表示)和一个输出口(用A表示) 三通阀有三个口,除P口、A口外增加一个排气口(用R或O表示);也可以是两个供气口(P1、P2表示)和一个输出口,作为选择阀(选择两个不同大小的压力值);或一个供气口和两个输出口,作为分配阀 二通阀、三通阀有常通和常断之分。常通型是指阀的控制口未加控制(即零位)时,P口和A口相通。反之,常断型在零位时,P口和A口是断开的 四通阀有四个口,除P、A、R外,还有一个输出口(用B表示)。通路为PA、BR或PB、AR 五通阀有五个口,除P、A、B外,有两个排气口(用R、S或O1、O2表示)。通路为PA、BS或PB、AR。五通阀也可以变成选择式四通阀,即两个输入口(P1和P2)、两个输出口(A和B)和一个排气口R。两个输入口供给压力不同的压缩空气 此外,也有五个通口以上的阀 |
|||||||||||||||||||||||||||||||||
|
按 切 换 状 态 数 分 |
方向控制阀的切换状态称为“位置”,有几个切换状态就称为几位阀(如二位阀、三位阀)。阀在未加控制信号时的原始状态称为零位。当阀为零位位置时,它的气路处于通路状态称常通型(俗称常开型),反之,称为常断型(俗称常闭型) 阀的切换状态是由阀芯的工作位置决定的,详见下表。阀芯具有两个工作位置的阀称为二位阀;阀芯具有三个工作位置的阀称为三位阀。对于两个位置阀而言,有两个通口的二位阀称为二位二通阀,它可实现气路的通或断。有三个通口的二位阀称为二位三通阀,在不同的工作位置,可实现P、A相通,或A、R相通。常用的还有二位四通阀和二位五通阀。对于三个位置阀而言,当阀芯处于中间位置时,各通口呈关断状态时,被称为中封式三位五通阀。如供气口与两个输出口相通,两个排气口封闭,被称为中间加压式三位五通阀。如供气口与两个输出口、两个排气口都相通,被称为中间卸压式三位五通阀。各通口之间的通断状态分别表示在一个长方块的各方块上,就构成了换向阀的图形符号 阀的通路数和切换位置综合表示法 |
||||||||||||||||||||||||||||||||
|
通路数 |
二位 |
三位 |
|||||||||||||||||||||||||||||||
|
中间封闭 |
中间加压 |
中间卸压 |
|||||||||||||||||||||||||||||||
|
二通 |
|
|
|
|
|||||||||||||||||||||||||||||
|
三通 |
|
|
|
|
|||||||||||||||||||||||||||||
|
四通 |
|
|
|
|
|||||||||||||||||||||||||||||
|
五通 |
|
|
|
|
|||||||||||||||||||||||||||||
|
两种表示方法的比较 |
气口 |
数字表示 |
字母表示 |
气口 |
数字表示 |
字母表示 |
|||||||||||||||||||||||||||
|
输入口 |
1 |
P |
排气口 |
5 |
R |
||||||||||||||||||||||||||||
|
输出口 |
2 |
B |
输出信号清零的控制口 |
(10) |
(Z) |
||||||||||||||||||||||||||||
|
排气口 |
3 |
S |
控制口 |
12 |
Y |
||||||||||||||||||||||||||||
|
输出口 |
4 |
A |
控制口 |
14 |
Z(X) |
||||||||||||||||||||||||||||
|
这里需说明,阀的气口可用字母表示,也可用数字表示(符合ISO5599标准) |
|||||||||||||||||||||||||||||||||
|
气口用字母表示 |
气口用数字表示(二位五通阀和三位五通阀) |
||||||||||||||||||||||||||||||||
|
A、B、C |
输出口(工作口) |
1 |
输入口(进气口) |
||||||||||||||||||||||||||||||
|
P |
输入口(进气口) |
2、4 |
输出口(工作口) |
||||||||||||||||||||||||||||||
|
R、S、T |
排气口 |
3、5 |
排气口 |
||||||||||||||||||||||||||||||
|
L |
泄露口 |
12、14 |
控制口 |
||||||||||||||||||||||||||||||
|
X、Y、Z |
控制口 |
10 |
输出信号清零的控制口 |
||||||||||||||||||||||||||||||
|
|
81、91 |
外部控制口 |
|||||||||||||||||||||||||||||||
|
82、84 |
控制气路排气口 |
||||||||||||||||||||||||||||||||
|
按 阀 芯 结 构 分 |
有截止式、滑柱式、滑块式和间隙式(硬配阀)四类 |
||||||||||||||||||||||||||||||||
|
截 止 式 换 向 阀 |
截止式换向阀也被称为提动式阀,一些日本气动制造厂商称其为座阀式。由于截止式阀阀芯密封靠橡胶或聚胺酯材质的垫圈进行平面密封(圆平面),密封性能优异,常被用于二位二通或二位三通电磁阀(见图a)。当阀的通口多时,制造结构复杂,许多气动制造厂商通过两个二位三通阀来构成一个二位五通阀的功能(见图b)。也有些气动制造厂商采用同轴截止式结构制成二位五通换向阀(见图c)
特点 (1)适用于大流量的场合。因阀的行程短,流通阻力小,同样通径规格的阀,截止式比滑柱式外形小 (2)阀芯始终受背压的作用,这对密封是有利的。截止式阀一般采用软质平面密封方式(聚氨酯材质),故泄漏很少。没有滑阀密封时需采用过盈密封(无滑阀密封时产生的摩擦力),对空气要求最低,如有灰尘、脏物换向时,软质平面密封上的灰尘、脏物将被气流吹走(见图c),一些气动元件制造厂商称它为耐脏气源电磁换向阀 (3)在高压或大流量时,要求的换向力较大,换向冲击力较大。故截止式阀常采用平衡阀芯结构或使用大的先导控制活塞使阀换向。大通径的截止式阀宜采用先导式控制方式 (4)截止式阀在换向的瞬间,输入口、输出口和排气口可能发生同时相通而窜气现象 (5)可适用于无油润滑的工作介质 (6)同轴截止式阀芯结构是具有截止式和滑柱式两者的优点,而避开其缺点的一种结构形式 |
||||||||||||||||||||||||||||||||
|
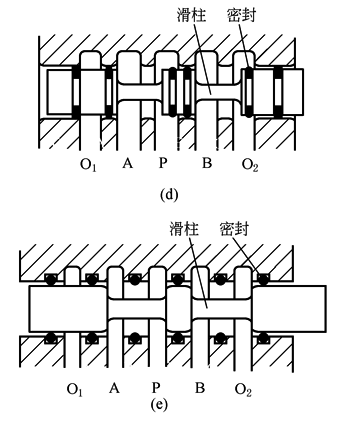
滑 柱 式 换 向 阀 |
|
滑柱式换向阀被称为滑阀型换向阀,采用软质密封材质(即橡胶O形圈或特种形状密封圈),它有两种密封安装方式,一种是将O形圈套在滑柱上,随阀芯(滑柱)一起移动(见图d)。另一种是将O形圈固定在衬套上,衬套与阀体内孔为过盈配合,阀芯(滑柱)在衬套内移动,O形圈不动(见图e)。前一种阀加工简单,制造成本低,在同等流量情况下,阀体积小。后一种阀加工比前一种复杂,在同等流量情况下,阀体积大,但性能优良,寿命长 (1)阀芯结构对称,容易做成具有记忆功能,即信号消失,仍能保持原有阀芯的位置 (2)结构简单。切换时,不承受类似截止式阀的阀芯受背压状态,故换向力相对要小,动作灵敏 (3)对气源净化处理要求较高,应使用含有油雾润滑的压缩空气(除非是无油润滑的换气阀)。有些软质密封阀受静摩擦力影响,一段时间没有使用(或长期在仓库存放)初始换向力将会很高,几次手动操作换向才能使其恢复正常 |
|||||||||||||||||||||||||||||||
|
滑 板 式 换 向 阀 |
|
如图f所示,阀的换向是靠改变滑板与阀座上孔的相对位置来实现,其特点为 (1)结构简单,容易设计为多位多通换向阀,尤其用于手控二位三通、二位四通阀 (2)滑块与阀座间的滑动密封采用研磨配合(一般用陶瓷材质),会有一定的泄漏 (3)寿命较长 |
|||||||||||||||||||||||||||||||
|
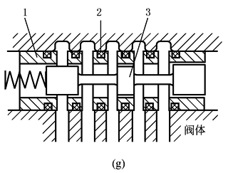
间 隙 式 换 向 阀 |
1—滑套;2—O形圈;3—滑柱 |
间隙式换向阀也被称为硬配式阀,阀芯采用的是金属材质,阀体采用的是另一种金属材质,阀芯与阀体通过研配方式(即间隙配合)装配。为了便于研配工艺,采用阀芯与阀套进行研配,阀套通过O形圈固定于阀体内。见图g (1)工作压力范围较软质密封阀高,控制压力小,切换灵敏,换向频率高 (2)寿命长,制造成本高 (3)允许工作温度、介质温度较高 (4)对气源净化处理要求最高。空气的过滤精度在1μm (5)对阀的安装有要求,不易垂直安装 |
|||||||||||||||||||||||||||||||
|
按 连 接 方 式 分 |
阀的连接方式有管式连接、板式连接、集装式连接和法兰连接等几种 |
||||||||||||||||||||||||||||||||
|
管 式 、 板 式 、 集 装 式 连 接 |
|
(1)快插接头QS |
用于连接具有标准外径的压气管,符合CEFOPRD54标准 |
||||||||||||||||||||||||||||||
|
(2)单个底座NAS |
侧面接口 |
||||||||||||||||||||||||||||||||
|
(3)消音器 |
安装在排气口 |
||||||||||||||||||||||||||||||||
|
(4)手动控制工具AIXI |
|||||||||||||||||||||||||||||||||
|
(5)发光密封件M...LO |
用于显示开关状态 |
||||||||||||||||||||||||||||||||
|
(6)插座、带/不带电缆MSSO、KMK、KMC |
|||||||||||||||||||||||||||||||||
|
(7)电磁阀 |
气口型式符合ISO5599.1标准 |
||||||||||||||||||||||||||||||||
|
|
|||||||||||||||||||||||||||||||||
|
管式连接有三种连接方式,第一种是管式连接(俗称管式阀),在阀的工作口、供气口、排气口拧上消声器,气管与气接头相连(见图h),若用插入式快速接头或不复杂的气路系统,采用管式连接较方便。第二种是单个半管式连接(俗称半管式阀),在阀的工作口拧上气接头,气管与气接头相连,而供气口、排气口则安装在气路板上,(见图i)。第三种是集成板半管式连接(俗称半管式集成连接),在阀的工作口拧上气接头,气管与气接头相连,而供气口、排气口则安装在气路板上,气路板上采用统一供气、统一排气的方式(见图j) 板式连接是指需配用专门的连接板,阀固定在连接板上,阀的工作口、供气口及排气口都在气路板上。ISO 5599标准、ISO 15407标准即属于该板式连接方式。板式连接有单个板接方式和集成板接方式两种,单个板接方式根据阀在接管的位置可分有侧面安装,(见图k,一侧为进气口、排气口,另一则为工作口),及底面安装(进气口、排气口、工作口全在底部),目前采用底面安装方式较少。这两种板式安装的阀在装拆、维修时不必拆卸管路,这对复杂的气路系统很方便 |
|||||||||||||||||||||||||||||||||
|
集 成 板 连 接 式 、 法 兰 连 接 式 |
|
是将多个板式连接板相连成一体的集成板连接方式,各阀的进气口、工作口或排气口可以共用(各阀的排气口可集中排气,也可单独排气)。这种方式不仅节省空间,大大地减少接管,便于阀的快速更换维修。见图l,是另一种应用最广泛的连接方式 法兰连接主要用于大口径的管道阀上,作为控制阀是极少采用的 |
|||||||||||||||||||||||||||||||
|
|||||||||||||||||||||||||||||||||
|
按 阀 的 流 通 能 力 分 |
通径是指阀的主流通道上最小面积的通流能力,即孔径的大小,单位为mm。这个值只允许在一定范围内对不同的元件进行比较。具体比较时,还必须考虑标准额定流量。国内气动行业业界习惯用阀的公称通径大小直接反映阀的流通能力大小,用户使用不是很方便。国际上气动厂商样本上除了标明通径(或截面积),还清楚写明标准额定流量 下表为阀的公称通径及相应的接管螺纹和流通能力的表达值 |
|||||||||||||||||||||||||||||||||||||||
|
公称通径/mm |
3 |
4 |
6 |
8 |
10 |
15 |
20 |
25 |
||||||||||||||||||||||||||||||||
|
接管螺纹 |
公制 英制 |
M5×0.8 G1/8 |
M5×0.8 G1/8 |
M10×1 G1/8 |
M14×1.5 G¼ |
M18×1.5 G3/8 |
M22×1.5 G½ |
M27×2 G¾ |
M33×2 G1 |
|||||||||||||||||||||||||||||||
|
KF、C值/m3·h-1 |
0.15 |
0.3 |
0.5 |
1.0 |
2.0 |
3.0 |
5.6 |
9.6 |
||||||||||||||||||||||||||||||||
|
标准额定流量QMn/L·min-1 |
170 |
340 |
570 |
1150 |
2300 |
3400 |
6300 |
10900 |
||||||||||||||||||||||||||||||||
|
额定流量/m3·h-1 |
0.7 |
1.4 |
2.5 |
5 |
7 |
10 |
20 |
30 |
||||||||||||||||||||||||||||||||
|
在额定流量下压降/kPa |
≤20 |
≤20 |
≤20 |
≤15 |
≤15 |
≤15 |
≤12 |
≤12 |
||||||||||||||||||||||||||||||||
|
需要特别说明的是在实际应用中,不能盲目根据阀的接口通径大小(接口螺纹大小)来认定它能否与气缸相配用,必须根据阀的流量来选择(从产品样本中查得),一个气动元件制造厂商不同型号、相同接管螺纹的阀有不同的流量(有的相差很大),不同的气动元件制造厂商相同接管螺纹的阀其流量也各不相同 |
||||||||||||||||||||||||||||||||||||||||
|
按 ISO 标 准 分 |
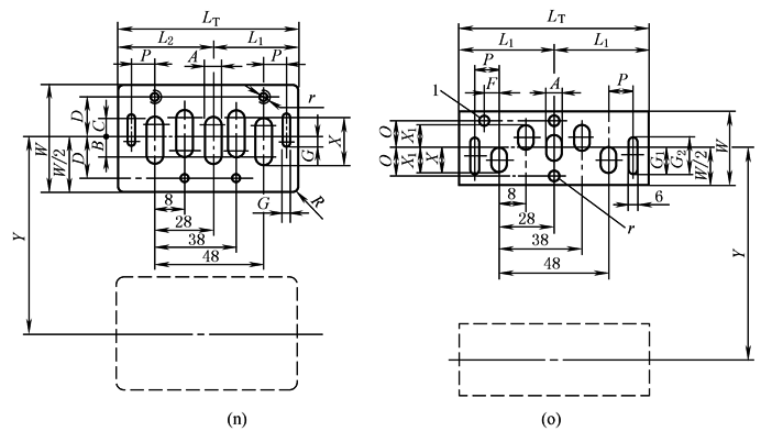
ISO阀是指对于底座安装的气控或电控阀来说,其安装底面尺寸符合ISO 5599国际标准。这种标准具有技术先进、安装及维修时互换方便等优点,世界上大部分制造厂商遵循这一标准。ISO 5599.1规定的是不带电气接头安装界面尺寸。ISO 5599.2规定的是带电气接口安装界面尺寸。从图m可看到的是不带电气接头ISO阀安装界面的立体结构
ISO 5599标准其安装界面尺寸见图n及表。ISO 15407标准安装界面尺寸见图o及表
|
|||||||||||||||||||||||||||||||||||||||
|
ISO 5599阀安装面尺寸(不带电气接头)/mm |
||||||||||||||||||||||||||||||||||||||||
|
规格 |
A |
B |
C |
D |
G |
L1 (min) |
L2 (min) |
LT (min) |
P |
R (max) |
r |
W (min) |
X |
Y |
气孔面积 /mm2 |
|||||||||||||||||||||||||
|
1 |
4.5 |
9 |
9 |
14 |
3 |
32.5 |
— |
65 |
8.5 |
2.5 |
M5×0.8 |
38 |
16.5 |
43 |
79 |
|||||||||||||||||||||||||
|
2 |
7 |
12 |
10 |
19 |
3 |
40.5 |
— |
81 |
10 |
3 |
M6×1 |
50 |
22 |
56 |
143 |
|||||||||||||||||||||||||
|
3 |
10 |
16 |
11.5 |
24 |
4 |
53 |
— |
106 |
13 |
4 |
M8×1.25 |
64 |
29 |
71 |
269 |
|||||||||||||||||||||||||
|
4 |
13 |
20 |
14.5 |
29 |
4 |
64.5 |
77.5 |
142 |
15.5 |
4 |
M8×1.25 |
74 |
36.5 |
82 |
438 |
|||||||||||||||||||||||||
|
5 |
17 |
25 |
18 |
34 |
5 |
79.5 |
91.5 |
171 |
19 |
5 |
M10×1.5 |
88 |
42 |
97 |
652 |
|||||||||||||||||||||||||
|
6 |
20 |
30 |
22 |
44 |
5 |
95 |
105 |
200 |
22.5 |
5 |
M10×1.5 |
108 |
50.5 |
119 |
924 |
|||||||||||||||||||||||||
|
ISO 15407阀安装面尺寸/mm |
||||||||||||||||||||||||||||||||||||||||
|
规格 |
A |
B |
D |
F |
G* |
G1 |
G2 |
L1 min |
LT min |
P |
T |
U |
V |
W min |
X |
X1 |
Y |
气孔面积 /mm2 |
||||||||||||||||||||||
|
18 |
3.5 |
7 |
6.25 |
3 |
2 |
8 |
6 |
25 |
60 |
5 |
M3 |
f 3.2 |
4 |
18 |
6.5 |
6.25 |
19 |
20 |
||||||||||||||||||||||
|
20 |
5.5 |
9.5 |
8.5 |
5 |
3 |
13 |
9 |
33 |
66 |
8.5 |
M4 |
f 3.2 |
4 |
20 |
8 |
8.5 |
27 |
43 |
||||||||||||||||||||||






























